Запчасти John Deere 0 2 - MAIN FRAME AND COUNTERWEIGHT 1740 - FRAME, CHASSIS OR SUPPORTING STRUCTURE 17

Схема запчастей John Deere 0 - 2 - MAIN FRAME AND COUNTERWEIGHT 1740 - FRAME, CHASSIS OR SUPPORTING STRUCTURE 17
FIT
1:1
100%

Артикул

Название

Примечание

Количество

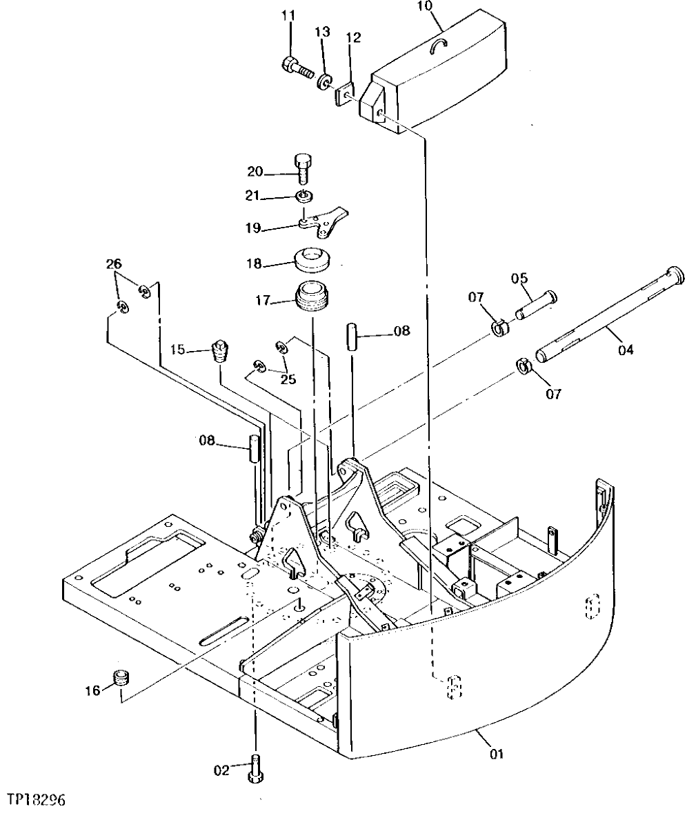
1

MAIN FRAME

( TH106402 NO LONGER AVAILABLE)

1шт.

2

J931895

BOLT

(SUB FOR TH105690)

22шт.

4

3025513

PIN

(SUB FOR TH105903)

1шт.

5

3031721

PIN

(SUB FOR TH105923)

1шт.

7

4065688

RETAINER

(SUB FOR TH100624)

2шт.

8

4065689

PIN FASTENER

(SUB FOR TH100625)

2шт.

10

COUNTERWEIGHT

( TH106403 NO LONGER AVAILABLE)

1шт.

11

J931804

BOLT

(SUB FOR TH100889)

2шт.

12

4140776

STRAP

(SUB FOR TH106404)

2шт.

13

12H236

LOCK WASHER

3/4"

2шт.

15

J75214

FITTING PLUG

(SUB FOR TH105686)

2шт.

16

4509404

GROMMET

(SUB FOR TH100553)

2шт.

17

4140772

SLEEVE

(SUB FOR TH106048)

1шт.

18

4140773

COVER

(SUB FOR TH106049)

1шт.

19

4140775

STOP

(SUB FOR TH106050)

1шт.

20

19M7402

CAP SCREW

M10 X 25

4шт.

21

12M7066

LOCK WASHER

10 MM, (SUB FOR TH100417)

4шт.

25

4179807

WASHER

(SUB FOR TH108045)

ARшт.

26

4180196

WASHER

(SUB FOR TH108046)

ARшт.

Выбрано товаров: 19