Качественные детали и логистика
Оригинальные и аналоговые запчасти с доставкой по России, Казахстану и Беларуси
©2022 PartSell ООО "Система" ИНН 2463123282 ОГРН 1212400004838
Центральный офис: г. Красноярск, Академика Киренского, д.87, пом.4
Телефон: 8 (800) 777-65-74 Email: zakaz@partsell.ru
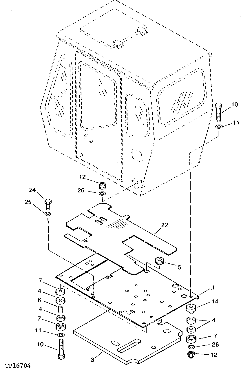
20 - CAB GROUP
№
Артикул
Название
Примечание
Количество
1
7015317
PLATE
(SUB FOR TH106496)
1шт.
3
3031129
INSULATOR
(SUB FOR TH106497)
4
4149808
BUSHING
(SUB FOR TH106498)
8шт.
5
4509404
GROMMET
(SUB FOR TH100553)
2шт.
6
4149807
SPACER
(SUB FOR TH106499)
3шт.
7
4053316
RETAINER
(SUB FOR TH106500)
7шт.
10
4140961
BOLT
(SUB FOR TH106501)
4шт.
11
4114405
WASHER
(SUB FOR TH101105)
12
14M7328
LOCK NUT
14
9718776
STOP
(SUB FOR TH106502)
22
2019535
MAT
(SUB FOR TH106503)
24
19M7402
CAP SCREW
M10 X 25
5шт.
25
12M7066
LOCK WASHER
10 MM, (SUB FOR TH100417)
26
Выбрано товаров: 0