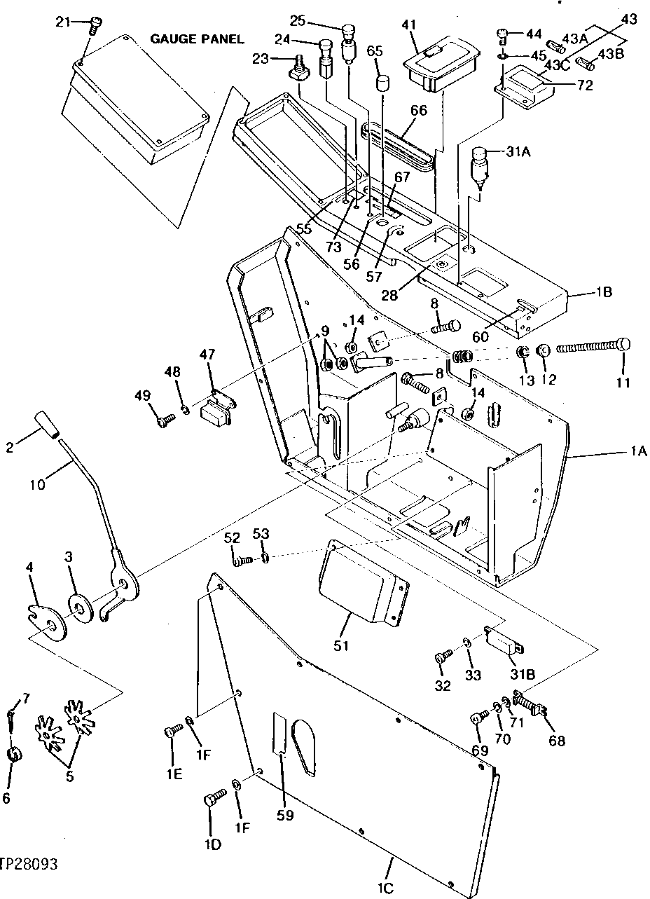
Запчасти John Deere 0 22 - RIGHT-HAND CONSOLE 1810 - OPERATORS STATION 18

Схема запчастей John Deere 0 - 22 - RIGHT-HAND CONSOLE 1810 - OPERATORS STATION 18
FIT
1:1
100%

Артикул

Название

Примечание

Количество

1A

6007368

STAND

(SUB FOR TH106173)

1шт.

1B

6007913

CONSOLE

(SUB FOR TH106174)

1шт.

1C

2019477

COVER

(SUB FOR TH105875)

1шт.

1D

19M7300

CAP SCREW

M6 X 10

10шт.

1E

TH106063

SCREW

2шт.

1F

24M7250

WASHER

6.400 X 17 X 3 MM, (SUB FOR TH100560)

12шт.

2

4162336

GRIP

(SUB FOR TH100561)

1шт.

3

428770

WASHER

(SUB FOR TH100562)

1шт.

4

4053155

PLATE

(SUB FOR TH100563)

1шт.

5

4502974

WASHER

(SUB FOR TH100564)

2шт.

6

M631619

NUT

(SUB FOR TH100565)

1шт.

7

11M7087

COTTER PIN

4 X 40 MM, (SUB FOR TH100566) (SUB FOR 11M7023)

1шт.

8

TH105692

BOLT

ENGINE STOP

2шт.

9

14M7274

NUT

M10

2шт.

10

8022059

LEVER

(SUB FOR AT82715)

1шт.

11

M261004

BOLT

(SUB FOR TH100568) THROTTLE STOP

1шт.

12

4166599

HOLDER

(SUB FOR TH106087)

1шт.

13

4167535

SPRING

(SUB FOR TH106088)

1шт.

14

14M7274

NUT

M10

2шт.

21

21M7402

SCREW

M6 X 20, (SUB FOR TH100573)

4шт.

23

4266984

SWITCH

(SUB FOR TH100574) BUZZER STOP

1шт.

24

4110106

SWITCH

(SUB FOR TH100575) LIGHT

1шт.

25

4009556

SWITCH

(SUB FOR TH100576) WIPER

1шт.

28

4121153

LABEL

(SUB FOR TH100577) WINDSHIELD WIPER

1шт.

31A

AR60937

ELECTRICAL LIGHTER

CIGAR (12 VOLT)

1шт.

AT78633

HOUSING

(12 VOLT)

1шт.

4357862

ELECTRICAL LIGHTER

(SUB FOR AT190190) (24 VOLT)

1шт.

31B

AU42809

RESISTOR

(12 VOLT)

1шт.

AT78634

WIRING LEAD

(12 VOLT)

1шт.

32

21M7394

SCREW

M3 X 10

2шт.

33

12H233

LOCK WASHER

3.175 MM, (SUB FOR TH100580) (SUB FOR 12M7048)

2шт.

41

4110102

ASHTRAY

(SUB FOR TH105998)

1шт.

43

4123095

FUSE BOX

(SUB FOR TH100582)

1шт.

43A

AH84167

FUSE

(SUB FOR TH104048)

1шт.

43B

AT39227

FUSE

(SUB FOR TH104047)

7шт.

43C

4202492

COVER

(SUB FOR TH110107)

1шт.

44

21M7246

SCREW

M6 X 16, (SUB FOR TH100583)

2шт.

45

24M7054

WASHER

6.400 X 12 X 1.600 MM, (SUB FOR TH100584)

2шт.

47

4505392

RELAY

(SUB FOR TH100585)

1шт.

48

21M7288

SCREW

M6 X 10, (SUB FOR TH100547)

2шт.

49

12M7006

LOCK WASHER

6 MM

2шт.

51

4129244

MICROPROCESSOR

(SUB FOR TH100592)

1шт.

52

21M7288

SCREW

M6 X 10, (SUB FOR TH100547)

4шт.

53

12M7006

LOCK WASHER

6 MM

4шт.

55

4192738

LABEL

(SUB FOR TH100593)

1шт.

56

4158722

SAFETY SIGN

(SUB FOR TH101585)

1шт.

57

4156660

LABEL

(SUB FOR TH101586)

1шт.

59

4147525

LABEL

(SUB FOR TH100597)

1шт.

60

4146723

LABEL

(SUB FOR TH101412)

1шт.

65

4155755

SWITCH

(SUB FOR TH101582) START AID

1шт.

66

4109825

ISOLATOR

(SUB FOR T81280)

1шт.

67

4146722

LABEL

(SUB FOR TH100596)

1шт.

68

4155754

RESISTOR

(SUB FOR TH101583)

1шт.

69

21M7394

SCREW

(SUB FOR TH101584)

2шт.

70

12H233

LOCK WASHER

3.175 MM, (SUB FOR TH100580) (SUB FOR 12M7048)

2шт.

71

24M7029

SHIM

0.500 MM, (SUB FOR TH100611)

2шт.

72

4173814

LABEL

(SUB FOR TH103454)

1шт.

73

4199091

LABEL

(SUB FOR TH107035)

1шт.

Выбрано товаров: 58