Запчасти John Deere 0 2 - ENGINE COMPARTMENT COVERS AND HANDRAILS 1910 - SHEET METAL AND STYLING 19

Схема запчастей John Deere 0 - 2 - ENGINE COMPARTMENT COVERS AND HANDRAILS 1910 - SHEET METAL AND STYLING 19
FIT
1:1
100%

Артикул

Название

Примечание

Количество

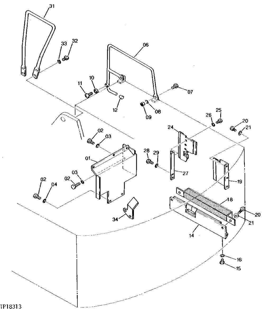
1

7017150

COVER

(SUB FOR TH106203)

1шт.

2

19M8017

CAP SCREW

M12 X 20

7шт.

3

24M7047

WASHER

13 X 24 X 2.500 MM, (SUB FOR TH100967)

5шт.

4

24H1748

WASHER

1/2" X 1-1/4" X 0.105"

2шт.

6

8025702

HANDRAIL

(SUB FOR TH106207)

1шт.

7

19M7403

CAP SCREW

M12 X 35

2шт.

8

12H301

LOCK WASHER

1/2"

2шт.

9

14M7275

NUT

M12

2шт.

10

4121019

CUSHION

(SUB FOR TH106011)

1шт.

11

21M7250

SCREW

M4 X 12

1шт.

12

CAP

( TH101271 NOT AVAILABLE)

1шт.

14

8036128

COVER

(SUB FOR TH106248)

1шт.

15

19M8017

CAP SCREW

M12 X 20, (SUB FOR 19M7872, THIS APPLICATION)

5шт.

16

24M7047

WASHER

13 X 24 X 2.500 MM, (SUB FOR TH100967)

5шт.

18

9726446

COVER

(SUB FOR TH106657)

1шт.

19

9725754

COVER

(SUB FOR TH106294)

1шт.

20

19M8017

CAP SCREW

M12 X 20

5шт.

21

24M7047

WASHER

13 X 24 X 2.500 MM, (SUB FOR TH100967)

5шт.

24

9725755

COVER

(SUB FOR TH106295)

1шт.

25

19M8017

CAP SCREW

M12 X 20

3шт.

26

24M7047

WASHER

13 X 24 X 2.500 MM, (SUB FOR TH100967)

3шт.

27

9725756

ANGLE

(SUB FOR TH106296)

1шт.

28

19M7872

CAP SCREW

M12 X 25

2шт.

29

24M7047

WASHER

13 X 24 X 2.500 MM, (SUB FOR TH100967)

2шт.

31

8036039

HANDRAIL

(SUB FOR TH106236)

1шт.

32

19M7872

CAP SCREW

M12 X 25, (SUB FOR 19M8011, THIS APPLICATION)

4шт.

33

12H301

LOCK WASHER

1/2"

4шт.

34

3037148

COVER

(SUB FOR TH107991) (WITHOUT BLADE)

1шт.

3037148

COVER

(SUB FOR TH107991) (WITH BLADE)

1шт.

Выбрано товаров: 29