Запчасти John Deere 0 2 - HYDRAULIC RESERVOIR 2160 - MAIN HYDRAULIC SYSTEM 21

Схема запчастей John Deere 0 - 2 - HYDRAULIC RESERVOIR 2160 - MAIN HYDRAULIC SYSTEM 21
FIT
1:1
100%

Артикул

Название

Примечание

Количество

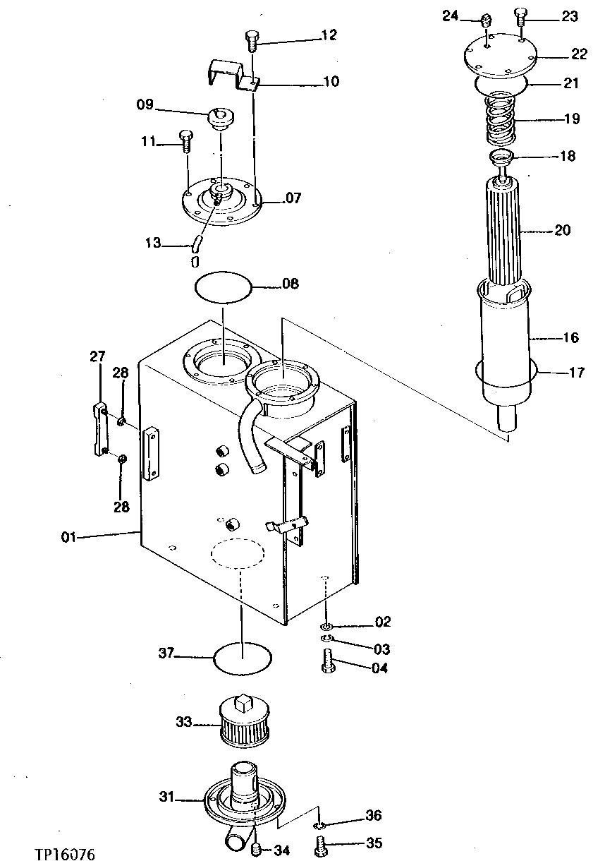
1

6007034

HYDRAULIC RESERVOIR

(SUB FOR TH106172)

1шт.

2

24M7053

WASHER

17 X 30 X 3 MM, (SUB FOR TH100520)

4шт.

3

12H294

LOCK WASHER

5/8"

4шт.

4

19M8029

CAP SCREW

M16 X 30, (SUB FOR TH105689)

4шт.

7

8024804

COVER

(SUB FOR TH100668)

1шт.

8

TH100679

O-RING

1шт.

9

4294701

CAP

(SUB FOR TH100671) (SUB FOR AT155393)

1шт.

10

9716639

STOP

(SUB FOR TH100672)

1шт.

11

19M8784

SCREW

M10 X 20, (SUB FOR TH100670, 19M8356)

5шт.

12

J241032

CAP SCREW

(SUB FOR TH100669 OR M111032)

1шт.

13

HOSE

6 MM (0.25 IN.) OD. VINYL

1шт.

16

8023221

CASE

(SUB FOR TH100660)

1шт.

17

A810150

O-RING

(SUB FOR TH100662)

1шт.

18

4094438

FLOW CONTROL HYD. VALVE

(SUB FOR TH100663)

1шт.

19

4094439

SPRING

(SUB FOR TH100664)

1шт.

20

AT308568

FILTER ELEMENT

(SUB FOR TH100661) (SUB FOR TH111011) (SUB FOR 4225846) (ALSO ORDER A810165)

1шт.

21

A810165

O-RING

(SUB FOR TH100665)

1шт.

22

4121025

COVER

(SUB FOR TH100666)

1шт.

23

19M7938

CAP SCREW

M10 X 20

6шт.

24

94-2023

FITTING PLUG

(SUB FOR TH100667)

1шт.

27

8016441

LEVEL GAUGE

(SUB FOR TH100674)

1шт.

28

449558

WASHER

(SUB FOR TH100675)

4шт.

31

8031819

LINE

(SUB FOR TH106215)

1шт.

33

4190987

FILTER ELEMENT

(SUB FOR TH100678) (SUB FOR AT128326)

1шт.

34

94-2011

FITTING PLUG

(SUB FOR TH100434)

1шт.

35

19M8784

SCREW

M10 X 20, (SUB FOR TH100670, 19M8356)

6шт.

36

12M7066

LOCK WASHER

10 MM, (SUB FOR TH100417)

6шт.

37

TH100679

O-RING

1шт.

Выбрано товаров: 28