Запчасти John Deere 0 16 - SOLENOID VALVE 2160 - MAIN HYDRAULIC SYSTEM 21

Схема запчастей John Deere 0 - 16 - SOLENOID VALVE 2160 - MAIN HYDRAULIC SYSTEM 21
FIT
1:1
100%

Артикул

Название

Примечание

Количество

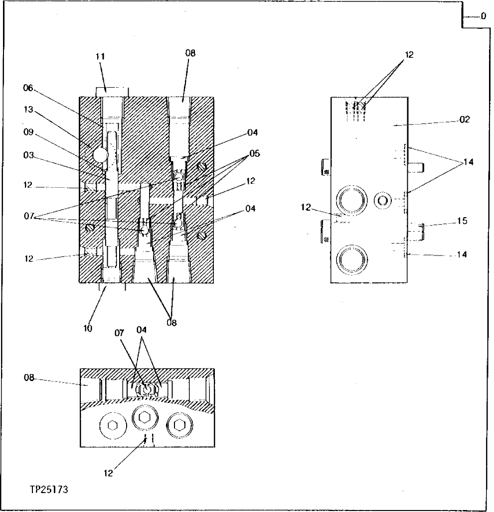
1

4187887

VALVE

(SUB FOR TH106122)

1шт.

2

HOUSING

(SUB TH106122)

1шт.

3

SPOOL

(SUB TH106122)

1шт.

4

PLUG

(SUB TH106122)

5шт.

5

GUIDE

(SUB TH106122)

3шт.

6

0294801

SPRING

(SUB FOR TH105858)

1шт.

7

BALL

(SUB TH106122)

4шт.

8

94-2011

FITTING PLUG

(SUB FOR TH104746) (SUB FOR TH100434)

4шт.

9

0254112

WASHER

(SUB FOR TH105806)

1шт.

10

0214912

DRAIN PLUG

(SUB FOR TH101424)

1шт.

11

AT119550

FITTING PLUG

(SUB FOR TH101420)

1шт.

12

PLUG

(SUB TH106122)

7шт.

13

CH10568

PACKING

(SUB FOR TH106300)

1шт.

14

4506408

O-RING

(SUB FOR TH101490)

3шт.

15

0215310

SCREW

(SUB FOR TH101503)

3шт.

Выбрано товаров: 15