Запчасти John Deere 0 6 - OFFSET BOOM 3340 - EXCAVATOR 33

Схема запчастей John Deere 0 - 6 - OFFSET BOOM 3340 - EXCAVATOR 33
FIT
1:1
100%

Артикул

Название

Примечание

Количество

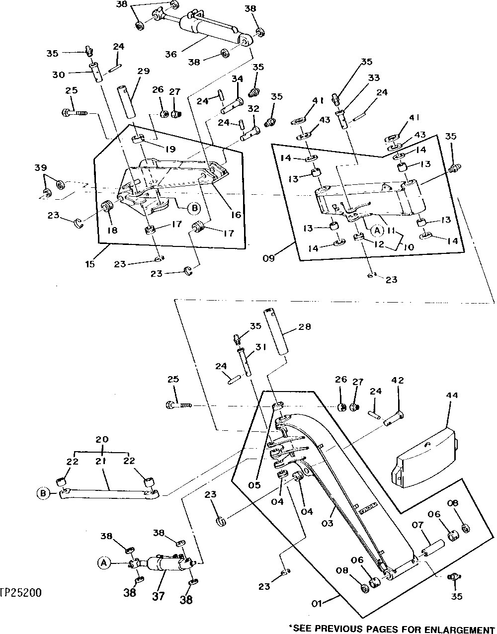
1

9055503

MAIN BOOM

(SUB FOR TH106717)

1шт.

3

MAIN BOOM

(SUB TH106717)

1шт.

4

4138828

STOP

(SUB FOR TH106035)

2шт.

5

TH103198

BUSHING

1шт.

6

4139924

BUSHING

(SUB FOR TH106039)

2шт.

7

4139925

SPACER

(SUB FOR TH106040)

1шт.

8

TH105979

SEAL

2шт.

9

9055504

MAIN BOOM

(SUB FOR TH106720)

1шт.

11

MAIN BOOM

(SUB TH106720)

1шт.

12

4138828

STOP

(SUB FOR TH106035)

1шт.

13

3039752

BUSHING

(SUB FOR TH106723) (SUB FOR TH109794)

4шт.

14

TH102411

SEAL

4шт.

15

9052125

HOUSING

(SUB FOR TH106724)

1шт.

16

MAIN BOOM

(SUB TH106724)

1шт.

17

4138828

STOP

(SUB FOR TH106035)

2шт.

18

4138827

STOP

(SUB FOR TH106034)

1шт.

19

TH103198

BUSHING

1шт.

20

9055525

TIE BAR

(SUB FOR TH106726)

1шт.

21

MAIN BOOM

(SUB TH106726)

1шт.

22

4128479

BUSHING

(SUB FOR TH106015)

2шт.

23

4065688

RETAINER

(SUB FOR TH100624)

7шт.

24

4065689

PIN FASTENER

(SUB FOR TH100625)

7шт.

25

19M8026

CAP SCREW

M20 X 170, (SUB FOR TH103205)

2шт.

26

14M7277

NUT

M20

2шт.

27

M660020

NUT

(SUB FOR TH106728)

2шт.

28

3027989

BUSHING

(SUB FOR TH106729)

1шт.

29

3027988

BUSHING

(SUB FOR TH106730)

1шт.

30

3027985

PIN FASTENER

(SUB FOR TH106731)

1шт.

31

3027987

PIN FASTENER

(SUB FOR TH106732)

1шт.

32

3027986

PIN FASTENER

(SUB FOR TH106733)

1шт.

33

3028978

PIN FASTENER

(SUB FOR TH106734)

1шт.

34

3037344

PIN FASTENER

(SUB FOR TH105906) (SUB FOR TH110416)

1шт.

35

TH100074

LUBRICATION FITTING

8шт.

36

3033738

HYDRAULIC CYLINDER

(SUB FOR TH106735)

1шт.

37

3033869

HYDRAULIC CYLINDER

(SUB FOR TH106736)

1шт.

38

4117954

SEAL

(SUB FOR TH106006)

8шт.

39

TH105979

SEAL

2шт.

41

4121715

WASHER

(SUB FOR TH106737)

2шт.

42

3055536

PIN FASTENER

(SUB FOR TH105904) (SUB FOR AT200379)

1шт.

43

4114255

WASHER

(SUB FOR TH106738)

4шт.

44

TH106739

COUNTERWEIGHT

(CONVENIENCE ASSEMBLY)

1шт.

Выбрано товаров: 41