Запчасти John Deere 0 8 - STANDARD ARM 3340 - EXCAVATOR 33

Схема запчастей John Deere 0 - 8 - STANDARD ARM 3340 - EXCAVATOR 33
FIT
1:1
100%

Артикул

Название

Примечание

Количество

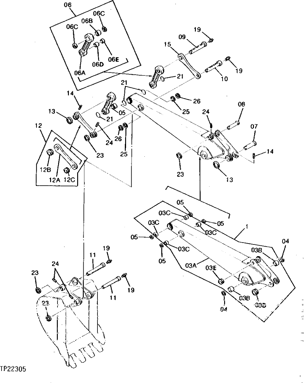
1

ARM

( AT161669, TH110182, OR TH105510 NO LONGER AVAILABLE)

1шт.

3A

7024177

ARM

(SUB FOR AT200631)

1шт.

3B

LINK

(USE WITH TH105510) ( TH106016 NO LONGER AVAILABLE)

2шт.

4197842

BUSHING

(USE WITH TH110182 OR AT161669) (SUB FOR TH110558)

2шт.

3C

4128481

BUSHING

(USE WITH TH105510) (SUB FOR TH106017) (HAS A GREASE GROOVE) (USE WITH 308 MM BUCKET PIN)

4шт.

4197841

BUSHING

(USE WITH TH110182) (SUB FOR TH110557) (USE WITH 331 MM BUCKET PIN)

4шт.

4273542

BUSHING

(USE WITH AT161669) (SUB FOR AT200457)

4шт.

3D

4138828

STOP

(USE WITH TH105510) (SUB FOR TH106035)

1шт.

4197031

BUSHING

(USE WITH TH110182 OR AT161669) (SUB FOR TH110546)

1шт.

3E

4139434

STOP

(USE WITH TH105510) (SUB FOR TH106037)

1шт.

4197029

BUSHING

(USE WITH TH110182 OR AT161669) (SUB FOR TH110545)

1шт.

4

TH105979

SEAL

(USE WITH TH105510)

2шт.

TH105979

SEAL

(USE WITH TH110182)

2шт.

5

4094088

SEAL

(USE WITH TH105510) (SUB FOR TH105982)

4шт.

9730884

SPACER

(USE WITH TH105510) (SUB FOR TH105934)

1шт.

4094088

SEAL

(USE WITH TH110182) (SUB FOR TH105982)

4шт.

6

9047722

LINK

(SUB FOR TH106256)

2шт.

6A

LINK

(SUB TH106256)

1шт.

6B

4128479

BUSHING

(SUB FOR TH106015)

1шт.

6C

4094087

SEAL

(SUB FOR TH105980)

2шт.

6D

4128481

BUSHING

(SUB FOR TH106017)

1шт.

6E

4094088

SEAL

(SUB FOR TH105982)

1шт.

7

3055930

PIN FASTENER

(SUB FOR TH105907) (SUB FOR AT200382)

1шт.

8

3025520

PIN

(SUB FOR TH105908)

1шт.

9

3025522

PIN

(SUB FOR TH105910)

1шт.

10

3025521

PIN

(SUB FOR TH105909)

1шт.

11

TH105920

PIN

2шт.

12

TH106216

LINK

1шт.

12A

3015897

LINK

(SUB FOR TH105886)

1шт.

12B

4138828

STOP

(SUB FOR TH106035)

1шт.

12C

4139434

STOP

(SUB FOR TH106037)

1шт.

13

4065688

RETAINER

(SUB FOR TH100624)

2шт.

14

4065689

PIN FASTENER

(SUB FOR TH100625)

2шт.

15

3015897

LINK

(SUB FOR TH105886)

1шт.

19

TH100074

LUBRICATION FITTING

4шт.

21

4237801

O-RING

(SUB FOR TH105978) (SUB FOR TH112227)

4шт.

23

4141000

RING

(SUB FOR TH106052)

4шт.

24

4141001

PIN

(SUB FOR TH106053)

4шт.

25

4042136

WASHER

(SUB FOR TH105941)

ARшт.

26

4054502

WASHER

(SUB FOR TH105949)

ARшт.

Выбрано товаров: 40