Запчасти John Deere 0 4 - TRACK-LINK 130 - TRACKS 1

Схема запчастей John Deere 0 - 4 - TRACK-LINK 130 - TRACKS 1
FIT
1:1
100%

Артикул

Название

Примечание

Количество

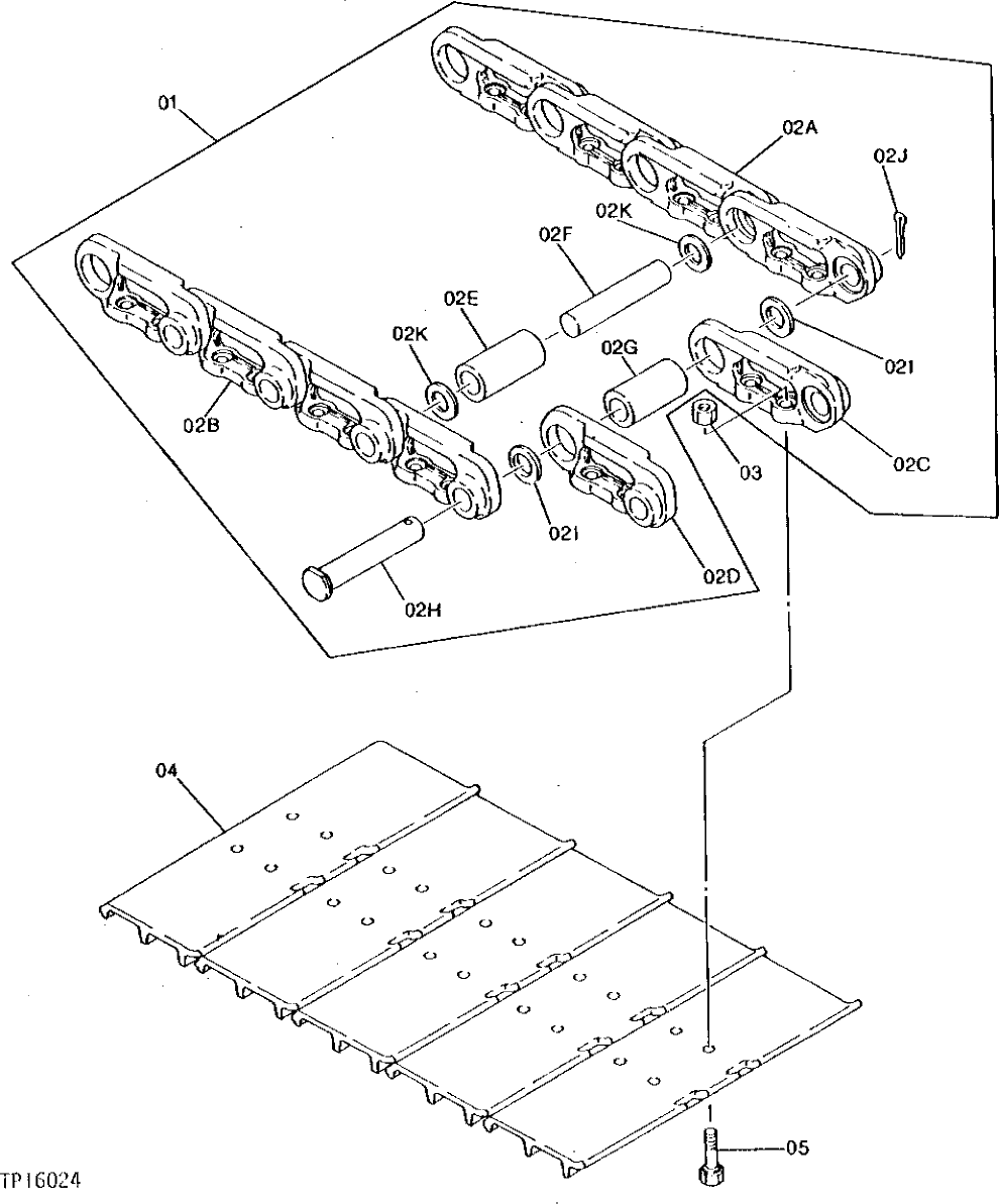
1

TRACK CHAIN W/O SHOES

(SUB AT134372) ( TH105984 OR TH110964 NO LONGER AVAILABLE)

2шт.

2A

TRACK LINK

( TH105914 OR TH110357 NO LONGER AVAILABLE) (SUB 1015394, ALONG WITH 1015395, (2) 4283930 AND 4262582)

36шт.

2B

TRACK LINK

( TH105915 OR TH110358 NO LONGER AVAILABLE) (SUB 1015395, ALONG WITH(2) 4283930 AND 4262582)

36шт.

2C

TRACK LINK

(SUB AT134372) (RIGHT) ( TH105917 NO LONGER AVAILABLE)

1шт.

2D

TRACK LINK

(SUB AT134372) (LEFT) ( TH105916 NO LONGER AVAILABLE)

1шт.

2E

4262582

BUSHING

(SUB FOR AT134379) (SUB FOR TH106083 , ALONG WITH (2) 4283930 )

36шт.

2F

4156583

PIN

(SUB FOR TH106074)

36шт.

2G

4262583

BUSHING

(SUB FOR AT134380) (SUB FOR 4156582, ALONG WITH (2) 4262585)

1шт.

2H

PIN

(SUB AT134372) ( 4156580 NO LONGER AVAILABLE)

1шт.

2I

4262585

BUSHING

(SUB FOR AT134377) (SUB FOR TH105985, ALONG WITH 4262583)

2шт.

2J

COTTER PIN

(SUB 9096710) ( TH105986 NO LONGER AVAILABLE)

1шт.

2K

SEAL

( TH106069 OR 4195134 NO LONGER AVAILABLE) (SUB 4262582, ALONG WITH 4283930)

72шт.

3

4114673

NUT

(SUB FOR TH106002) (USE WITH AT134381 BOLT)

148шт.

4262587

NUT

(SUB FOR AT134382) (USE WITH AT134381 BOLT)

148шт.

4

SHOE

(SUB AT170012) 450 MM LONG ( TH106013 OR TH110385 NO LONGER AVAILABLE)

37шт.

5

AT134381

BOLT

(SUB FOR TH106058 OR 4159033, ALONG WITH 4262587)

148шт.

Выбрано товаров: 0