Запчасти John Deere 0 2 - PROPEL BRAKE VALVE 260 - AXLES AND SUSPENSION SYSTEMS 2

Схема запчастей John Deere 0 - 2 - PROPEL BRAKE VALVE 260 - AXLES AND SUSPENSION SYSTEMS 2
FIT
1:1
100%

Артикул

Название

Примечание

Количество

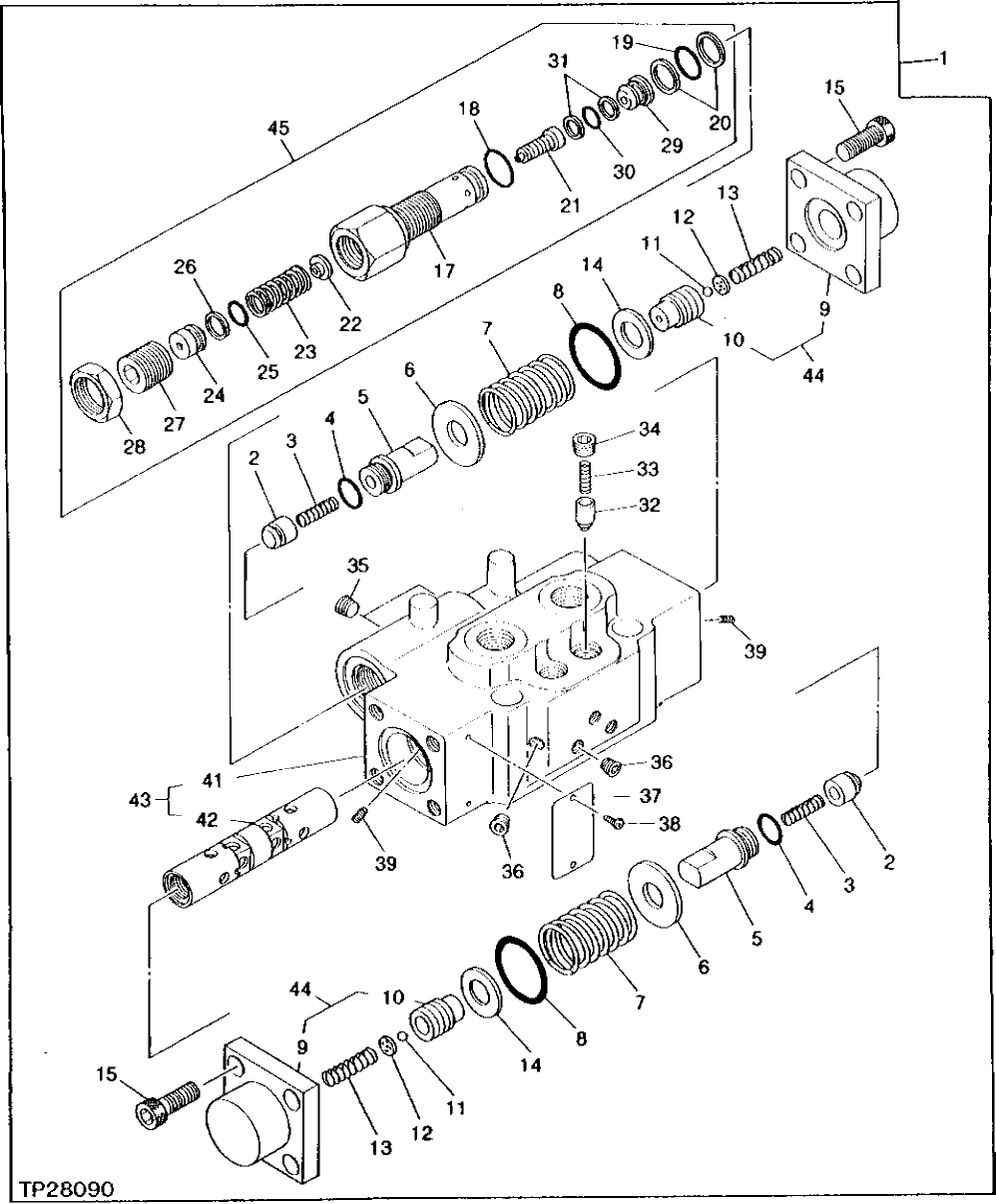
1

9068658

VALVE

(SUB FOR TH106267)

1шт.

2

4092117

POPPET

(SUB FOR TH105963)

2шт.

3

4092113

SPRING

(SUB FOR TH105962)

2шт.

4

CH11570

O-RING

(SUB FOR TH100049)

2шт.

5

4117394

PIPE PLUG

(SUB FOR TH106003)

2шт.

6

4117397

WASHER

(SUB FOR TH106005)

2шт.

7

4096123

SPRING

(SUB FOR TH105988)

2шт.

8

AT264324

O-RING

(SUB FOR TH100044) (USE IF AVAILABLE)

2шт.

AT264324

O-RING

(SUB FOR T32587, TH100044)

2шт.

9

COVER

(SUB TH106258)

1шт.

10

PISTON

(SUB TH106258)

1шт.

11

4066744

BALL

(SUB FOR TH105951)

2шт.

12

4039965

SPACER

(SUB FOR TH105937)

2шт.

13

4061580

SPRING

(SUB FOR TH105950)

2шт.

14

4117396

WASHER

(SUB FOR TH106004)

2шт.

15

19M8337

SCREW

M10 X 30, (SUB FOR TH105473)

8шт.

17

RELIEF VALVE

( TH106847 NO LONGER AVAILABLE) (SUB TH106268)

1шт.

18

985099

O-RING

(SUB FOR TH106299) (SUB FOR TH101479)

1шт.

19

4163873

O-RING

(SUB FOR TH106081, AT153904 OR 0408411)

1шт.

20

4163874

BACK-UP RING

(SUB FOR TH106082)

2шт.

21

POPPET

( TH106064 NO LONGER AVAILABLE)

1шт.

22

SPACER

( TH106065 NO LONGER AVAILABLE)

1шт.

23

COMPRESSION SPRING

( TH106068 NO LONGER AVAILABLE)

1шт.

24

PLUG

( TH106066 NO LONGER AVAILABLE)

1шт.

25

CH10568

PACKING

(SUB FOR TH102668)

1шт.

26

4027963

BACK-UP RING

(SUB FOR TH103579)

1шт.

27

SCREW

( TH106067 NO LONGER AVAILABLE)

1шт.

28

NUT

( TH106070 NO LONGER AVAILABLE)

1шт.

29

SEAT

( TH106086 NO LONGER AVAILABLE)

1шт.

30

CH17167

O-RING

(SUB FOR TH100500)

1шт.

31

4036979

RING

(SUB FOR TH105933)

2шт.

32

4074069

POPPET

(SUB FOR TH105954)

2шт.

33

4074956

SPRING

(SUB FOR TH105955)

2шт.

34

94-2011

FITTING PLUG

(SUB FOR TH100434)

2шт.

35

94-2010

FITTING PLUG

(SUB FOR TH100689)

2шт.

36

15H560

PIPE PLUG

1/16"

5шт.

37

LABEL

( TH105878 NO LONGER AVAILABLE)

1шт.

38

SCREW

( TH105699 NO LONGER AVAILABLE)

2шт.

39

4129231

ORIFICE

(SUB FOR TH106019)

2шт.

41

HOUSING

(SUB TH106230)

1шт.

42

SPOOL

(SUB TH106230)

1шт.

43

8033660

CASE

(SUB FOR TH106230)

1шт.

44

9053212

COVER

(SUB FOR TH106258)

2шт.

45

9063689

RELIEF VALVE

(SUB FOR TH106268)

2шт.

Выбрано товаров: 44