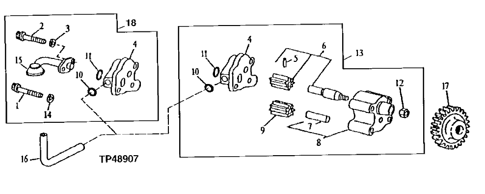
Запчасти John Deere 0 5A - REPLACEMENT ENGINE OIL PUMP 407 - ENGINE 4

Схема запчастей John Deere 0 - 5A - REPLACEMENT ENGINE OIL PUMP 407 - ENGINE 4
FIT
1:1
100%

Артикул

Название

Примечание

Количество

1

R125586

CAP SCREW

(SUB FOR R57059)

1шт.

2

R74552

SCREW

2шт.

3

R74553

WASHER

0.394" X 0.630" X 0.120"

2шт.

4

COVER

(SUB RE55343 OR RE55345 AND R113752)

1шт.

5

34H280

SPRING PIN

3/16" X 7/8", (SUB FOR M3853T, THIS APPLICATION)

1шт.

6

AR62978

PINION

1шт.

7

T20091

DOWEL PIN

1шт.

8

HOUSING

(MARKED R54615)

1шт.

9

R54614

GEAR

(7 TEETH)

1шт.

10

R74354

O-RING

1шт.

11

R61871

O-RING

1шт.

12

14H826

NUT

1/2"

1шт.

13

RE55343

KIT

(OIL PUMP)

1шт.

14

R74553

WASHER

2шт.

15

RE36425

OIL PUMP INTAKE

1шт.

16

R113752

OIL TUBE

1шт.

17

T20298

GEAR

(33TEETH)

1шт.

18

RE55345

KIT

(INTAKE AND COVER)

1шт.

Выбрано товаров: 0