Запчасти John Deere 0 1 - FUEL INJECTION NOZZLE 413 - ENGINE 4

Схема запчастей John Deere 0 - 1 - FUEL INJECTION NOZZLE 413 - ENGINE 4
FIT
1:1
100%

Артикул

Название

Примечание

Количество

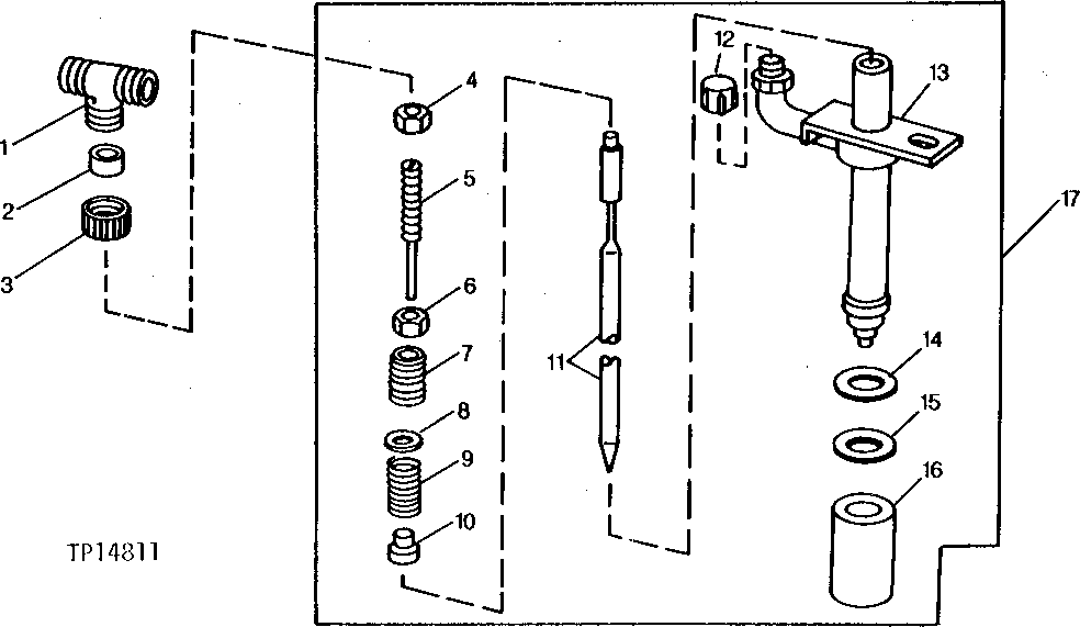
1

R79606

TEE FITTING

1шт.

2

R79605

WASHER

1шт.

3

R79604

TUBE NUT

1шт.

4

NUT

( R47733 NO LONGER AVAILABLE)

1шт.

5

SCREW

( R69443 NO LONGER AVAILABLE)

1шт.

6

NUT

( R46675 NO LONGER AVAILABLE)

1шт.

7

SCREW

( R62984 NO LONGER AVAILABLE)

1шт.

8

SHIM

( R62981 NO LONGER AVAILABLE)

1шт.

9

SPRING

( R69442 NO LONGER AVAILABLE)

1шт.

10

VALVE SEAT

( R62982 NO LONGER AVAILABLE)

1шт.

11

VALVE

(SUB AR89564)

1шт.

12

CAP (HAT)

( T31174 NO LONGER AVAILABLE) (USE FOR SERVICING NOZZLE)

1шт.

13

R67779

CLAMP

1шт.

14

R60746

WASHER

(K)

1шт.

15

R48000

SEAL

(K)

1шт.

16

T24472

CAP

1шт.

17

AR89564

INJECTION NOZZLE

(STANADYNE NO. 27333)

1шт.

SE500822

NOZZLE

(CONTAINS (4) REMANUFACTURED NOZZLES)

1шт.

SE501099

NOZZLE

(SINGLE PACK) (REMANUFACTURED FOR AR89564)

ARшт.

Выбрано товаров: 19