Запчасти John Deere 0 2 - FUEL INJECTION SYSTEM 413 - ENGINE 4

Схема запчастей John Deere 0 - 2 - FUEL INJECTION SYSTEM 413 - ENGINE 4
FIT
1:1
100%

Артикул

Название

Примечание

Количество

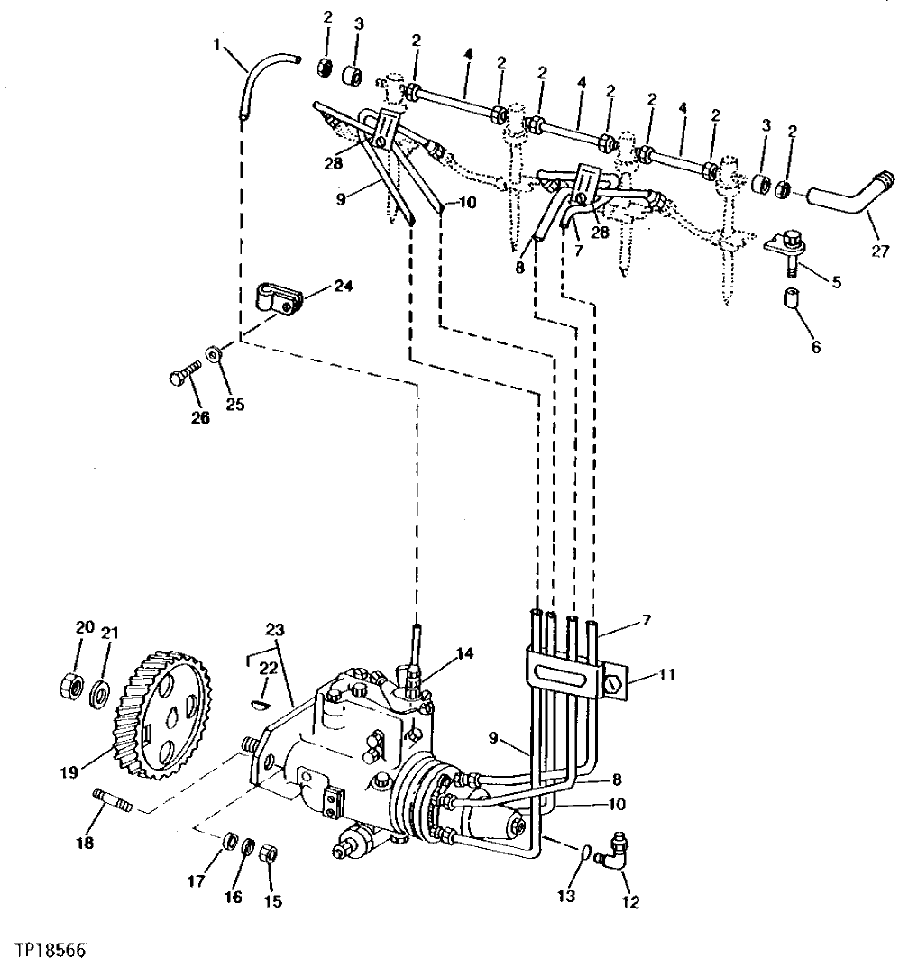
1

AR89847

LINE

1шт.

2

R51937

TUBE NUT

8шт.

3

R51936

SEALING WASHER

8шт.

4

R66090

TUBE

3шт.

5

R34760

CLAMP

4шт.

6

R60745

SPACER

(K)

4шт.

7

RE20215

FUEL LINE

1шт.

8

RE20216

FUEL LINE

1шт.

9

RE20214

FUEL LINE

1шт.

10

RE20213

FUEL LINE

1шт.

11

RE19799

CLAMP

1шт.

12

RE56322

TEE FITTING

(SUB FOR AT32333)

1шт.

13

R26286

O-RING

1шт.

14

R35352

FITTING

1шт.

15

14H785

NUT

5/16"

3шт.

16

12H303

LOCK WASHER

5/16"

3шт.

17

24H1136

WASHER

11/32" X 11/16" X 0.065"

3шт.

18

T23442

STUD

3шт.

19

R84663

GEAR

(48 TEETH)

1шт.

20

R48599

NUT

1шт.

21

R132874

WASHER

(SUB FOR R48600)

1шт.

22

26H10

SHAFT KEY

5/32" X 5/8"

1шт.

23

RE24271

FUEL INJECTION PUMP

(A) (STANADYNE NO. I-DB2435-4550)

1шт.

24

T29527

CLAMP

1шт.

25

24M7096

WASHER

0.413" X 0.709" X 0.063"

1шт.

26

19H2284

CAP SCREW

3/8" X 7/8"

1шт.

27

RE16142

FUEL LINE

1шт.

28

RE19797

CLAMP

2шт.

Выбрано товаров: 28