Запчасти John Deere 0D 2 - CAB ATTACHING HARDWARE 1810 - OPERATORS STATION 18

Схема запчастей John Deere 0D - 2 - CAB ATTACHING HARDWARE 1810 - OPERATORS STATION 18
FIT
1:1
100%

Артикул

Название

Примечание

Количество

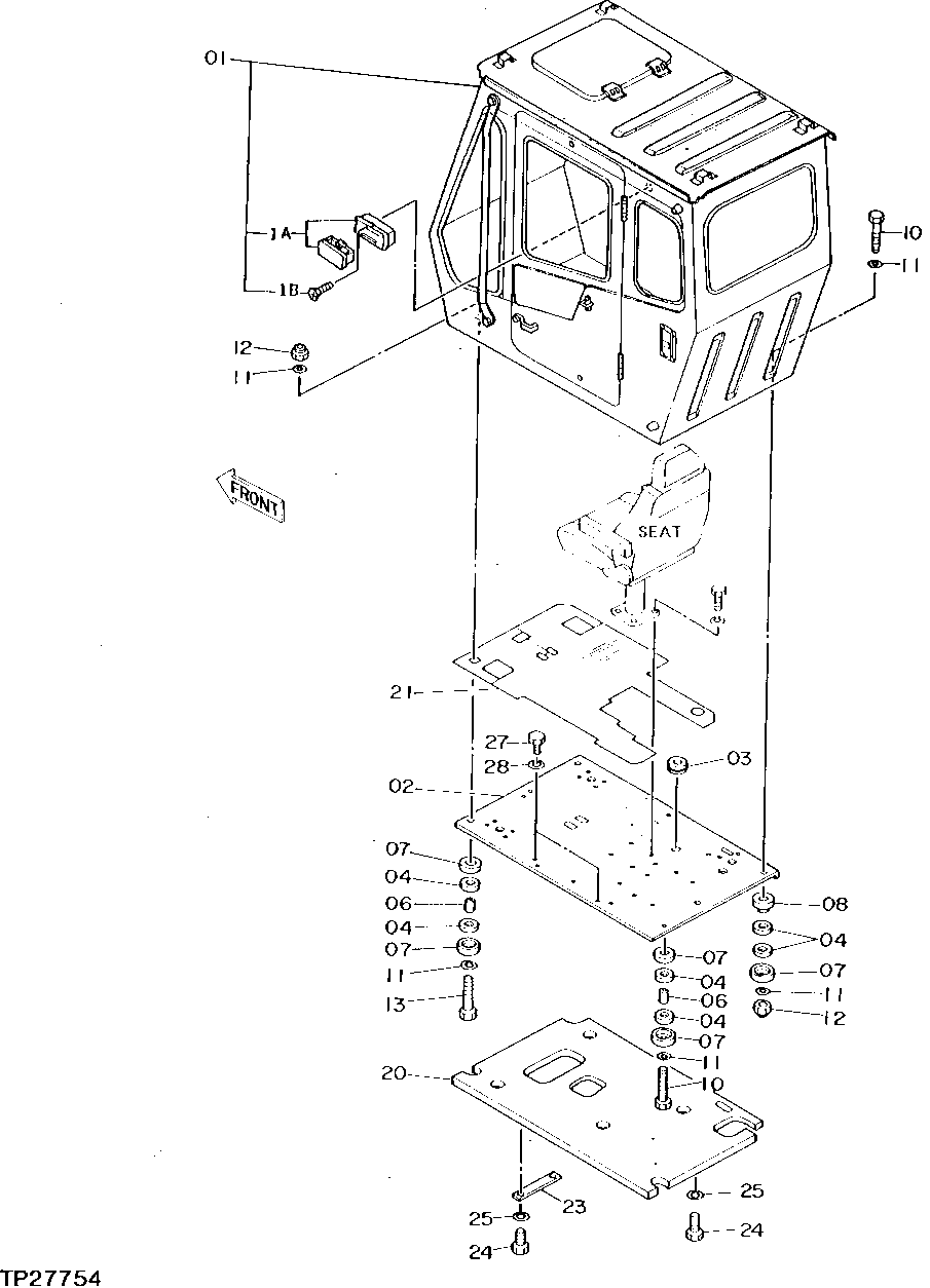
1

4369154

CAB

(SUB FOR TH110615) (SEE FOLLOWING PAGES FOR ADDITIONAL COMPONENTS) (USE IF AVAILABLE)

1шт.

4369154

CAB

(SUB FOR TH110615) (SUB FOR AT130697) (SEE FOLLOWING PAGES FOR ADDITIONAL COMPONENTS)

1шт.

1A

4217867

ASHTRAY

(SUB FOR TH110729)

1шт.

1B

4217868

SCREW

(SUB FOR TH110730)

2шт.

2

6009102

PLATFORM

(SUB FOR TH110801)

1шт.

3

4509404

GROMMET

(SUB FOR TH100553)

3шт.

4

4149808

BUSHING

(SUB FOR TH106498)

8шт.

6

4200140

SPACER

(SUB FOR TH110570)

3шт.

7

4053316

RETAINER

(SUB FOR TH106500)

7шт.

8

9727359

ISOLATOR

(SUB FOR TH110996)

1шт.

10

4140961

BOLT

M16 X 150, (SUB FOR TH106501)

2шт.

11

4114405

WASHER

17 X 32 X 4.500 MM (0.669" X 1.260" X 0.177") (SUB FOR TH101105)

8шт.

12

14M7328

LOCK NUT

M16

4шт.

13

4215647

BOLT

M16 X 140, (SUB FOR TH110648)

2шт.

20

2025726

ISOLATOR

(SUB FOR TH110392)

1шт.

21

2034096

MAT

(SUB FOR TH110393)

1шт.

23

4204646

PLATE

(SUB FOR TH108612)

1шт.

24

19M7402

CAP SCREW

M10 X 25

3шт.

25

12M7066

LOCK WASHER

10 MM

3шт.

27

19M7402

CAP SCREW

M10 X 25

5шт.

28

12M7066

LOCK WASHER

10 MM

5шт.

Выбрано товаров: 21