Запчасти John Deere 0D 14 - CAB COMPONENTS 1810 - OPERATORS STATION 18

Схема запчастей John Deere 0D - 14 - CAB COMPONENTS 1810 - OPERATORS STATION 18
FIT
1:1
100%

Артикул

Название

Примечание

Количество

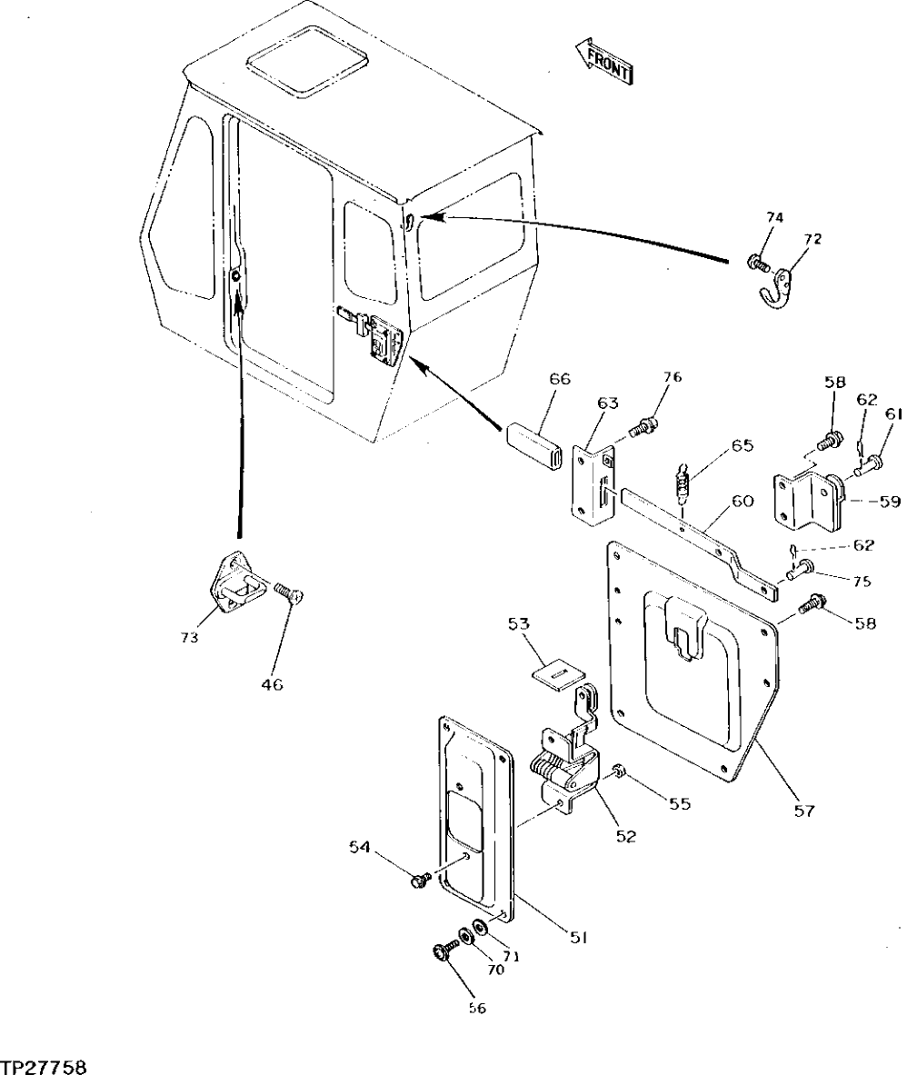
46

21M7297

SCREW

M8 X 16

2шт.

51

4217842

BRACKET

(SUB FOR TH110705)

1шт.

52

LOCK

(SUB TH112258 AND TH112259)

1шт.

4256337

LOCK

(SUB FOR TH112258) (SUB FOR TH110706, ALONG WITH TH112259)

1шт.

53

4217844

COVER

(SUB FOR TH110707)

1шт.

54

SCREW WITH WASHER

(SUB FOR TH110708) ( 4217845 NLA)

2шт.

19M7560

CAP SCREW

M6 X 16

2шт.

24M7006

WASHER

18 X 32 X 3 MM

2шт.

55

14M7303

FLANGE NUT

M6, (SUB FOR TH110459 OR 4141739)

2шт.

56

22M7057

SET SCREW

M8 X 25, (SUB FOR TH106580, ALONG WITH 24M7036 AND 12M7065)

4шт.

57

4217846

COVER

(SUB FOR TH110709)

1шт.

58

4189968

SCREW

(SUB FOR TH107996)

7шт.

59

4217848

BRACKET

(SUB FOR TH110710)

1шт.

60

4217849

LEVER

(SUB FOR TH110711)

1шт.

61

45M7009

PIN FASTENER

6 X 16 MM

1шт.

62

11M7094

COTTER PIN

1.600 X 16 MM

2шт.

63

4217850

BRACKET

(SUB FOR TH110712)

1шт.

65

4141680

SPRING

(SUB FOR TH106587)

1шт.

66

4141682

CAP

(SUB FOR TH106589)

1шт.

70

24M7036

WASHER

9 X 16 X 1.600 MM

4шт.

71

12M7056

LOCK WASHER

8 MM, (SUB FOR 12M7065)

4шт.

72

4141703

HOOK

(SUB FOR TH106615)

1шт.

73

4217839

STRIKER

(SUB FOR TH110702)

1шт.

74

4156339

SCREW

(SUB FOR TH106616)

2шт.

75

45M7009

PIN FASTENER

6 X 16 MM

1шт.

4256355

PIN FASTENER

(SUB FOR TH112259) (USE WITH TH112258 LOCK)

1шт.

76

4189968

SCREW

(SUB FOR TH107996)

2шт.

80

4369154

CAB

(SUB FOR TH110615) (NOT ILLUSTRATED) (CONTAINS ALL ITEMS ON THIS PAGE, ADDITIONAL COMPONENTS LISTED ON PREVIOUS PAGES) (USE IF AVAILABLE)

1шт.

4369154

CAB

(SUB FOR TH110615) (SUB FOR AT130697) (NOT ILLUSTRATED) (CONTAINS ALL ITEMS ON THIS PAGE - ADDITIONAL COMPONENTS LISTED ON PREVIOUS PAGES)

1шт.

Выбрано товаров: 29