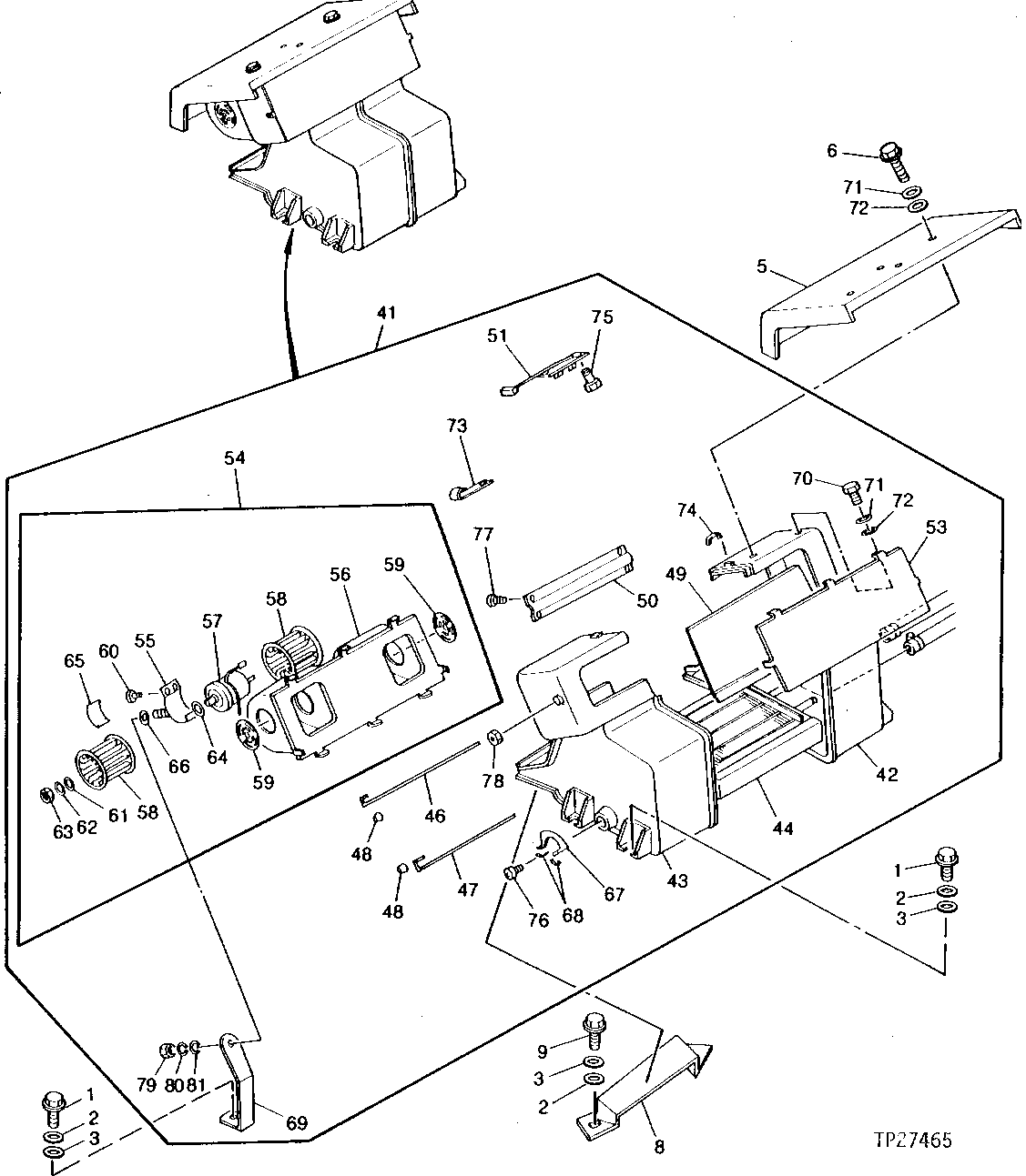
Запчасти John Deere 0D 2 - CAB HEATER 1830 - OPERATORS STATION 18

Схема запчастей John Deere 0D - 2 - CAB HEATER 1830 - OPERATORS STATION 18
FIT
1:1
100%

Артикул

Название

Примечание

Количество

1

19M7938

CAP SCREW

M10 X 20

5шт.

2

12M7066

LOCK WASHER

10 MM

7шт.

3

24M7028

WASHER

10.500 X 20 X 2 MM

7шт.

5

7009413

COVER

(SUB FOR TH101092)

1шт.

6

19M7933

CAP SCREW

M6 X 25

4шт.

8

2016220

BRACKET

(SUB FOR TH101093)

1шт.

9

19M7938

CAP SCREW

M10 X 20

2шт.

41

4214246

HEATER

(SUB FOR TH108794) (SUB FOR TH112226)

1шт.

42

CAGE

(SUB TH112226)

1шт.

43

CAGE

(SUB TH112226)

1шт.

44

CORE

(SUB FOR TH101676) ( TH110251 NO LONGER AVAILABLE)

1шт.

46

SHAFT

( TH101677 NO LONGER AVAILABLE)

1шт.

47

SHAFT

( TH101678 NO LONGER AVAILABLE)

1шт.

48

KNOB

( TH101679 NO LONGER AVAILABLE)

2шт.

49

TORSIONAL DAMPER

( TH101680 NO LONGER AVAILABLE)

1шт.

50

TORSIONAL DAMPER

( TH101681 NO LONGER AVAILABLE)

1шт.

51

0228114

RESISTOR

(SUB FOR TH101682)

1шт.

53

COVER

( TH101683 NO LONGER AVAILABLE)

1шт.

54

CASE

( TH101684 NO LONGER AVAILABLE)

1шт.

55

COVER

( TH101685 NO LONGER AVAILABLE)

1шт.

56

HOUSING

1шт.

57

0228120

BLOWER MOTOR

(SUB FOR TH101687)

1шт.

58

0228121

FAN

(SUB FOR TH101688)

2шт.

59

0228122

GRILLE

(SUB FOR TH101689)

2шт.

60

0311501

SCREW

M6 X 15.500, (SUB FOR TH108795)

2шт.

61

0311502

WASHER

(SUB FOR TH108796)

2шт.

62

0311503

WASHER

(SUB FOR TH108797)

2шт.

63

14M7297

NUT

M5

2шт.

64

R48698

WASHER

(SUB FOR TH108798 OR 0311504)

2шт.

65

CUSHION

( TH108800 NO LONGER AVAILABLE)

1шт.

66

0311506

TORSIONAL DAMPER

(SUB FOR TH108801)

1шт.

67

GUIDE

( TH101690 NO LONGER AVAILABLE)

1шт.

68

0228124

SPRING

(SUB FOR TH101691)

2шт.

69

4080636

BRACKET

(SUB FOR TH101086)

1шт.

70

19M7300

CAP SCREW

M6 X 10

6шт.

71

12M7006

LOCK WASHER

6 MM

10шт.

72

24M7054

WASHER

6.400 X 12 X 1.600 MM, (SUB FOR TH100278)

10шт.

73

0311507

CLIP

(SUB FOR TH108802)

2шт.

74

0311508

CLAMP

(SUB FOR TH108803)

8шт.

75

0311509

SCREW

(SUB FOR TH108804)

2шт.

76

0311510

SCREW

(SUB FOR TH108805)

2шт.

77

0311511

SCREW

M3 X 8, (SUB FOR TH108806)

5шт.

78

0311512

NUT

(SUB FOR TH108807)

1шт.

79

14M7273

NUT

M8

1шт.

80

12M7056

LOCK WASHER

8 MM, (SUB FOR 12M7065)

1шт.

81

24M7055

WASHER

8.400 X 16 X 1.600 MM

1шт.

Выбрано товаров: 46