Запчасти John Deere 0D 4 - HYDRAULIC OIL RESERVOIR 2160 - MAIN HYDRAULIC SYSTEM 21

Схема запчастей John Deere 0D - 4 - HYDRAULIC OIL RESERVOIR 2160 - MAIN HYDRAULIC SYSTEM 21
FIT
1:1
100%

Артикул

Название

Примечание

Количество

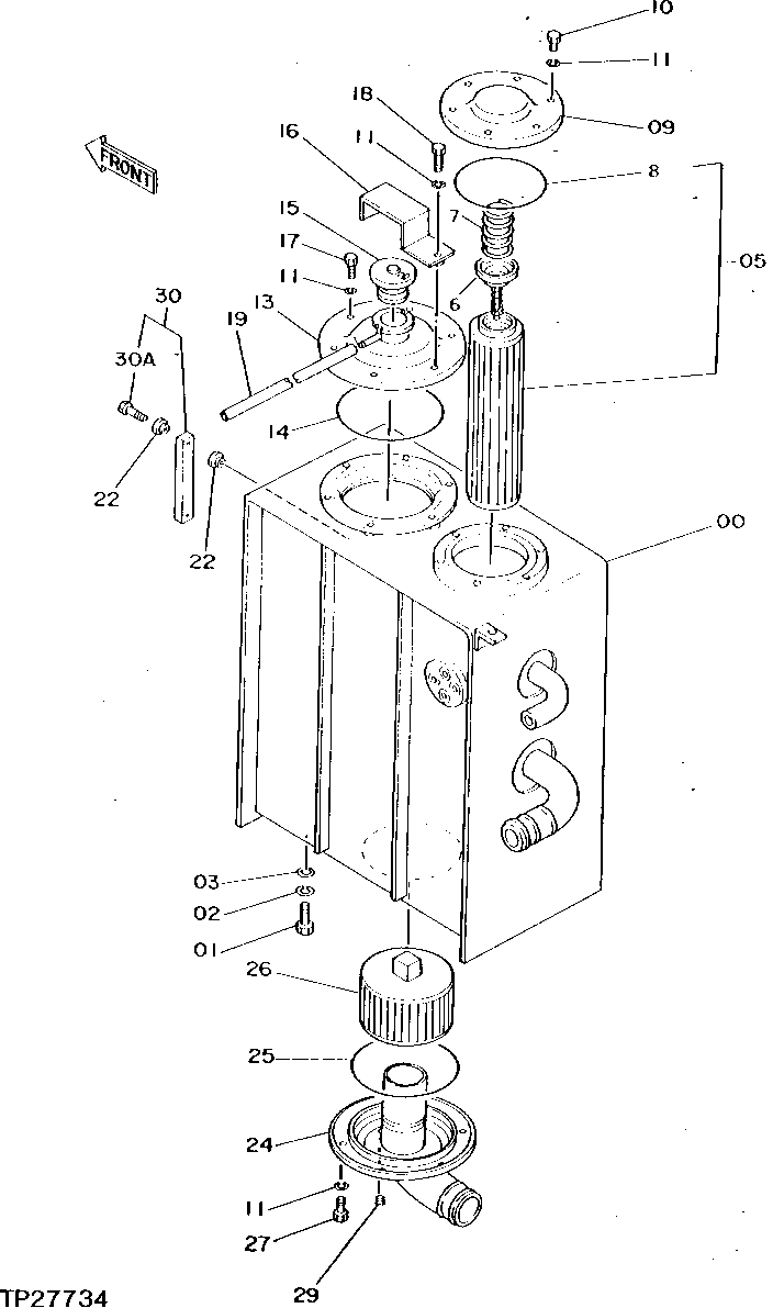
0

6008204

HYDRAULIC RESERVOIR

(SUB FOR TH110790)

1шт.

1

19M8035

CAP SCREW

M16 X 35

4шт.

2

12H294

LOCK WASHER

5/8"

4шт.

3

4114405

WASHER

17 X 32 X 4.500 MM (0.669" X 1.260" X 0.177") (SUB FOR TH101105)

4шт.

5

AT308568

FILTER ELEMENT

(O-RING NOT INCLUDED WITH THIS FILTER) (ALSO ORDER CH17213) (SUB FOR TH100661) (SUB FOR TH111011) (SUB FOR 4225846) (RETURN FILTER)

1шт.

6

4094438

FLOW CONTROL HYD. VALVE

(SUB FOR TH100663) (BYPASS)

1шт.

7

4094439

SPRING

(SUB FOR TH100664)

1шт.

8

CH17213

PACKING

(NOT INCLUDED WITH FILTER - MUST ORDER SEPARATELY)

1шт.

9

4196607

COVER

(SUB FOR TH110543)

1шт.

10

19M8324

CAP SCREW

M10 X 16

6шт.

11

12M7066

LOCK WASHER

10 MM

18шт.

13

8024804

COVER

(SUB FOR TH100668)

1шт.

14

TH100679

O-RING

159.300 X 5.700 MM (6.272" X 0.224")

1шт.

15

4294701

CAP

(SUB FOR TH100671) (SUB FOR AT155393) (WITH PRESSURE RELEASE BUTTON)

1шт.

16

9716639

STOP

(SUB FOR TH100672)

1шт.

17

19M8784

SCREW

M10 X 20, (SUB FOR TH100670, 19M8356)

5шт.

18

J241032

CAP SCREW

(SUB FOR TH100669 OR M111032)

1шт.

19

BULK HOSE

(SUB FOR TH100673) (MF PMK010-0507 CTL) ( 4149677 NLA)

1шт.

22

449558

WASHER

(SUB FOR TH100675)

4шт.

24

8035080

LINE

(SUB FOR TH110918) (SUCTION)

1шт.

25

TH100679

O-RING

159.300 X 5.700 MM (6.272" X 0.224")

1шт.

26

4190987

FILTER ELEMENT

(SUB FOR TH100678) (SUB FOR AT128326) (SUCTION)

1шт.

27

19M8784

SCREW

M10 X 20, (SUB FOR TH100670, 19M8356)

6шт.

29

94-2011

FITTING PLUG

(SUB FOR TH100434)

1шт.

30

8053499

LEVEL GAUGE

(SUB FOR TH108293)

1шт.

30A

4100967

BOLT

(SUB FOR TH101894)

2шт.

Выбрано товаров: 26