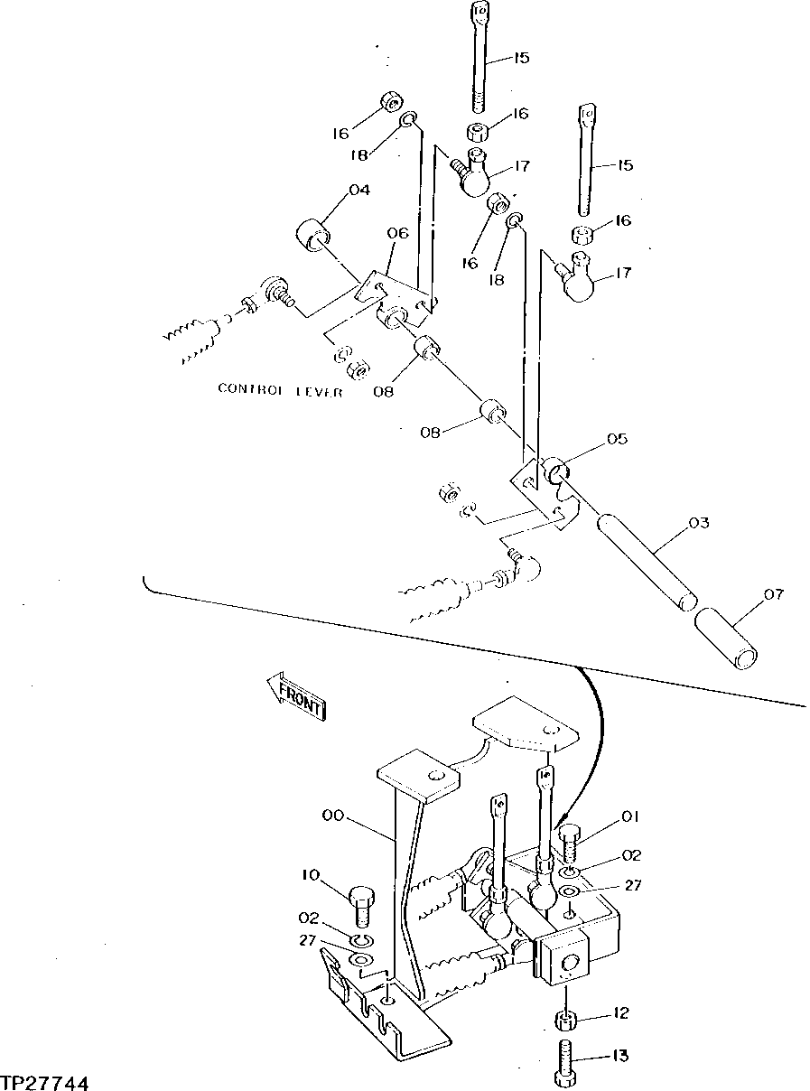
Запчасти John Deere 0D 2 - PROPEL CONTROL LINK 3315 - EXCAVATOR 33

Схема запчастей John Deere 0D - 2 - PROPEL CONTROL LINK 3315 - EXCAVATOR 33
FIT
1:1
100%

Артикул

Название

Примечание

Количество

0

6008332

BRACKET

(SUB FOR TH110792)

1шт.

1

19M8011

CAP SCREW

M12 X 30

1шт.

2

12H301

LOCK WASHER

1/2"

2шт.

3

4197824

PIN FASTENER

(SUB FOR TH110552)

1шт.

4

4199097

SPACER

(SUB FOR TH110567)

1шт.

5

9726964

LINK

(SUB FOR TH110993)

1шт.

6

9726963

LINK

(SUB FOR TH110992)

1шт.

7

4197918

SPACER

(SUB FOR TH110561)

1шт.

8

4197849

BUSHING

(SUB FOR TH110559)

2шт.

10

19M7403

CAP SCREW

M12 X 35

1шт.

12

14M7274

NUT

M10

1шт.

13

19M7662

CAP SCREW

M10 X 30

1шт.

15

4197863

EYEBOLT

(SUB FOR TH110560)

2шт.

16

14M7444

NUT

(SUB FOR TH104196 AND J952010)

4шт.

17

4056019

BALL JOINT

(SUB FOR TH100254)

2шт.

18

12M7066

LOCK WASHER

10 MM

2шт.

27

24M7047

WASHER

13 X 24 X 2.500 MM

2шт.

Выбрано товаров: 17