Запчасти John Deere 0D 8 - CONTROL LEVER LOCK 3315 - EXCAVATOR 33

Схема запчастей John Deere 0D - 8 - CONTROL LEVER LOCK 3315 - EXCAVATOR 33
FIT
1:1
100%

Артикул

Название

Примечание

Количество

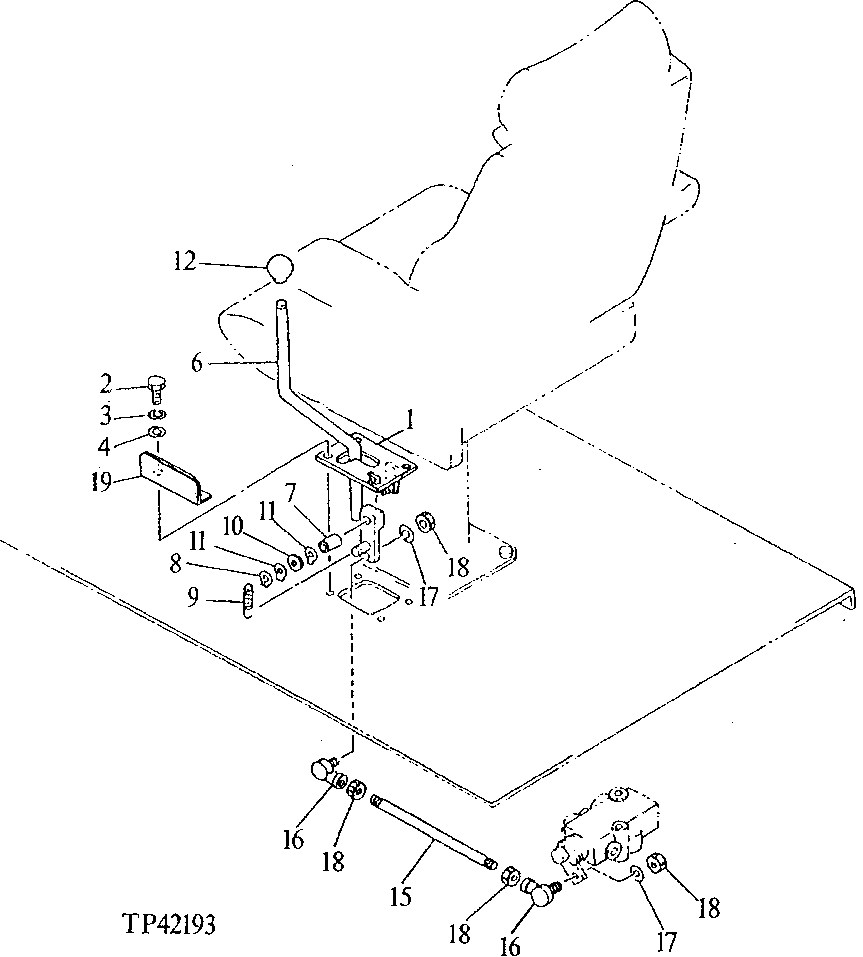
1

9729549

BRACKET

(SUB FOR TH111002)

1шт.

2

19M7402

CAP SCREW

M10 X 25

4шт.

3

12M7066

LOCK WASHER

10 MM

4шт.

4

24M7028

WASHER

10.500 X 20 X 2 MM

4шт.

6

8040966

LEVER

(SUB FOR TH110947)

1шт.

7

4042162

SPACER

(SUB FOR TH106483)

1шт.

8

40M7188

SNAP RING

1шт.

9

4191698

EXTENSION SPRING

(SUB FOR TH106485)

1шт.

10

24M7085

WASHER

15 X 28 X 2.500 MM

1шт.

11

A590414

WASHER

(SUB FOR TH107990)

2шт.

12

4143169

KNOB

(SUB FOR TH100268)

1шт.

15

4216753

ROD

(SUB FOR TH110659)

1шт.

16

T110021

BALL JOINT SOCKET

2шт.

17

12M7056

LOCK WASHER

8 MM, (SUB FOR 12M7065)

2шт.

18

14M7273

NUT

M8

4шт.

19

4220977

PLATE

(SUB FOR TH110776)

1шт.

Выбрано товаров: 16