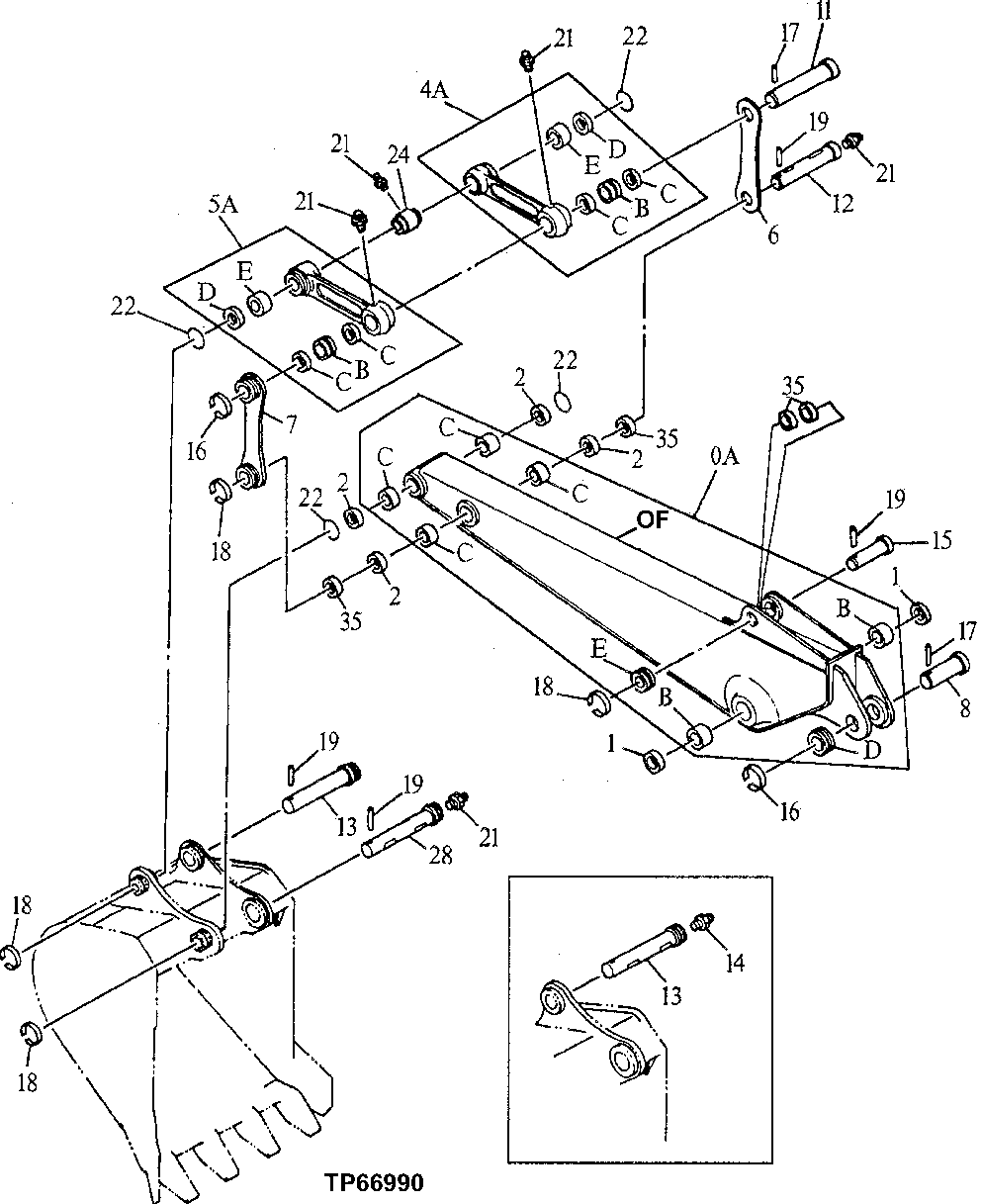
Запчасти John Deere 0D 4 - DIPPERSTICK ARM 3344 - EXCAVATOR 33

Схема запчастей John Deere 0D - 4 - DIPPERSTICK ARM 3344 - EXCAVATOR 33
FIT
1:1
100%

Артикул

Название

Примечание

Количество

0A

ARM

(2.12 M) ( AT161670, TH110902, OR TH110183 NO LONGER AVAILABLE)

1шт.

0B

4197842

BUSHING

(SUB FOR TH110558)

2шт.

0C

4197841

BUSHING

(USE WITH TH110902 OR TH110183) (SUB FOR TH110557)

4шт.

4273542

BUSHING

(USE WITH AT161670) (SUB FOR AT200457)

4шт.

0D

4197031

BUSHING

(SUB FOR TH110546)

1шт.

0E

4197029

BUSHING

(SUB FOR TH110545)

1шт.

0F

7025377

ARM

(SUB FOR AT200633)

1шт.

1

TH105979

SEAL

2шт.

2

AT318032

SEAL

(SUB FOR 4094088, TH105982)

4шт.

4

8040619

LINK

(SUB FOR TH110942)

1шт.

4B

4197839

BUSHING

(SUB FOR TH110555)

1шт.

4C

AT318031

SEAL

(SUB FOR 4094087, TH105980)

2шт.

4D

AT318032

SEAL

(SUB FOR 4094088, TH105982)

1шт.

4E

4197841

BUSHING

(SUB FOR TH110557)

1шт.

5

8040620

LINK

(SUB FOR TH110943)

1шт.

5B

4197839

BUSHING

(SUB FOR TH110555)

1шт.

5C

AT318031

SEAL

(SUB FOR 4094087, TH105980)

2шт.

5D

AT318032

SEAL

(SUB FOR 4094088, TH105982)

1шт.

5E

4197841

BUSHING

(SUB FOR TH110557)

1шт.

6

3037342

LINK

(SUB FOR TH110415)

1шт.

7

8037570

LINK

(SUB FOR TH110924)

1шт.

8

3038480

PIN FASTENER

(SUB FOR TH110424)

1шт.

11

3037350

PIN FASTENER

(SUB FOR TH110419)

1шт.

12

3037349

PIN FASTENER

(SUB FOR TH110418)

1шт.

13

3046682

PIN FASTENER

(SUB FOR TH110417 ALONG WITH TH105934 AND TH100074) (SUB FOR TH111893)

1шт.

15

3038481

PIN FASTENER

(SUB FOR TH110425)

1шт.

16

4065688

RETAINER

(SUB FOR TH100624)

2шт.

17

4065689

PIN FASTENER

(SUB FOR TH100625)

2шт.

18

4141000

RING

(SUB FOR TH106052)

4шт.

19

4141001

PIN

(SUB FOR TH106053)

4шт.

21

TH100074

LUBRICATION FITTING

5шт.

22

4237801

O-RING

75 X 8 MM (2.953" X 0.315") (SUB FOR TH105978) (SUB FOR TH112227)

4шт.

24

9730884

SPACER

(SUB FOR TH105934)

1шт.

28

TH110446

PIN FASTENER

1шт.

35

4054502

WASHER

(SUB FOR TH105949)

4шт.

Выбрано товаров: 35