Запчасти John Deere 0D 4 - MAIN PIPINGS 3360 - EXCAVATOR 33

Схема запчастей John Deere 0D - 4 - MAIN PIPINGS 3360 - EXCAVATOR 33
FIT
1:1
100%

Артикул

Название

Примечание

Количество

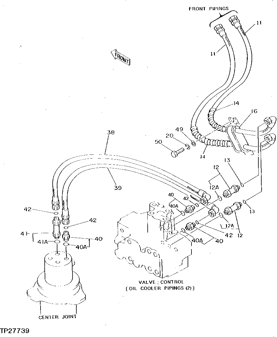
11

4196294

HYDRAULIC HOSE - FABRICATE

(SUB FOR TH110541) (BUCKET FRONT PIPINGS - ROD AND HEAD ENDS)

2шт.

12

4199247

ADAPTER FITTING

(SUB FOR TH110569)

2шт.

12A

4506418

O-RING

17.800 X 2.400 MM (0.701" X 0.094") (SUB FOR U46489)

1шт.

13

T77857

O-RING

12.420 X 1.780 MM (0.489" X 0.070") (SUB FOR TH108323)

2шт.

14

HOSE GUARD

(MAKE FROM XHG-075 BULK MATERIAL, CUT TO LENGTH) (SUB FOR AT138222)

2шт.

16

3038206

BUSHING

(SUB FOR TH110422)

1шт.

20

12H301

LOCK WASHER

1/2"

1шт.

38

4196291

HYDRAULIC HOSE - FABRICATE

(SUB FOR TH110540) (RIGHT PROPEL MOTOR FORWARD)

1шт.

39

AT167925

HYDRAULIC HOSE - FABRICATE

(SUB FOR TH110539) (RIGHT PROPEL MOTOR REVERSE)

1шт.

40

4189602

FITTING

(SUB FOR TH108350)

3шт.

40A

4506418

O-RING

17.800 X 2.400 MM (0.701" X 0.094") (SUB FOR U46489)

1шт.

41

4199247

ADAPTER FITTING

(SUB FOR TH110569)

1шт.

41A

4506418

O-RING

17.800 X 2.400 MM (0.701" X 0.094") (SUB FOR U46489)

1шт.

42

T77857

O-RING

12.420 X 1.780 MM (0.489" X 0.070") (SUB FOR TH108323)

4шт.

49

24M7047

WASHER

13 X 24 X 2.500 MM

1шт.

50

19M7872

CAP SCREW

M12 X 25

1шт.

Выбрано товаров: 16