Запчасти John Deere 0D 10 - PILOT PLUMBING 3360 - EXCAVATOR 33

Схема запчастей John Deere 0D - 10 - PILOT PLUMBING 3360 - EXCAVATOR 33
FIT
1:1
100%

Артикул

Название

Примечание

Количество

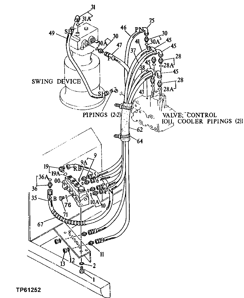
0

4197817

FLOW CONTROL HYD. VALVE

(SUB FOR TH110551) (SHOCKLESS - FLOW REGULATOR)

1шт.

1

19M7881

SCREW

M8 X 20

4шт.

2

12M7056

LOCK WASHER

8 MM, (SUB FOR 12M7065)

4шт.

9

4200466

ADAPTER FITTING

(SUB FOR TH108320)

2шт.

9A

CH11570

O-RING

1шт.

10

4200465

ADAPTER FITTING

(SUB FOR TH108328)

2шт.

10A

M800650

PACKING

1шт.

11

R27238

FITTING

(SUB FOR TH108438)

2шт.

12

12H294

LOCK WASHER

5/8"

2шт.

13

14H888

NUT

9/16", (SUB FOR TH108439)

2шт.

19

4154671

ELBOW FITTING

(SUB FOR TH101047)

1шт.

19A

CH11570

O-RING

1шт.

28

4202422

ADAPTER FITTING

(SUB FOR TH108440)

4шт.

28A

CH11570

O-RING

1шт.

30

4200465

ADAPTER FITTING

(SUB FOR TH108328)

2шт.

30A

M800650

PACKING

1шт.

31

4154670

ELBOW FITTING

(SUB FOR TH100951)

1шт.

31A

M800650

PACKING

1шт.

35

AT50269

HYDRAULIC HOSE - FABRICATE

9/16" X 1 016 MM (40") X 9/16", (SUB FOR TH110767) (RB) (FLOW REGULATOR TO OIL COOLER)

1шт.

36

4200466

ADAPTER FITTING

(SUB FOR TH108320)

1шт.

36A

CH11570

O-RING

1шт.

37

AT48717

HYDRAULIC HOSE - FABRICATE

9/16" X 1 131 MM (44-1/2") X 9/16", (5) (SUB FOR TH110587, ALONG WITH AE24616) (ARM I SECTION TO FLOW CONTROL VALVE)

1шт.

38

AT48434

HYDRAULIC HOSE - FABRICATE

9/16" X 1 067 MM (42") X 9/16", (6) (SUB FOR TH110588, ALONG WITH AE24616) (BOOM II SECTION TO FLOW REGULATOR VALVE)

1шт.

41

AR90081

HYDRAULIC HOSE

9/16" X 1 270 MM (50") X 9/16", (1) (SUB FOR TH110589, ALONG WITH AE24616) (BUCKET SECTION ROD END TO FLOW REGULATOR VALVE)

1шт.

43

AT48434

HYDRAULIC HOSE - FABRICATE

9/16" X 42" X 9/16", (14) (SUB FOR 4210375, ALONG WITH AE24616) (SWING SECTION TO FLOW REGULATOR VALVE)

1шт.

45

AE24616

ELBOW FITTING

4шт.

46

AH96002

HYDRAULIC HOSE

7/16" X 44" X 7/16", (SUB FOR 4210377, ALONG WITH AH89069)

1шт.

47

AE42280

HYDRAULIC HOSE

7/16" X 47-1/4" X 7/16", (SUB FOR TH110593)

1шт.

49

4210380

HYDRAULIC HOSE - FABRICATE

(SUB FOR TH110594)

1шт.

62

4217147

ISOLATOR

(SUB FOR TH110676)

1шт.

64

H77698

TIE BAND

2шт.

67

HOSE GUARD

(MAKE FROM XHG-075 BULK MATERIAL, CUT TO LENGTH) (SUB FOR AT138222)

1шт.

71

15M7036

DRAIN PLUG

(SUB FOR 4092534, 4217653, TH109285 OR 0309805) (ALSO ORDER CH11570)

1шт.

75

AH89069

ELBOW FITTING

1шт.

76

CH11570

O-RING

1шт.

Выбрано товаров: 35