Запчасти John Deere 0D 30 - PISTON PUMP ROTARY GROUP 3360 - EXCAVATOR 33

Схема запчастей John Deere 0D - 30 - PISTON PUMP ROTARY GROUP 3360 - EXCAVATOR 33
FIT
1:1
100%

Артикул

Название

Примечание

Количество

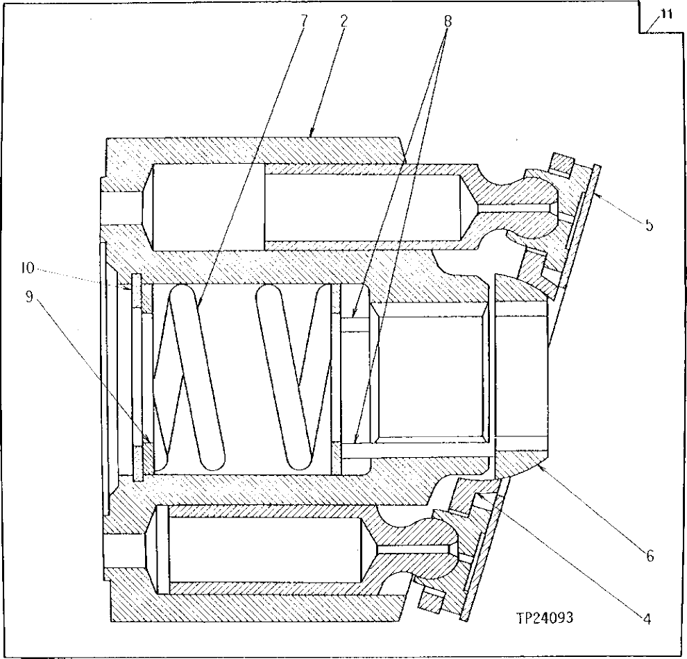
2

0294501

CYLINDER BLOCK

(SUB FOR TH106806)

1шт.

4

0294502

RETAINER

(SUB FOR TH106807)

1шт.

5

0294503

PLATE

(SUB FOR TH105850)

1шт.

6

0294504

GUIDE

(SUB FOR TH106808)

1шт.

7

0294505

COMPRESSION SPRING

(SUB FOR TH105851)

1шт.

8

0294506

PIN

(SUB FOR TH106809)

3шт.

9

0294507

RETAINER

(SUB FOR TH106810)

2шт.

10

40M7093

SNAP RING

(SUB FOR TH105852)

1шт.

11

4217007

MOUNTING PARTS

(SUB FOR TH110666)

2шт.

Выбрано товаров: 9