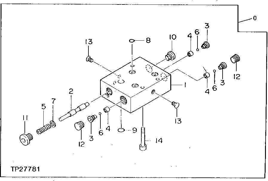
Запчасти John Deere 0D 42 - PISTON PUMP CHANGE VALVE 3360 - EXCAVATOR 33

Схема запчастей John Deere 0D - 42 - PISTON PUMP CHANGE VALVE 3360 - EXCAVATOR 33
FIT
1:1
100%

Артикул

Название

Примечание

Количество

0

4217014

FLOW CONTROL HYD. VALVE

(SUB FOR TH110673)

1шт.

1

HOUSING

(SUB TH110673)

1шт.

2

SPOOL

(SUB TH110673)

1шт.

3

PLUG

(SUB TH110673)

3шт.

4

GUIDE

(SUB TH110673)

3шт.

5

0330701

SPRING

(SUB FOR TH110285)

1шт.

6

BALL

(SUB TH110673)

3шт.

7

0254112

WASHER

5.300 X 10 X 1 MM (0.209" X 0.394" X 0.039") (SUB FOR TH105806)

1шт.

8

4506408

O-RING

7.800 X 1.900 MM (0.307" X 0.075") (SUB FOR TH101490)

3шт.

9

CH15146

PACKING

1шт.

10

0214912

DRAIN PLUG

(SUB FOR TH101424)

1шт.

11

AT119550

FITTING PLUG

(SUB FOR TH101420)

1шт.

12

94-2011

FITTING PLUG

(SUB FOR TH104746) (SUB FOR TH100434)

2шт.

13

PLUG

(SUB TH110673)

3шт.

14

0330702

SCREW

M5 X 40, (SUB FOR TH110286)

3шт.

Выбрано товаров: 15