Запчасти John Deere 0D 76 - ARM CYLINDER 3360 - EXCAVATOR 33

Схема запчастей John Deere 0D - 76 - ARM CYLINDER 3360 - EXCAVATOR 33
FIT
1:1
100%

Артикул

Название

Примечание

Количество

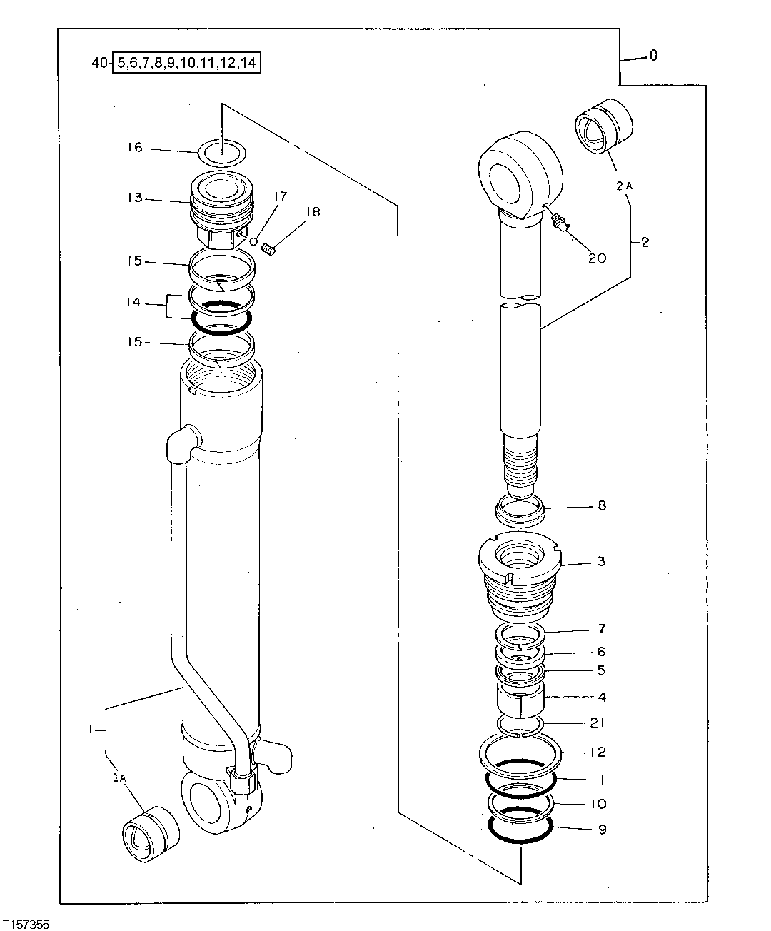
0

4194433

HYDRAULIC CYLINDER

(SUB FOR TH110528)

1шт.

1

HYDRAULIC CYLINDER BARREL

(SUB FOR TH110293) ( TH111718 NO LONGER AVAILABLE)

1шт.

1A

0225708-P

BUSHING

(SUB FOR TH105775)

1шт.

2

4269533

ROD

(SUB FOR TH110294) (SUB FOR TH111717)

1шт.

2A

0225708-P

BUSHING

(SUB FOR TH105775)

1шт.

3

0331003

HYDRAULIC CYLINDER CAP

(SUB FOR TH110295)

1шт.

4

AT264404

BUSHING

(SUB FOR TH110296, 0331004)

1шт.

5

AT264380

RING

(SUB FOR TH105780)

1шт.

6

AT264378

RING

(SUB FOR TH105778)

1шт.

7

AT264379

BACK-UP RING

(SUB FOR TH105779)

1шт.

8

AT264377

RING

(SUB FOR TH105777)

1шт.

9

AT264418

O-RING

(SUB FOR 4367664, U46155)

1шт.

10

4110216

BACK-UP RING

(SUB FOR TH105999)

1шт.

11

AT264319

O-RING

99.400 X 3.100 MM (3.913" X 0.122") (SUB FOR TH105943, T110447)

1шт.

12

0178416

LOCK WASHER

107 X 125 X 1.600 MM (4.213" X 4.921" X 0.063") (SUB FOR TH105708)

1шт.

13

0331005

PISTON

(SUB FOR TH110297)

1шт.

14

0240807

RING

(SUB FOR TH105802)

1шт.

15

4S00154

RING

2шт.

16

TH110253

SHIM

0.300 MM (0.012") (SUB FOR 0326007)

1шт.

17

400R

BALL

6.350 MM (1/4")

1шт.

18

22M7139

SET SCREW

M10 X 10, (SUB FOR TH109380)

1шт.

20

JD7781

LUBRICATION FITTING

(SUB FOR TH105707)

1шт.

21

0225704

SNAP RING

(SUB FOR TH105772)

1шт.

22

SEAL

(ROD AND HEAD END) (NOT ILLUSTRATED OR INCLUDED IN CYLINDER ASSEMBLY - FOR DETAIL SEE BOOM, BUCKET AND ARM PLUMBING)

2шт.

40

4217003

SEAL KIT

(ALSO ORDER TH110296 AND (2) 4S00154) (SUB FOR TH110662)

1шт.

Выбрано товаров: 25