Запчасти John Deere 0D 14 - TRACK LINK AND TRACK SHOE 130 - WHEELS 1

Схема запчастей John Deere 0D - 14 - TRACK LINK AND TRACK SHOE 130 - WHEELS 1
FIT
1:1
100%

Артикул

Название

Примечание

Количество

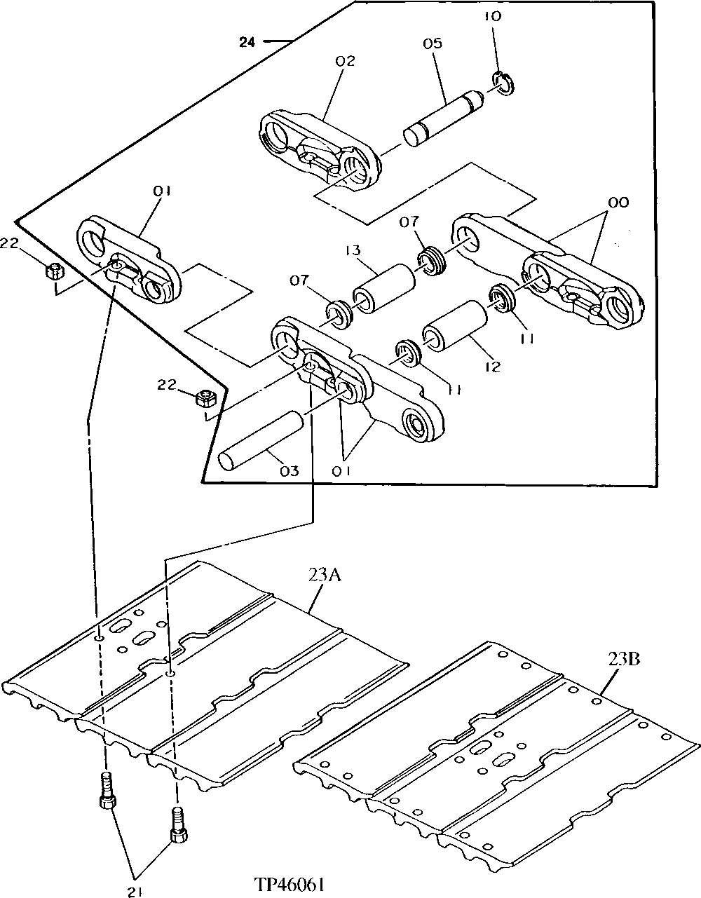
0

TRACK LINK

( TH110357 NO LONGER AVAILABLE) (SUB 1015394, ALONG WITH 1015395, (2) 4283930 AND 4262582)

36шт.

1015394

STRUTTED LINK-LH

(SUB FOR AT134373)

36шт.

1

TRACK LINK

( TH110358 NO LONGER AVAILABLE) (SUB 1015395, ALONG WITH (2) 4283930 AND 4262582)

37шт.

1015395

STRUTTED LINK-RH

(SUB FOR AT134374)

37шт.

2

TRACK LINK

MASTER ( TH110495 NO LONGER AVAILABLE) (SUB 4262581, ALONG WITH 4263097, (2) 4262585, 4262583 AND 1015395)

1шт.

4262581

MASTER TRACK LINK-LH

(SUB FOR AT134375) (MASTER)

1шт.

3

4156583

PIN

(K) (SUB FOR TH106074)

36шт.

5

PIN FASTENER

MASTER ( 4188842 NO LONGER AVAILABLE) (SUB 4263097, ALONG WITH (2) 4262585)

1шт.

4263097

MASTER TRACK PIN

(K) (SUB FOR AT134376) (MASTER)

1шт.

7

SEAL

FOR MASTER LINK ( TH105985 NO LONGER AVAILABLE) (SUB 4262585, ALONG WITH 4262583)

2шт.

4262585

BUSHING

(K) (SUB FOR AT134377) (FOR MASTER LINK)

2шт.

10

4188841

SNAP RING

(K) (SUB FOR TH110493) FOR MASTER PIN

1шт.

11

4283930

SEAL

(K) (SUB FOR AT167074) (SUB FOR 4195134 OR AT134378, ALONG WITH 4262582)

72шт.

12

BUSHING

( TH106083 NO LONGER AVAILABLE, SUB 4262582, ALONG WITH (2) 4283930)

36шт.

4262582

BUSHING

(K) (SUB FOR AT134379)

36шт.

13

BUSHING

( 4156582 NO LONGER AVAILABLE) (SUB 4262583, ALONG WITH (2) 4262585)

1шт.

4262583

BUSHING

(K) (SUB FOR AT134380)

1шт.

21

AT134381

BOLT

M14 X 41, (SUB FOR 4159033 ALONG WITH T211435)

148шт.

AT134381

BOLT

M14 X 41

148шт.

22

4114673

NUT

(SUB FOR TH106002) (USE WITH AT134381 BOLT)

148шт.

T211435

NUT

(SUB FOR AT134382 OR 4262587)

148шт.

23A

TRIPLE BAR SHOE

(SUB AT170012) (450 MM) ( TH110385 NO LONGER AVAILABLE)

37шт.

TRIPLE BAR SHOE

(SUB AT170012) (450 MM) ( AT134383 NO LONGER AVAILABLE)

37шт.

TRIPLE BAR SHOE

(SUB AT134385) (600 MM) ( TH106709 NO LONGER AVAILABLE)

37шт.

2030532

OPEN CENTER 3 BAR SHOE

(SUB FOR TH106709) (SUB FOR AT134385) (600 MM)

37шт.

23B

2037593

OPEN CENTER 3 BAR SHOE

(SUB FOR AT170012) (450 MM)

37шт.

24

TRACK CHAIN W/O SHOES

(SUB AT134372) ( TH110964 NO LONGER AVAILABLE)

2шт.

9096710

TRACK CHAIN W/O SHOES

(SUB FOR AT134372)

2шт.

Выбрано товаров: 28