Запчасти John Deere 0D 7 - REPLACEMENT ENGINE OIL PUMP 407 - ENGINE 4

Схема запчастей John Deere 0D - 7 - REPLACEMENT ENGINE OIL PUMP 407 - ENGINE 4
FIT
1:1
100%

Артикул

Название

Примечание

Количество

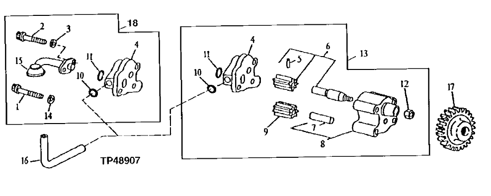
1

R125586

CAP SCREW

(SUB FOR R57059)

1шт.

2

R74552

SCREW

9.525 X 104.648 MM (3/8" X 4.120")

2шт.

3

R74553

WASHER

0.394" X 0.630" X 0.120"

2шт.

4

COVER

1шт.

5

34H280

SPRING PIN

3/16" X 7/8", (SUB FOR M3853T, THIS APPLICATION)

1шт.

6

AR62978

PINION

1шт.

7

T20091

DOWEL PIN

1шт.

8

HOUSING

(MARKED R54615)

1шт.

9

R54614

GEAR

(7 TEETH)

1шт.

10

R74354

O-RING

15.590 X 1.780 MM (0.614" X 0.070")

1шт.

11

R61871

O-RING

24.990 X 3.530 MM (0.984" X 0.139")

1шт.

12

14H826

NUT

1/2"

1шт.

13

RE55343

KIT

(OIL PUMP)

1шт.

14

R74553

WASHER

10 X 16 X 3.050 MM (0.394" X 0.630" X 0.120")

2шт.

15

RE36425

OIL PUMP INTAKE

1шт.

16

R113752

OIL TUBE

1шт.

17

T20298

GEAR

(33TEETH)

1шт.

18

RE55345

KIT

(INTAKE AND COVER)

1шт.

Выбрано товаров: 18