Запчасти John Deere 0D 1 - FUEL INJECTION NOZZLE 413 - ENGINE 4

Схема запчастей John Deere 0D - 1 - FUEL INJECTION NOZZLE 413 - ENGINE 4
FIT
1:1
100%

Артикул

Название

Примечание

Количество

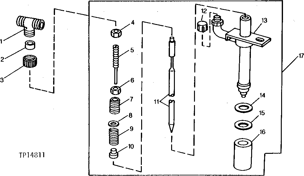
1

R79606

TEE FITTING

1шт.

2

R79605

WASHER

1шт.

3

R79604

TUBE NUT

1шт.

4

NUT

( R47733 NO LONGER AVAILABLE)

1шт.

5

SCREW

( R69443 NO LONGER AVAILABLE)

1шт.

6

NUT

( R46675 NO LONGER AVAILABLE)

1шт.

7

SCREW

( R62984 NO LONGER AVAILABLE)

1шт.

8

SHIM

( R62981 NO LONGER AVAILABLE)

1шт.

9

SPRING

( R69442 NO LONGER AVAILABLE)

1шт.

10

VALVE SEAT

( R62982 NO LONGER AVAILABLE)

1шт.

11

VALVE

(SUB AR89564)

1шт.

12

CAP (HAT)

( T31174 NO LONGER AVAILABLE) (USE FOR SERVICING NOZZLE)

1шт.

13

R67779

CLAMP

1шт.

14

R60746

WASHER

(K) 9.677 X 14.275 X 3.048 MM (0.381" X 9/16" X 0.120")

1шт.

15

R48000

SEAL

(K) (USE WITH OVERSIZE NOZZLE BORE)

1шт.

R500390

WASHER

(USE WITH STANDARD NOZZLE BORE)

1шт.

16

T24472

CAP

NOZZLE PROTECTION

1шт.

17

AR89564

INJECTION NOZZLE

(STANADYNE NO. 27333) (ALSO ORDER R60745 AND R60746)

1шт.

SE500822

INJECTION NOZZLE REMAN

(INCLUDES 4 REMANUFACTURED NOZZLES)

1шт.

SE501099

INJECTION NOZZLE REMAN

(REMANUFACTURED)

1шт.

Выбрано товаров: 20