Запчасти John Deere 0D 8 - FUEL INJECTION PUMP ELECTRIC SHUT-OFF KIT 413 - ENGINE 4

Схема запчастей John Deere 0D - 8 - FUEL INJECTION PUMP ELECTRIC SHUT-OFF KIT 413 - ENGINE 4
FIT
1:1
100%

Артикул

Название

Примечание

Количество

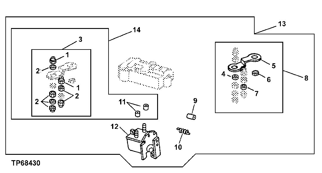
1

M63431

LOCK NUT

4.166 MM (0.164")

2шт.

2

WASHER

(SUB RE37091)

2шт.

3

RE37091

KIT

NUT AND WASHER, (SUB FOR AR90601)

1шт.

4

12M7084

LOCK WASHER

4.300 MM (0.169") (SUB FOR R47077)

1шт.

5

GROUND CABLE

(SUB AR50874)

1шт.

6

12M7060

WASHER

5.300 MM

1шт.

7

WASHER

(SUB AR50874)

1шт.

8

AR50874

KIT

(SUB RE37091) GROUNDING WIRE

1шт.

9

R48795

SLEEVE

(A) (NLA)

1шт.

10

T11935

SPRING

(A) (NLA)

1шт.

11

T11937

INSULATOR

2шт.

12

RE37089

SOLENOID

1шт.

13

KIT

SHUT-OFF ( RE62240 NO LONGER AVAILABLE) (SUB RE37089 AND RE37091)

1шт.

14

GASKET KIT

( AR34612 - NO LONGER AVAILABLE)

1шт.

Выбрано товаров: 14