Запчасти John Deere 0D 2 - ENGINE OIL COOLER 419 - ENGINE 4

Схема запчастей John Deere 0D - 2 - ENGINE OIL COOLER 419 - ENGINE 4
FIT
1:1
100%

Артикул

Название

Примечание

Количество

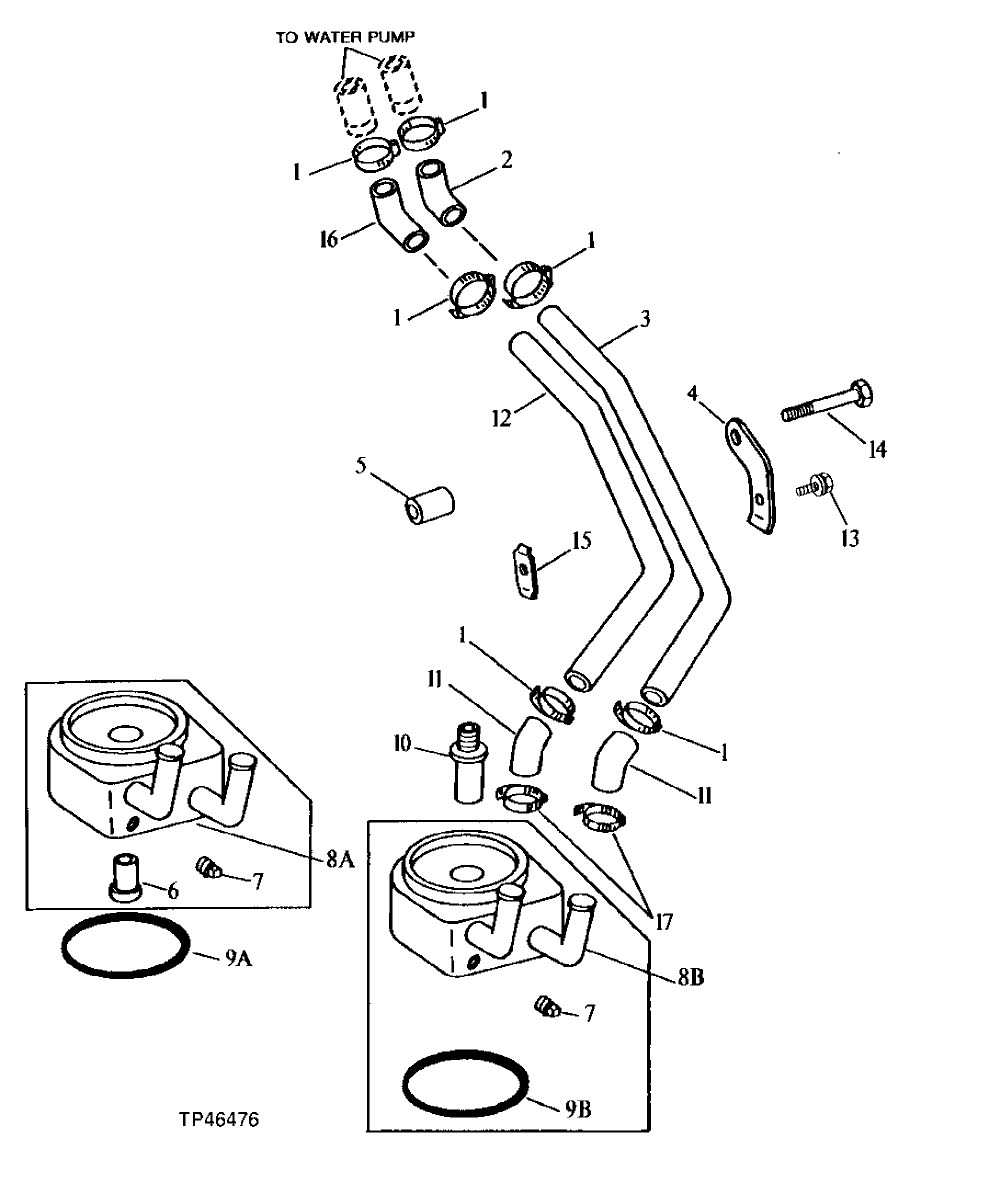
1

RE32361

HOSE CLAMP

(SUB FOR AR21837, THIS APPLICATION)

6шт.

2

R48989

HOSE

1шт.

3

R55125

LINE

1шт.

4

R55128

FLANGE

1шт.

5

28H2547

SPACER

0.423" X 0.675" X 1"

1шт.

6

R77332

PRESSURE RELIEF VALVE

1шт.

7

R56947

DRAIN PLUG

1шт.

8A

RE10869

OIL COOLER

(SUB RE31929 AND (2) R99802)

1шт.

8B

RE31929

OIL COOLER

1шт.

9A

R70956

WASHER

68.580 X 76.200 X 4.826 MM (2.700" X 3" X 0.190")

1шт.

9B

R105714

WASHER

67.060 X 73.420 X 3.640 MM (2.640" X 2.891" X 0.143") (USE WITH RE31929)

1шт.

10

T31306

THREADED NIPPLE

1шт.

11

R55127

HOSE

2шт.

R99802

HOSE

(USE WITH RE31929)

2шт.

12

R55126

LINE

1шт.

13

AR76704

SCREW

4.826 X 25.400 MM (0.190" X 1")

1шт.

14

19H3744

SCREW

3/8" X 3-1/8"

1шт.

15

R55129

HALF CLAMP

1шт.

16

R48989

HOSE

1шт.

17

RE65978

CLAMP

(SUB FOR AR21837, THIS APPLICATION) (SUB FOR AT18904 OR RE62322)

2шт.

Выбрано товаров: 20