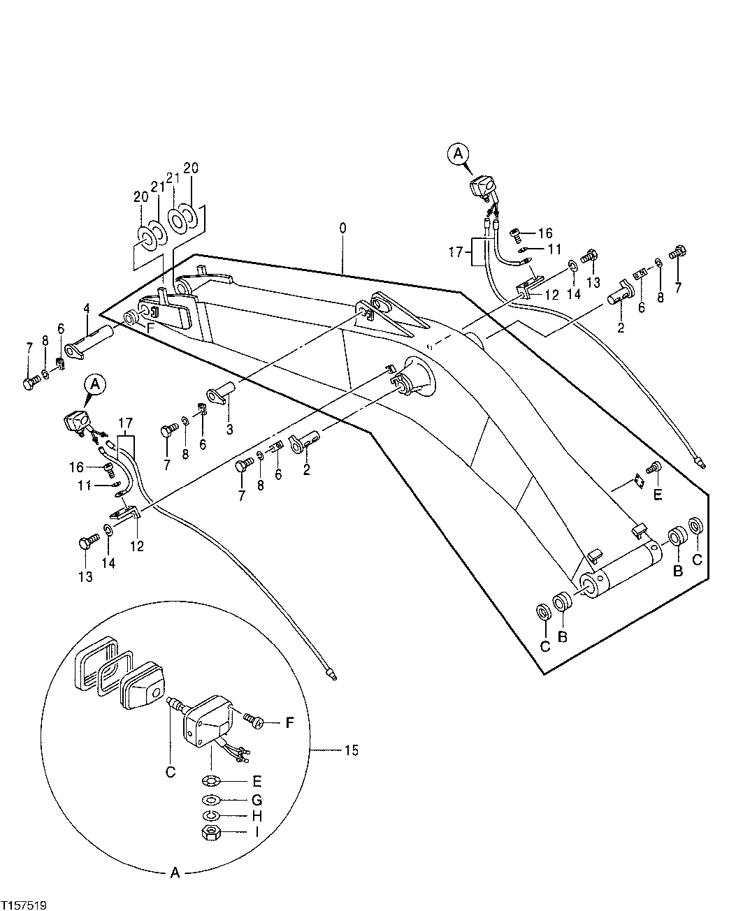
Запчасти John Deere 50 133 - HEAVY DUTY BOOM (8.25 M) 3344 Boom

Схема запчастей John Deere 50 - 133 - HEAVY DUTY BOOM (8.25 M) 3344 Boom
FIT
1:1
100%

Артикул

Название

Примечание

Количество

0

9135255

Backhoe Boom

(SUB FOR TH9135255)

1шт.

0B

3060122

Bushing

(SUB FOR TH3060122)

2шт.

0C

4251754

Seal

(SUB FOR TH4251754)

2шт.

0E

37H99

Screw

0.100" X 1/4"

4шт.

0F

4448085

Bushing

2шт.

2

8067794

Pin Fastener

(SUB FOR TH8067794)

2шт.

3

8067795

Pin Fastener

(SUB FOR TH8067795)

1шт.

4

8067796

Pin Fastener

(SUB FOR TH8067796)

1шт.

6

4122729

Strap

(SUB FOR AT131696)

4шт.

7

19M7950

Cap Screw

M20 X 45

8шт.

8

12M7070

Lock Washer

20 mm

8шт.

11

12M7006

Lock Washer

6 mm

2шт.

12

4224631

Angle

(SUB FOR TH111685)

2шт.

13

J901425

Cap Screw

(SUB FOR TH104071)

2шт.

14

12H317

Lock Washer

9/16"

2шт.

15

4326800

Lamp

2шт.

15C

AT135758

Bulb

1шт.

15E

4307026

Washer

(SUB FOR T144361)

1шт.

15F

37H19

Screw

(SUB FOR T144362 OR 4307027)

1шт.

15G

24M7085

Washer

15 X 28 X 2.500 mm

1шт.

15H

12H317

Lock Washer

9/16"

1шт.

15I

14M7345

Nut

M14 (SUB FOR J952014 ) (SUB FOR TH103791)

1шт.

16

21M7288

Screw

M6 X 10

2шт.

17

4252361

Wiring Harness

(SUB FOR TH4252361)

2шт.

20

4379154

Thrust Washer

(SUB FOR TH4379154)

2шт.

21

4379155

Thrust Washer

(SUB FOR TH4379155)

2шт.

Выбрано товаров: 26