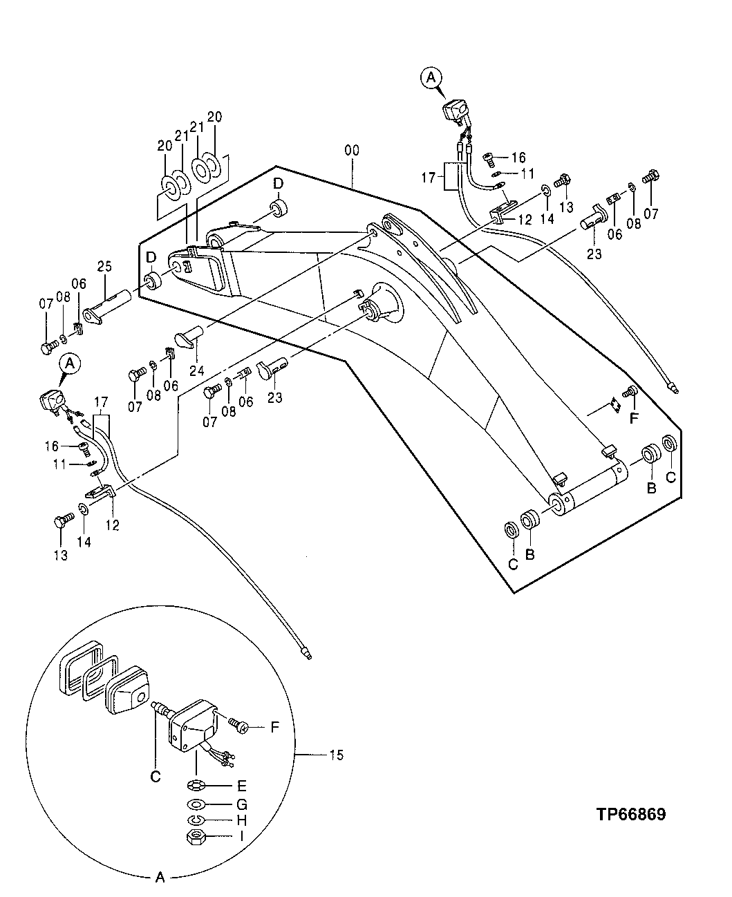
Запчасти John Deere 50 134 - MASS EXCAVATING BOOM (7.1 M) 3344 Boom

Схема запчастей John Deere 50 - 134 - MASS EXCAVATING BOOM (7.1 M) 3344 Boom
FIT
1:1
100%

Артикул

Название

Примечание

Количество

0

9148149

Backhoe Boom

(SUB FOR TH9148149)

1шт.

0B

3060122

Bushing

(SUB FOR TH3060122)

2шт.

0C

4251754

Seal

(SUB FOR TH4251754)

2шт.

0D

4448085

Bushing

(SUB FOR 4387719)

2шт.

0F

37H99

Screw

0.100" X 1/4"

4шт.

6

4122729

Strap

(SUB FOR AT131696)

4шт.

7

19M7950

Cap Screw

M20 X 45

8шт.

8

12M7070

Lock Washer

20 mm

8шт.

11

12M7006

Lock Washer

6 mm

2шт.

12

4224631

Angle

(SUB FOR TH111685)

2шт.

13

J901425

Cap Screw

(SUB FOR TH104071)

2шт.

14

12H317

Lock Washer

9/16"

2шт.

15

4326800

Lamp

2шт.

15C

AT135758

Bulb

1шт.

15E

4307026

Washer

(SUB FOR T144361)

1шт.

15F

37H19

Screw

(SUB FOR T144362 OR 4307027)

1шт.

15G

24M7085

Washer

15 X 28 X 2.500 mm

1шт.

15H

12H317

Lock Washer

9/16"

1шт.

15I

14M7345

Nut

M14 (SUB FOR J952014 ) (SUB FOR TH103791)

1шт.

16

21M7288

Screw

M6 X 10

2шт.

17

4252361

Wiring Harness

(SUB FOR TH4252361)

2шт.

20

4379154

Thrust Washer

(SUB FOR TH4379154)

2шт.

21

4379155

Thrust Washer

(SUB FOR TH4379155)

2шт.

23

8067794

Pin Fastener

(SUB FOR TH8067794)

2шт.

24

8067795

Pin Fastener

(SUB FOR TH8067795)

1шт.

25

8067796

Pin Fastener

(SUB FOR TH8067796)

1шт.

Выбрано товаров: 26