Запчасти John Deere 50 144 - PILOT PIPINGS 3360 HYDRAULIC SYSTEM

Схема запчастей John Deere 50 - 144 - PILOT PIPINGS 3360 HYDRAULIC SYSTEM
FIT
1:1
100%

Артикул

Название

Примечание

Количество

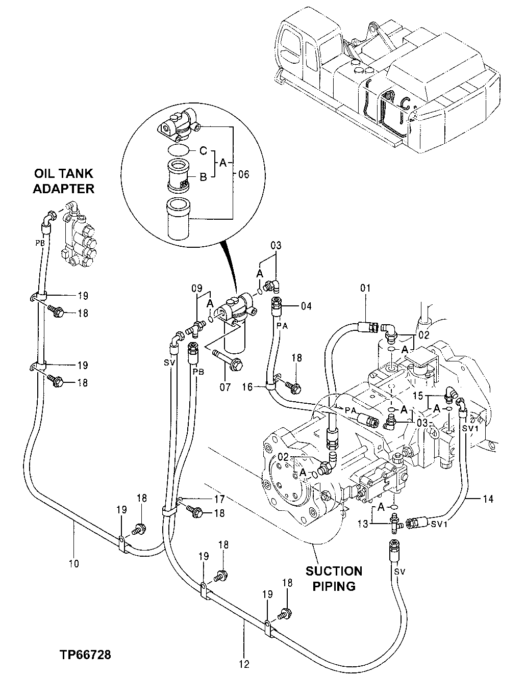
1

4373686

Hose

(SUB FOR TH4373686)

1шт.

2

4156435

Elbow Fitting

(SUB FOR TH101989)

2шт.

2A

AT318035

O-Ring

(SUB FOR 4506424, TH100055)

1шт.

3

4154672

Elbow Fitting

(SUB FOR TH101008)

2шт.

3A

4506418

O-Ring

17.800 X 2.400 mm (0.701" X 3/32") (SUB FOR U46489)

1шт.

4

4373687

Hose

(SUB FOR TH4373687)

1шт.

6

4631976

Oil Filter

(SUB FOR TH108402, 4191300)

1шт.

6A

AT186554

Filter Element

1шт.

6B

Filter Element

(NOT AVAILABLE FOR SERVICE)

1шт.

6C

AT264334

O-Ring

(SUB FOR TH100101)

1шт.

7

19M8093

Cap Screw

M10 X 100

2шт.

12M7066

Lock Washer

10 mm

2шт.

9

4222016

Tee Fitting

(SUB FOR AT126748)

1шт.

9A

4506418

O-Ring

17.800 X 2.400 mm (0.701" X 3/32") (SUB FOR U46489)

1шт.

10

4373690

Hose

(SUB FOR TH4373690)

1шт.

12

4373914

Hose

(SUB FOR TH4373914)

1шт.

13

4207300

Tee Fitting

(SUB FOR AT126381)

1шт.

13A

M800650

Packing

1шт.

14

4373689

Hose

(SUB FOR TH4373689)

1шт.

15

AT318014

Elbow Fitting

(SUB FOR 4156434 ) (SUB FOR TH101930)

1шт.

15A

M800650

Packing

1шт.

16

R72659

Clamp

(SUB FOR AT122384 OR 4235654)

1шт.

17

R50454

Clamp

(SUB FOR TH109445 OR 4192034)

1шт.

18

19M7938

Cap Screw

M10 X 20

7шт.

12M7066

Lock Washer

10 mm

7шт.

19

T28949

Clamp

(SUB FOR TH108460 OR 4190273)

5шт.

Выбрано товаров: 26