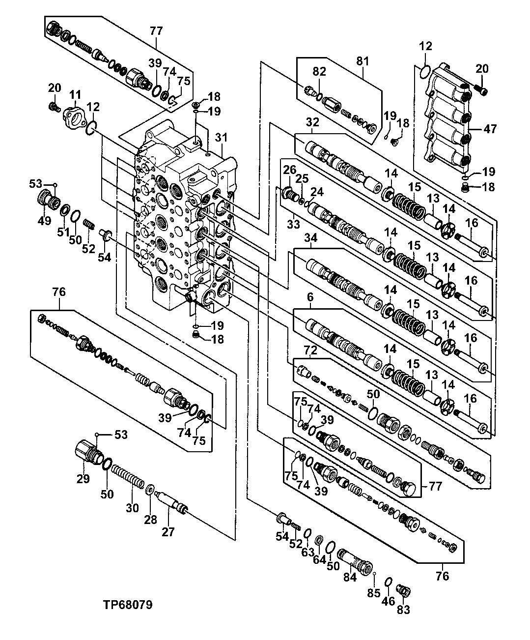
Запчасти John Deere 50 192 - Control Valve 3360 HYDRAULIC SYSTEM

Схема запчастей John Deere 50 - 192 - Control Valve 3360 HYDRAULIC SYSTEM
FIT
1:1
100%

Артикул

Название

Примечание

Количество

6

Plunger

1шт.

11

0622803

Cover

SUB FOR AT201987

4шт.

12

4073426

O-Ring

SUB FOR AT217049

8шт.

13

0622805

Sleeve

SUB FOR AT201989

4шт.

14

0622806

Guide

SUB FOR AT201990

8шт.

15

0622807

Spring

SUB FOR AT201991

4шт.

16

0622808

Cap

SUB FOR AT201992

4шт.

18

0622810

Cap

SUB FOR AT201994

6шт.

19

M800650

Packing

6шт.

20

19M8169

Screw

M12 X 30 SUB FOR 19M8127

16шт.

24

CH10568

Packing

1шт.

25

0166805

Back-Up Ring

SUB FOR AT217051

1шт.

26

0622877

Cap (Hat)

SUB FOR AT172704

1шт.

27

0622815

Spool

SUB FOR AT201999

1шт.

28

0622816

Spacer

SUB FOR AT202000

1шт.

29

0622817

Cap

SUB FOR AT202001

1шт.

30

0622818

Spring

SUB FOR AT202002

1шт.

31

Housing

1шт.

32

Plunger

1шт.

33

Plunger

1шт.

34

Plunger

1шт.

39

4366528

O-Ring

SUB FOR 4153108 ) (SUB FOR 0818007, THIS APPLICATION

6шт.

46

4366521

O-Ring

SUB FOR TH109041, SUB FOR 4153 098, OR 0818008THIS APPLICATION

1шт.

47

0622823

Cover

SUB FOR AT202007

1шт.

49

0622825

Cap

SUB FOR AT202009

1шт.

50

4088425

O-Ring

SUB FOR AT202080

4шт.

51

0223104

Back-Up Ring

SUB FOR AT217055

1шт.

52

0622827

Spring

SUB FOR AT202011

2шт.

53

0189803

Ball

SUB FOR AT203704

2шт.

54

0622829

Check Valve

SUB FOR AT202013

2шт.

63

966689

O-Ring

SUB FOR TH108142

1шт.

64

4113187

Back-Up Ring

SUB FOR AT131692

1шт.

72

0655702

Pressure Relief Valve

SUB FOR TH4391504, SYSTEM

1шт.

74

4027959

Back-Up Ring

SUB FOR TH100771

6шт.

75

4355080

O-Ring

SUB FOR AT202086, SUB FOR 4153 099, OR 0818011THIS APPLICATION

6шт.

76

4391660

Pressure Relief Valve

SUB FOR TH4391660, BOOM AN D BUCKET HEAD AND ROD ENDS

4шт.

77

0622843

Flow Control Hyd. Valve

SUB FOR AT202027, ARM AND BOOM MAKE-UP VALVE

2шт.

81

4391505

Pressure Relief Valve

SUB FOR AT217147, FLOW SENSING VALVE

1шт.

82

985099

O-Ring

SUB FOR TH101479

1шт.

83

0622871

Seat

SUB FOR AT202055

1шт.

84

0622872

Cap

SUB FOR AT202056

1шт.

85

0622873

Ball

SUB FOR AT202057

1шт.

86

4311602

Hyd Actuated Control Valve

SUB FOR TH4311602 AND 4311602EX, NOT ILLUSTRATED, CONTAINS ALL ITEMS ON T HIS PAGE, ADDITIONAL COMPONENTS ARE L ISTED ON PREVIOUS AND FOLLOWING PAGES

1шт.

Выбрано товаров: 43