Запчасти John Deere 50 193 - Control Valve 3360 HYDRAULIC SYSTEM

Схема запчастей John Deere 50 - 193 - Control Valve 3360 HYDRAULIC SYSTEM
FIT
1:1
100%

Артикул

Название

Примечание

Количество

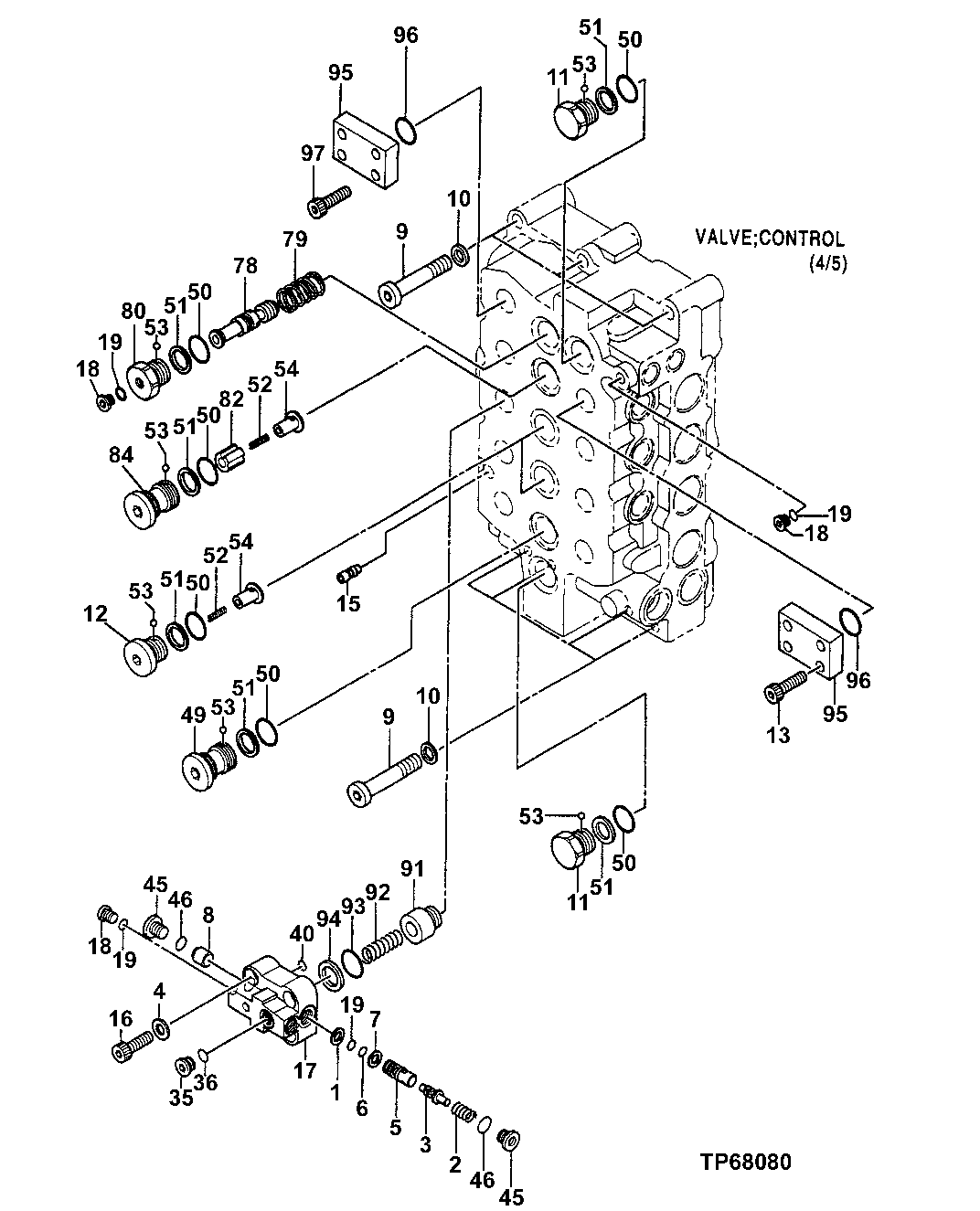
1

4092265

Back-Up Ring

(SUB FOR TH102598)

1шт.

2

0622863

Spring

(SUB FOR AT202047)

1шт.

3

0622864

Poppet

(SUB FOR AT202048)

1шт.

4

0622865

Washer

(SUB FOR AT202049)

4шт.

5

0622866

Sleeve

(SUB FOR AT202050)

1шт.

6

4140470

O-Ring

(SUB FOR TH109089)

1шт.

7

4040813

Back-Up Ring

(SUB FOR TH110449)

1шт.

8

0622867

Piston

(SUB FOR AT202051)

1шт.

9

19M8564

Bolt

(SUB FOR M341600)

7шт.

10

0189908

Washer

(SUB FOR AT217052)

7шт.

11

0622870

Cap

(SUB FOR AT202054)

2шт.

12

0703701

Fitting Plug

(SUB FOR AT217064)

2шт.

13

19M8734

Screw

M14 X 45

8шт.

15

0622874

Orifice

(SUB FOR AT202058)

1шт.

16

M341440

Screw

(SUB FOR AT201961)

4шт.

17

0622862

Cover

(SUB FOR AT202046)

1шт.

18

0622810

Cap

(SUB FOR AT201994)

3шт.

19

M800650

Packing

4шт.

35

0622819

Cap

(SUB FOR AT202003)

1шт.

36

CH11570

O-Ring

1шт.

40

4366519

O-Ring

(SUB FOR AT202085 ) (SUB FOR 4153089, THIS APPLICATION ) (SUB FOR 0818012)

1шт.

45

0622822

Cap

(SUB FOR AT202006)

2шт.

46

4366521

O-Ring

(SUB FOR TH109041 ) (SUB FOR 415 3098, OR 0818008THIS APPLICATION)

2шт.

49

0622825

Cap

(SUB FOR AT202009)

1шт.

50

4088425

O-Ring

(SUB FOR AT202080)

7шт.

51

0223104

Back-Up Ring

(SUB FOR AT217055)

7шт.

52

0622827

Spring

(SUB FOR AT202011)

3шт.

53

0189803

Ball

(SUB FOR AT203704)

7шт.

54

0622829

Check Valve

(SUB FOR AT202013)

3шт.

78

0622844

Spool

(SUB FOR AT202028)

1шт.

79

0622845

Spring

(SUB FOR AT202029)

1шт.

80

0622846

Cap

(SUB FOR AT202030)

1шт.

82

0622848

Check Valve

(SUB FOR AT202032)

1шт.

84

0622850

Cap

(SUB FOR AT202034)

1шт.

91

0622855

Poppet

(SUB FOR AT202039)

1шт.

92

0622856

Spring

(SUB FOR AT202040)

1шт.

93

AT264324

O-Ring

(SUB FOR TH100044)

1шт.

94

4138942

Back-Up Ring

(SUB FOR AT217083)

1шт.

95

0622858

Flange

(SUB FOR AT202042)

2шт.

96

0197011

O-Ring

(SUB FOR AT217054)

2шт.

97

4311602

Hyd Actuated Control Valve

(SUB FOR TH4311602 AND 4311602EX) (NOT ILLUSTRATED)(CONTAINS ALL IT EMS ON THIS PAGE, ADDITIONAL COMPO NENTS ARE LISTED ON PREVIOUS PAGES )

1шт.

Выбрано товаров: 41