Запчасти John Deere 50 199 - Hydraulic Bucket Cylinder (Long Arm) 3360 HYDRAULIC SYSTEM

Схема запчастей John Deere 50 - 199 - Hydraulic Bucket Cylinder (Long Arm) 3360 HYDRAULIC SYSTEM
FIT
1:1
100%

Артикул

Название

Примечание

Количество

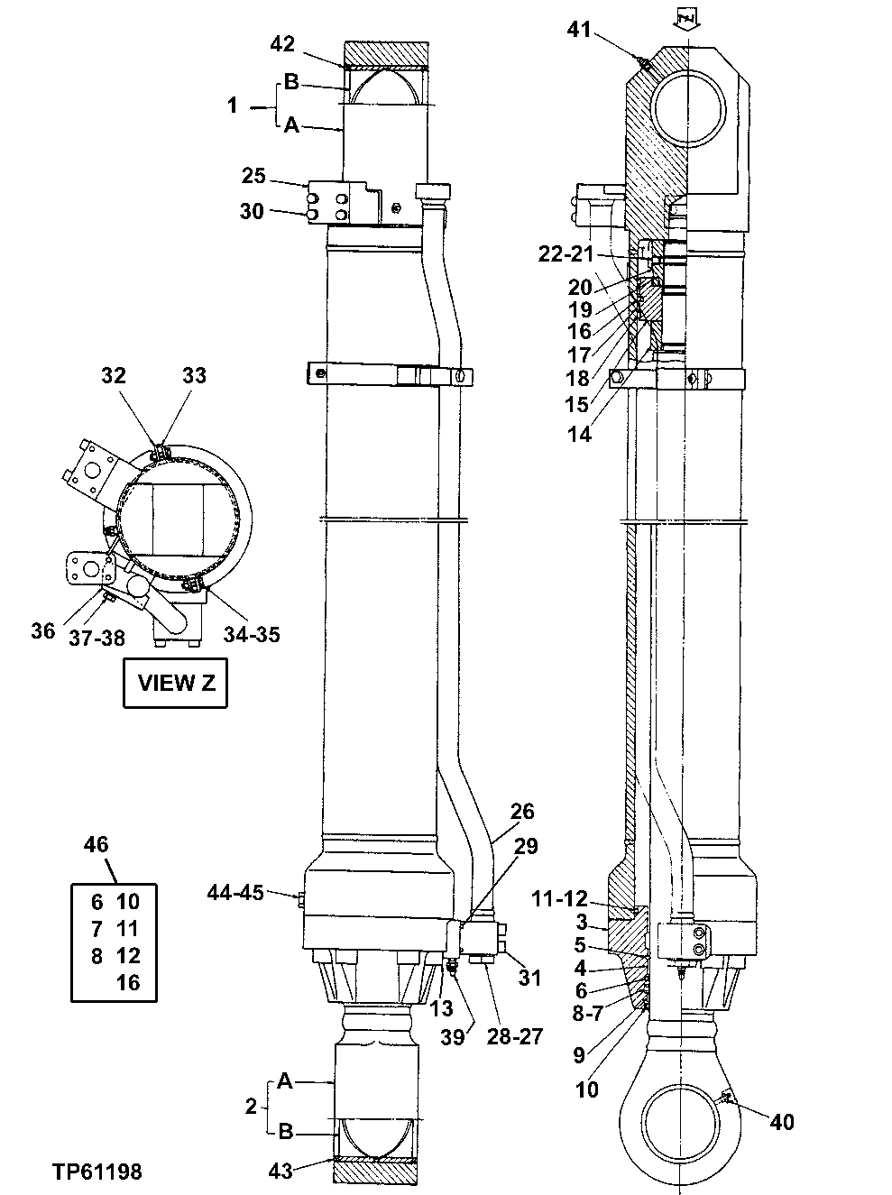
1

4304309

Hydraulic Cylinder Barrel

SUB FOR TH4304309

1шт.

1A

Tube

1шт.

1B

0450502

Bushing

SUB FOR TH0450502

1шт.

2

4304310

Rod

SUB FOR TH4304310

1шт.

Cylinder Reman

PG201413 NLA, ORDER 4304310, REMAN

1шт.

2A

Rod

1шт.

2B

0450504-P

Bushing

SUB FOR TH0450504

1шт.

3

0450505

Hydr. Cylinder Rod Guide

SUB FOR TH0450505

1шт.

4

AT264291

Bushing

SUB FOR AT217060, 0450506

1шт.

5

0133103

Snap Ring

SUB FOR AT127275

1шт.

6

AT264292

Ring

(A) SUB FOR AT217061, 0450507

1шт.

0450518

Ring

(B)

1шт.

7

T207118

Seal

SUB FOR TH104996, 4069711 OR AT264368

1шт.

8

AT264369

Back-Up Ring

SUB FOR TH104997

1шт.

9

0450508

Ring

SUB FOR AT217062

1шт.

10

AT264283

Ring

(A) SUB FOR 0239504, 4438199

1шт.

0450519

Ring

(B)

1шт.

11

4123537

O-Ring

SUB FOR TH4094961

1шт.

12

TH0332704

Back-Up Ring

1шт.

13

0259304

Cap Screw

SUB FOR TH0417606

8шт.

14

0450509

Bushing

SUB FOR TH0450509

1шт.

15

0450510

Piston

SUB FOR TH0450510

1шт.

16

0332706

Seal

SUB FOR TH0332706

1шт.

17

0643015

Ring

SUB FOR 0417609

2шт.

18

0332708

Ring

SUB FOR TH0332708

2шт.

19

0450511

Shim

SUB FOR TH0450511

1шт.

20

0450512

Nut

SUB FOR TH0450512

1шт.

21

0353012

Set Screw

SUB FOR AT132321

1шт.

22

0353011

Ball

SUB FOR AT132320

1шт.

25

0400505

Oil Line

SUB FOR TH0400505

1шт.

26

0450520

Tube

SUB FOR TH0450513, 0450513 OR 0494303

1шт.

27

0379823

Plug

SUB FOR TH0379823

1шт.

28

985098

O-Ring

SUB FOR TH102528 OR Z985098

1шт.

29

AT264254

O-Ring

SUB FOR AT132423, 955612

2шт.

30

0163404

Cap Screw

SUB FOR TH0163404

4шт.

31

0171719

Cap Screw

(A) SUB FOR TH0191428

4шт.

0158883

Cap Screw

(B)

4шт.

32

0417616

Half Clamp

SUB FOR TH0417616

1шт.

33

0417613

Half Clamp

SUB FOR TH0417613

1шт.

34

19M7550

Cap Screw

M10 X 35

2шт.

35

12M7066

Lock Washer

10 mm SUB FOR TH0323103

2шт.

36

0972307

Clamp

SUB FOR AT132325, 0353016 OR 0353016J

1шт.

37

19M4789

Cap Screw

M14 X 80

1шт.

38

12H317

Lock Washer

9/16"

1шт.

39

0237418

Bleed Valve

SUB FOR TH102787

2шт.

40

TH100074

Lubrication Fitting

1шт.

41

0380010

Lubrication Fitting

SUB FOR TH0380010

1шт.

42

0386902

Seal

SUB FOR TH0386902

2шт.

43

0417415

Seal

SUB FOR TH0417415

2шт.

44

0242508

Plug

SUB FOR TH0242508

1шт.

45

4506418

O-Ring

SUB FOR U46489

1шт.

46

Seal Kit

4437965 NLA; SUB FOR 4304311

1шт.

Выбрано товаров: 52