Запчасти John Deere 50 22 - Reserve Water Tank 0510 Engine Cooling Systems

Схема запчастей John Deere 50 - 22 - Reserve Water Tank 0510 Engine Cooling Systems
FIT
1:1
100%

Артикул

Название

Примечание

Количество

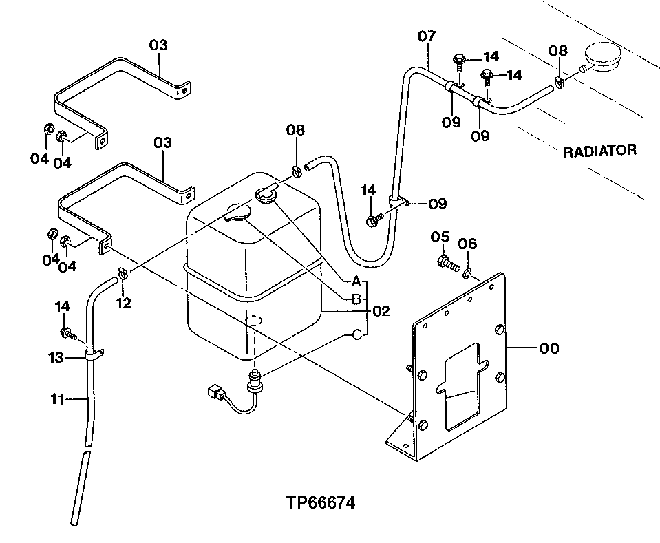
0

7030955

Bracket

(SUB FOR TH7030955)

1шт.

2

4414507

Tank

(SUB FOR TH4318955)

1шт.

2A

4414475

Cap

(SUB FOR TH4234534)

1шт.

2B

4414476

Cap

(SUB FOR TH4234535)

1шт.

2C

4338011

Switch

(SUB FOR TH4338011)

1шт.

3

4222379

Half Clamp

(SUB FOR TH4222379)

2шт.

4

14M7274

Nut

M10

8шт.

5

19M7872

Cap Screw

M12 X 25

4шт.

6

12H301

Lock Washer

1/2"

4шт.

7

Radiator Hose

(SUB FOR TH4353970)( 4353970 NO LONGER AVAILABLE FOR SERVICE) (FURNISH TY2519 5 BULK MATERIAL CUT TO 1950 MM LENGTH)

1шт.

8

TY22464

Clamp

(SUB FOR AR21836)

2шт.

9

AH79175

Clip

(SUB FOR TH108600 OR 4190272)

3шт.

11

Bulk Hose

(SUB FOR TH4353956)( 4353956 NO LONGER AVAILABLE FOR SERVICE) (FURNISH PMK010-0 406 BULK MATERIAL CUT TO 1500 MM LENGTH)

1шт.

12

TY22462

Clamp

(SUB FOR AR48236)

1шт.

13

T30367

Clamp

1шт.

14

19M7402

Cap Screw

M10 X 25

4шт.

12M7066

Lock Washer

10 mm

4шт.

Выбрано товаров: 17