Запчасти John Deere 50 33 - LUBRICATOR HOSE REEL AND HOSES 1369 GREASES, OILS, FUELS AND COOLANTS

Схема запчастей John Deere 50 - 33 - LUBRICATOR HOSE REEL AND HOSES 1369 GREASES, OILS, FUELS AND COOLANTS
FIT
1:1
100%

Артикул

Название

Примечание

Количество

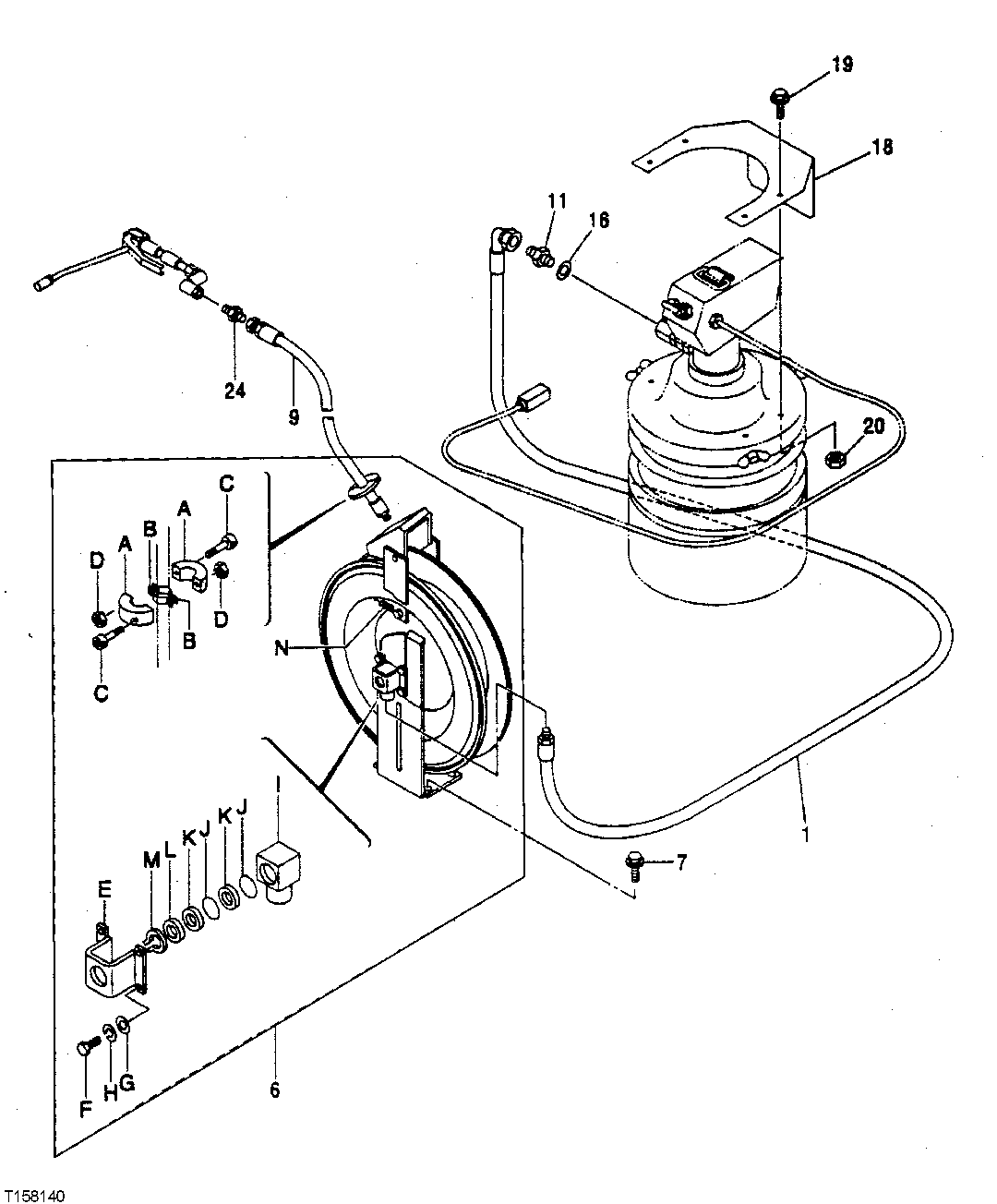
1

4466611

Hose

1шт.

6

4264921

Reel

1шт.

6A

4174317

Holder

2шт.

6B

4174318

Clamp

2шт.

6C

T116311

Bolt

2шт.

6D

14M7273

Nut

M8

2шт.

6E

4188272

Stop

2шт.

6F

19M8425

Cap Screw

M6 X 16 (SUB FOR 19M7560)

8шт.

6G

24M7054

Washer

6.400 X 12 X 1.600 mm

8шт.

6H

12M7006

Lock Washer

6 mm

8шт.

6I

4188273

Fitting

1шт.

6J

AT264333

O-Ring

(SUB FOR 4028265, TH100096)

2шт.

6K

4028266

Back-Up Ring

2шт.

6L

4188274

Washer

1шт.

6M

4188275

O-Ring

1шт.

6N

4188276

Spring

1шт.

7

19M7662

Cap Screw

M10 X 30

4шт.

12M7066

Lock Washer

10 mm

4шт.

24M7028

Washer

10.500 X 20 X 2 mm

4шт.

9

4228701

Hydraulic Hose

1шт.

11

4042031

Adapter Fitting

(SUB FOR 4042011)

1шт.

94-1302

Adapter Fitting

1шт.

16

A890018

Packing

1шт.

18

4299820

Bracket

1шт.

19

19M8425

Cap Screw

M6 X 16 (SUB FOR 19M7560)

4шт.

12M7006

Lock Washer

6 mm

4шт.

20

14M7272

Nut

M6

4шт.

24

4151182

Fitting

1шт.

Выбрано товаров: 0