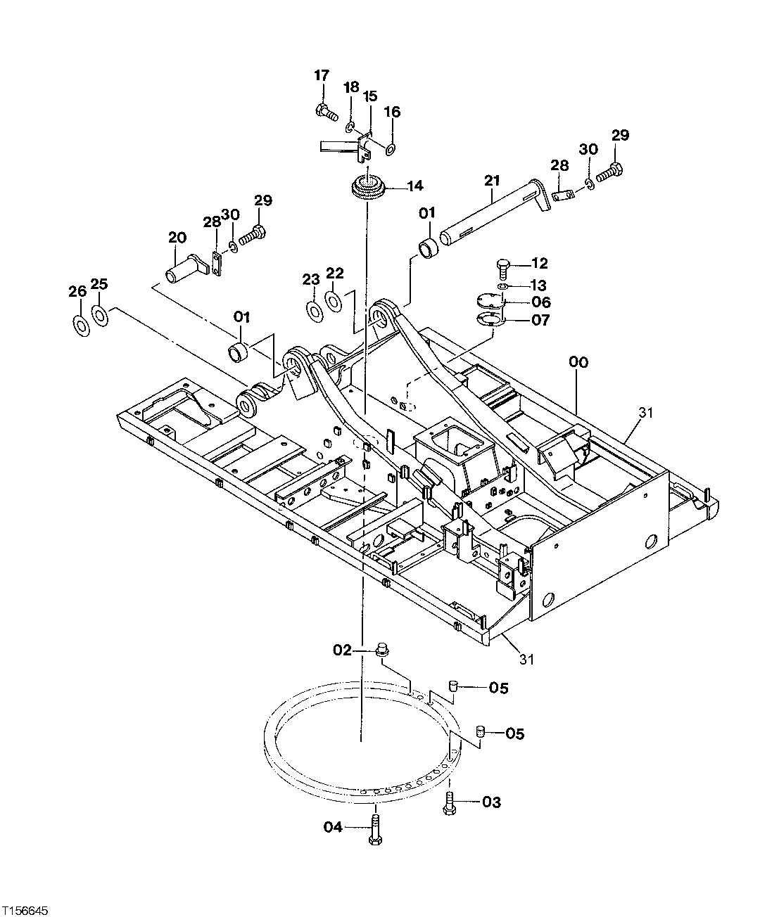
Запчасти John Deere 50 47 - Main Frame 1740 Frame Installation

Схема запчастей John Deere 50 - 47 - Main Frame 1740 Frame Installation
FIT
1:1
100%

Артикул

Название

Примечание

Количество

0

5004532

Main Frame

(SUB FOR TH5004532)(CONVENIENCE ASSEMBLY)

1шт.

1

4190010

Bushing

(SUB FOR TH4190010)

2шт.

2

4293389

Plug

(SUB FOR TH4293389)

2шт.

3

J833314

Bolt

(SUB FOR THJ833314)

36шт.

4

J833319

Bolt

(SUB FOR THJ833319)

4шт.

5

427154

Plug

(SUB FOR TH427154)

10шт.

6

4261282

Cover

(SUB FOR TH4261282)

1шт.

7

4261283

Gasket

(SUB FOR TH4261283)

1шт.

12

19M3142

Cap Screw

M10 X 18

4шт.

13

12M7066

Lock Washer

10 mm

4шт.

14

4205476

Cover

(SUB FOR AT131790)

1шт.

15

8056744

Stop

(SUB FOR AT202369)

1шт.

16

4114404

Washer

15 X 36 X 4.500 mm (0.591" X 1.4 17" X 0.177") (SUB FOR AT130666)

2шт.

17

19M6332

Cap Screw

M14 X 35

2шт.

18

12H317

Lock Washer

9/16"

2шт.

20

8067792

Pin Fastener

(SUB FOR TH8067792)

2шт.

21

8067790

Pin Fastener

(SUB FOR TH8067790)

1шт.

22

4165444

Shim

(SUB FOR TH4165444)(2.3)

2шт.

23

4191279

Shim

(SUB FOR TH4191279)(1.0)

1шт.

25

4219932

Shim

(SUB FOR TH4219932)(1.6)

4шт.

26

4219933

Shim

(SUB FOR TH4219933)(1.0)

2шт.

28

4122729

Strap

(SUB FOR AT131696)

3шт.

29

19M7950

Cap Screw

M20 X 45

6шт.

30

12M7070

Lock Washer

20 mm

6шт.

31

4455818

Frame

1шт.

Выбрано товаров: 25