Запчасти John Deere 90 20 - LEVER STAND 3315 - EXCAVATOR 33

Схема запчастей John Deere 90 - 20 - LEVER STAND 3315 - EXCAVATOR 33
FIT
1:1
100%

Артикул

Название

Примечание

Количество

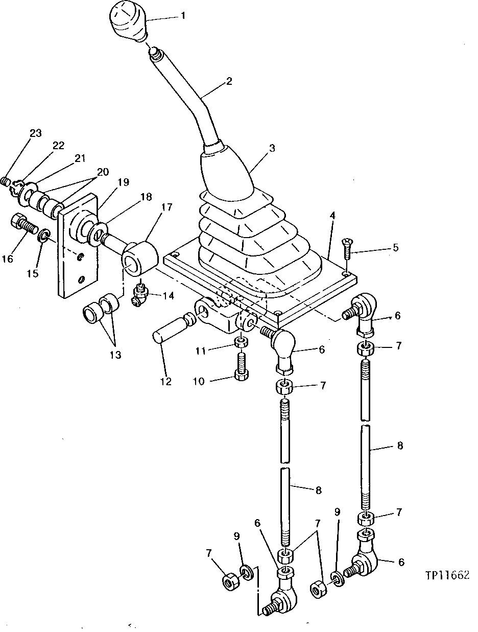
1

4117704

KNOB

(SUB FOR TH100591)

1шт.

2

8026355

LEVER

(SUB FOR TH100291) (INCLUDES PIVOT CASTING)

1шт.

3

2019365

BOOT

(SUB FOR TH100281)

1шт.

4

3026035

BASE

(SUB FOR TH100282)

1шт.

5

21M7326

SCREW

M6 X 20, (SUB FOR TH100573)

4шт.

6

4056019

BALL JOINT

(SUB FOR TH100254)

4шт.

7

14M7444

NUT

M10, (SUB FOR TH100255)

6шт.

8

4116383

ROD

(SUB FOR TH100256)

2шт.

9

12M7066

LOCK WASHER

10 MM, (SUB FOR TH100417)

2шт.

10

19M7376

CAP SCREW

M8 X 22

1шт.

11

14M7273

NUT

M8

1шт.

12

4086444

PIN FASTENER

(SUB FOR TH100249)

1шт.

13

TH100248

NEEDLE BEARING

1шт.

14

T116334

LUBRICATION FITTING

(SUB FOR TH100075)

1шт.

15

12M7066

LOCK WASHER

10 MM, (SUB FOR TH100417)

2шт.

16

19M7402

CAP SCREW

M10 X 25

2шт.

17

3025206

PIVOT

(SUB FOR TH100247)

1шт.

18

24M7053

WASHER

17 X 30 X 3 MM, (SUB FOR TH100520)

1шт.

19

9715423

BOSS

(SUB FOR TH100290)

1шт.

20

TH100248

NEEDLE BEARING

4шт.

21

24M7053

WASHER

17 X 30 X 3 MM, (SUB FOR TH100520)

2шт.

22

40M7068

SNAP RING

(SUB FOR TH100250)

1шт.

23

94-2010

FITTING PLUG

(SUB FOR TH100689)

1шт.

Выбрано товаров: 23