Запчасти John Deere 90 18 - BUCKET CYLINDER (790) 3360 - EXCAVATOR 33

Схема запчастей John Deere 90 - 18 - BUCKET CYLINDER (790) 3360 - EXCAVATOR 33
FIT
1:1
100%

Артикул

Название

Примечание

Количество

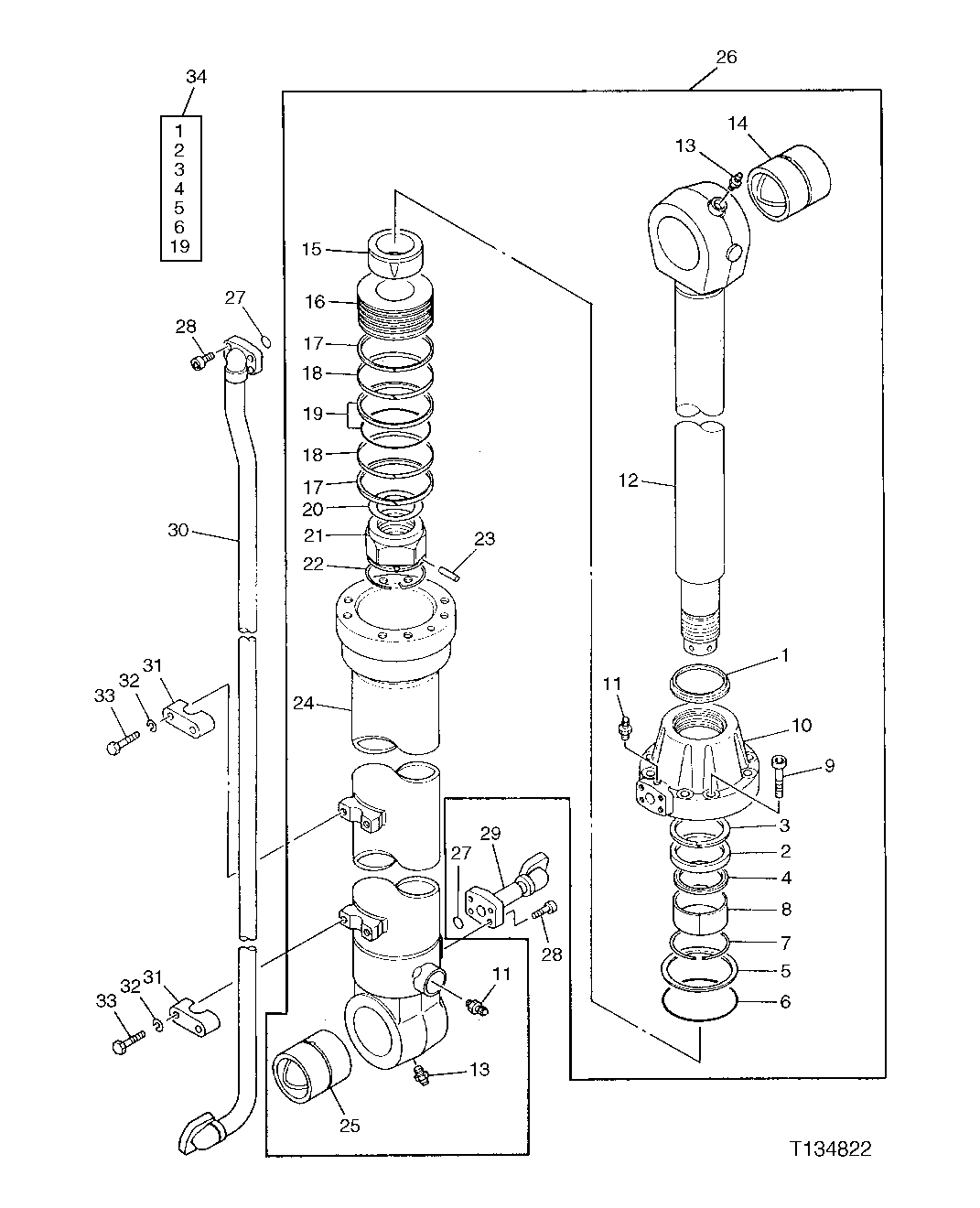
1

AT264352

SEAL

(A) (SUB FOR TH102844, 0237420)

1шт.

2

0973906

PACKING

(A) (SUB FOR TH102842, 0105301, AT264350)

1шт.

3

AT264351

BACK-UP RING

(A) (SUB FOR TH102843, 0237419)

1шт.

4

4103704

RING

(A) (SUB FOR TH102841)

1шт.

5

0208508

BACK-UP RING

(A) (SUB FOR TH102794)

1шт.

6

TH102793

O-RING

(A)

1шт.

7

0237407

RING

(SUB FOR TH102834)

1шт.

8

0237406

BUSHING

(SUB FOR TH102833)

1шт.

9

0224117

SCREW

(SUB FOR TH103521) (SUB FOR TH102773)

8шт.

10

0237405

HYDR. CYLINDER ROD GUIDE

(SUB FOR TH102832)

1шт.

11

0237418

BLEED VALVE

(SUB FOR TH102787)

2шт.

12

0237403

ROD

(BUSHING NOT INCLUDED) (SUB FOR TH102830)

1шт.

13

TH100074

LUBRICATION FITTING

2шт.

14

0237404

BUSHING

(ALSO ORDER (2) TH102445) (SUB FOR TH102831)

1шт.

15

0237408

CUSHION

(SUB FOR TH102835)

1шт.

16

0237409

PISTON

(SUB FOR TH102836)

1шт.

17

TH102797

RING

2шт.

18

4S00146

RING

(SUB FOR 0224107) (SUB FOR TH102796)

2шт.

19

TH102795

SEAL

(A)

1шт.

20

0237413

SHIM

(SUB FOR TH102838)

1шт.

21

0237410

NUT

(SUB FOR TH102837)

1шт.

22

0237412

RING

(SUB FOR TH102771)

1шт.

23

0237411

PIN

(SUB FOR TH102770)

1шт.

24

0237421

HYDRAULIC CYLINDER BARREL

(SUB FOR TH102829)

1шт.

25

3031788

BUSHING

(SUB FOR TH102817) (ALSO ORDER (2) TH102445) (SUB FOR TH110045)

1шт.

26

AT182467

CYLINDER

(REMANUFACTURED) (SUB FOR TH102469 OR TH106317)

1шт.

27

AT264348

O-RING

(SUB FOR TH102788)

2шт.

28

19M8395

SCREW

8шт.

29

0237414

FITTING

(SUB FOR TH102839)

1шт.

30

0237415

OIL LINE

(SUB FOR TH102840)

1шт.

31

0237416

HALF CLAMP

(SUB FOR TH102777)

2шт.

32

12M7058

LOCK WASHER

(SUB FOR 12M7067)

4шт.

33

19M7363

CAP SCREW

4шт.

34

AT192097

SEAL KIT

(INCLUDES PARTS MARKED (A)) (ALSO ORDER (2) TH102796 AND (2) TH102797)

1шт.

Выбрано товаров: 34