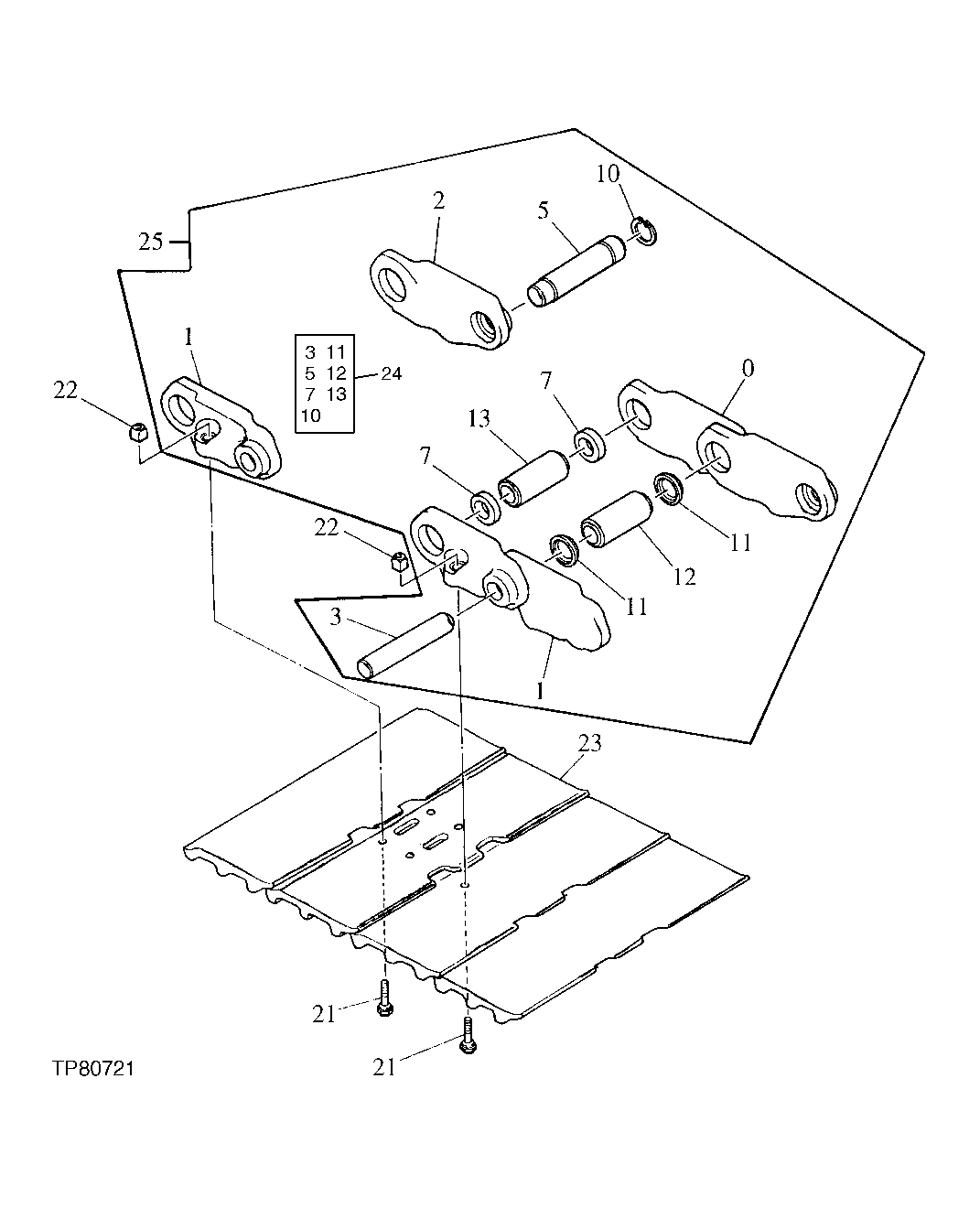
Запчасти John Deere 90 10 - TRACK CHAIN 130 - TRACKS 1

Схема запчастей John Deere 90 - 10 - TRACK CHAIN 130 - TRACKS 1
FIT
1:1
100%

Артикул

Название

Примечание

Количество

0

1010076

STRUTTED LINK-RH

(SUB FOR TH109765)

50шт.

1

1010077

STRUTTED LINK-LH

(SUB FOR TH109766)

51шт.

2

4186649

MASTER TRACK LINK-RH

(SUB FOR TH109767)

1шт.

3

4145372

PIN

(SUB FOR TH102368) (QUANTITY OF 45 IN KIT)

50шт.

5

4186654

PIN

(SUB FOR TH109768) (NON HEADED PIN) (216 MM LENGTH)

1шт.

7

AT174862

BUSHING

(SUB FOR TH102372)

2шт.

10

T209259

SNAP RING

(SUB FOR TH109769 OR AT174863)

1шт.

11

AT186161

SEAL

(ALSO ORDER AT186162) (SUB FOR TH109770, AT160464 OR 4358588) (QUANTITY OF 90 IN KIT)

100шт.

12

AT186162

BUSHING

(SUB FOR TH109771 OR AT154712) (QUANTITY OF 45 IN KIT) (SUB FOR 4358588, ALONG WITH (2) AT186161)

50шт.

13

TH102371

BUSHING

(SUB FOR AT154713, TH4145371)

1шт.

21

4145375

BOLT

M20 X 65, (SUB FOR TH102375)

200шт.

22

4067232

NUT

M20, (SUB FOR TH102376)

200шт.

23

2030005

OPEN CENTER 3 BAR SHOE

(SUB FOR TH102377)

50шт.

24

PIN & BUSHING KIT

(FOR 79 BOLT 50 LINK CHAIN) (ALSO ORDER (4) TH102368, (4) AT186162 AND (8) AT186161) ( AT170092 NO LONGER AVAILABLE FOR SERVICE - SUB AT187185)

1шт.

25

TRACK CHAIN W/O SHOES

( 9202848 NO LONGER AVAILABLE) (REPLACED BY AT311612) (COMPLETE ASSEMBLY) (REMOVE SURPLUS LINKS AS REQUIRED) (SUB FOR TH109773) (ALSO ORDER (204) 4255637 AND (204) 4255638)

1шт.

Выбрано товаров: 0