Запчасти John Deere 90 2 - FUEL TANK 560 - ENGINE AUXILIARY SYSTEMS 5

Схема запчастей John Deere 90 - 2 - FUEL TANK 560 - ENGINE AUXILIARY SYSTEMS 5
FIT
1:1
100%

Артикул

Название

Примечание

Количество

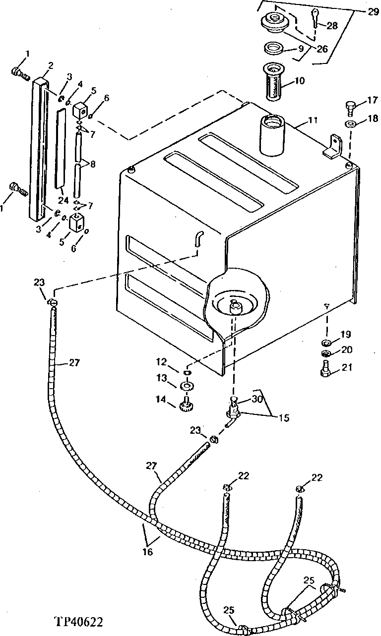
1

4081816

FITTING

(SUB FOR TH101777)

2шт.

2

8023112

COVER

(SUB FOR TH101781)

1шт.

3

24M7028

WASHER

10.500 X 20 X 2 MM, (SUB FOR TH100263)

2шт.

4

CH15146

PACKING

(SUB FOR TH101780)

2шт.

5

4081814

JUNCTION BLOCK

(SUB FOR TH101778)

2шт.

6

CH15146

PACKING

(SUB FOR TH101780)

2шт.

7

CH14634

O-RING

(SUB FOR TH101305)

4шт.

8

4145158

GAUGE

(SUB FOR TH101779)

1шт.

4143630

GAUGE

(SUB FOR TH102891)

1шт.

9

4168820

PACKING

(USE WITH TH101776) (SUB FOR TH103384)

1шт.

10

4121496

FUEL FILTER

(SUB FOR TH100509)

1шт.

11

9055832

FUEL TANK

(SUB FOR TH102889)

1шт.

9055824

FUEL TANK

(SUB FOR TH101774)

1шт.

12

CH10570

PACKING

(SUB FOR TH100513)

1шт.

13

453143

PACKING

(SUB FOR TH100514)

1шт.

14

453142

DRAIN PLUG

(SUB FOR TH100515)

1шт.

15

4194154

FUEL FILTER

(SUB FOR TH100512) (SUB FOR TH107036)

1шт.

16

T79477

HOSE

(SUB FOR TH101773)

2шт.

HOSE

( TH102888 NO LONGER AVAILABLE) (SUB M87571 BULK MATERIAL CUT TO LENGTH)

2шт.

17

19M8231

CAP SCREW

M12 X 16, (SUB FOR TH100522)

2шт.

19M8231

CAP SCREW

M12 X 16, (SUB FOR TH100522)

2шт.

19M8231

CAP SCREW

M12 X 16, (SUB FOR TH100522)

1шт.

18

24M7047

WASHER

13 X 24 X 2.500 MM, (SUB FOR TH100967)

1шт.

24M7047

WASHER

(SUB FOR TH100967) (SUB 24M7047)

2шт.

24M7047

WASHER

13 X 24 X 2.500 MM, (SUB FOR TH100967)

1шт.

19

4114405

WASHER

(SUB FOR TH101105)

4шт.

20

12H294

LOCK WASHER

5/8", (SUB FOR TH100466)

4шт.

21

19M7488

CAP SCREW

M16 X 40, (SUB FOR TH101772)

4шт.

22

TY22464

CLAMP

(SUB FOR TH100896 AND AT145649) (SUB FOR AR21836)

1шт.

23

TY22464

CLAMP

(SUB FOR TH100896 AND AT145649) (SUB FOR AR21836)

4шт.

24

4128400

PLATE

(SUB FOR TH101771) (TRANSPARENT PLATE IN LEVEL GAUGE)

1шт.

25

H77698

TIE BAND

(SUB FOR T44946)

ARшт.

26

4208964

FILLER CAP

(SUB TH110091) (SUB FOR TH101776)

1шт.

27

T83427

CONDUIT

ARшт.

28

4158653

KEY

(USE WITH TH110091) (SUB FOR TH101605)

1шт.

29

4208964

FILLER CAP

(SUB FOR TH101776) (SUB FOR TH110091)

1шт.

30

4194155

STRAINER

(USE WITH TH107036) (SUB FOR TH107037) (SCREEN ONLY)

1шт.

Выбрано товаров: 37