Запчасти John Deere 90 2 - GAUGE PANEL 1676 - ELECTRICAL SYSTEMS 16

Схема запчастей John Deere 90 - 2 - GAUGE PANEL 1676 - ELECTRICAL SYSTEMS 16
FIT
1:1
100%

Артикул

Название

Примечание

Количество

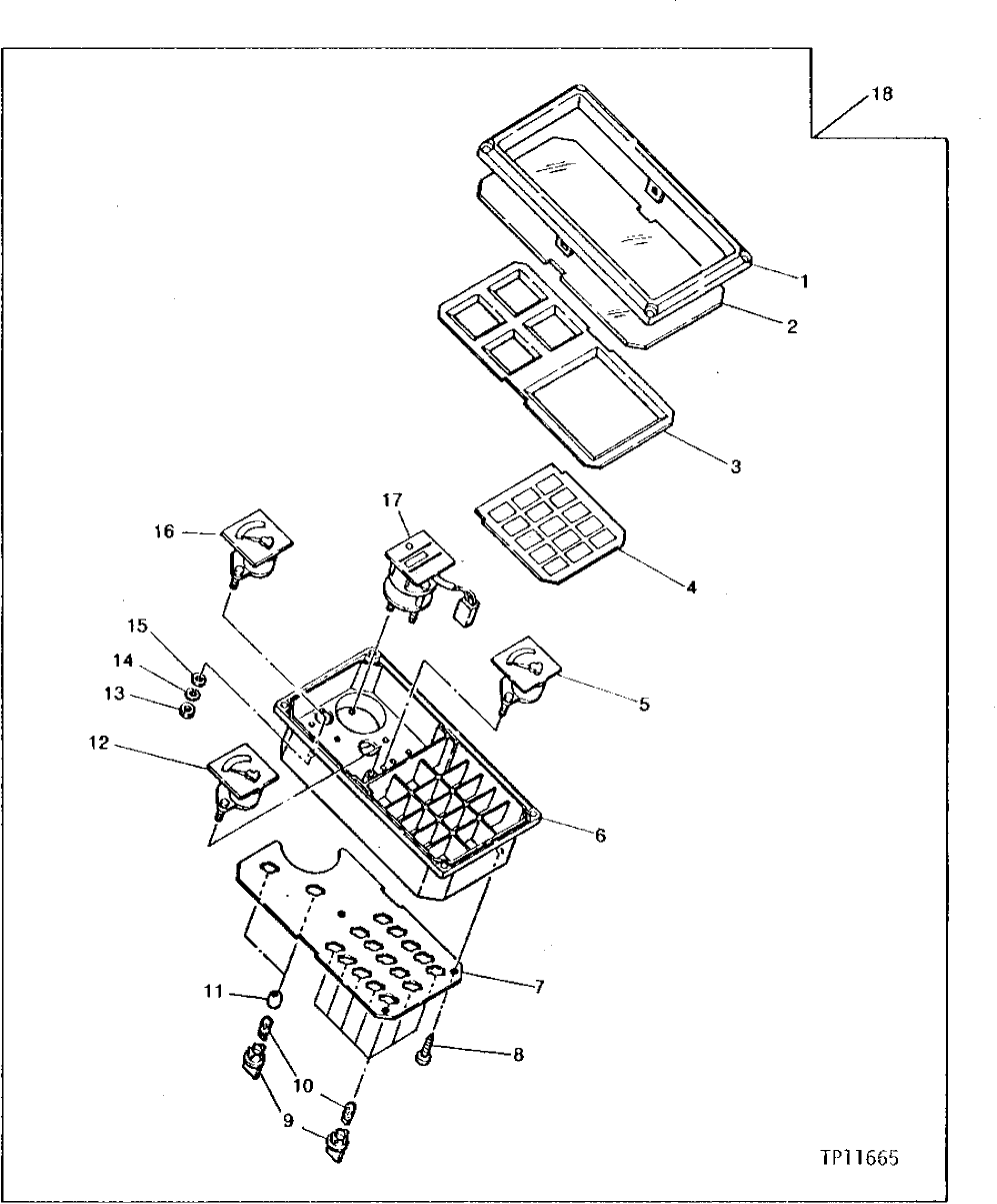
1

4149054

BEZEL

(SUB FOR TH100601)

1шт.

2

4149055

COVER

(SUB FOR TH100602)

1шт.

3

4149056

LENS

(SUB FOR TH100603)

1шт.

4

4169913

LENS

(SUB FOR TH102142)

1шт.

5

4142554

LEVEL GAUGE

(SUB FOR TH100616) FUEL METER

1шт.

6

4149061

HOUSING

(SUB FOR TH100605)

1шт.

7

4149064

PRINTED CIRCUIT

(SUB FOR TH102143)

1шт.

8

4149067

SCREW

(SUB FOR TH100610)

3шт.

9

4127783

SOCKET

(SUB FOR TH100607)

17шт.

10

57M7169

BULB

(SUB FOR TH100608)

17шт.

11

4149128

LENS

(SUB FOR TH100609)

2шт.

12

4142555

METER

(SUB FOR TH102144) AIR PRESSURE

1шт.

13

14M7030

NUT

M3

15шт.

14

12H233

LOCK WASHER

3.175 MM, (SUB FOR TH100580) (SUB FOR 12M7048)

15шт.

15

24M7029

SHIM

0.500 MM, (SUB FOR TH100611)

15шт.

16

4142553

TEMPERATURE GAUGE

(SUB FOR TH100613) ENGINE COOLANT

1шт.

17

4142552

HOUR METER

(SUB FOR TH100614)

1шт.

18

4156636

PANEL

(SUB FOR TH102126)

1шт.

Выбрано товаров: 0