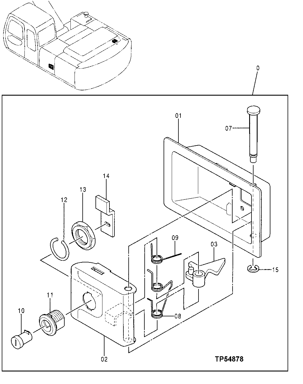
Запчасти John Deere 90 16 - DOOR LOCK 1910 - SHEET METAL AND STYLING 19

Схема запчастей John Deere 90 - 16 - DOOR LOCK 1910 - SHEET METAL AND STYLING 19
FIT
1:1
100%

Артикул

Название

Примечание

Количество

0

4361763

LOCK

(SUB FOR AT214010)

1шт.

1

8024490

COVER

(SUB FOR TH102241)

1шт.

2

8024464

LATCH

(SUB FOR TH102228)

1шт.

3

LEVER

1шт.

7

4355972

PIN FASTENER

(SUB FOR TH102230)

1шт.

8

4355973

SPRING

(SUB FOR AT173242)

1шт.

9

4355975

TORSION SPRING

(SUB FOR TH102234, 4134321)

1шт.

10

4361783

LOCK

(SUB FOR AT218143)

1шт.

AT194969

KEY

(SUB FOR AT147803) (H800) (NOT ILLUSTRATED)

1шт.

11

4134325

LOCK

(SUB FOR TH102236)

1шт.

12

4355979

RING

(SUB FOR TH102237, 4134322)

1шт.

13

4355980

NUT

(SUB FOR TH102238, 4134323)

1шт.

14

4355981

STRAP

(SUB FOR TH102232, 4134331)

1шт.

15

CH11490

RING

1шт.

Выбрано товаров: 14