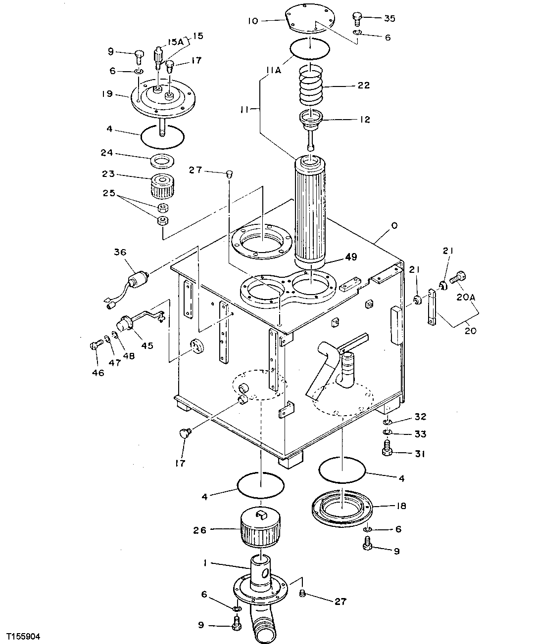
Запчасти John Deere 90 2 - HYDRAULIC RESERVOIR 2160 - MAIN HYDRAULIC SYSTEM 21

Схема запчастей John Deere 90 - 2 - HYDRAULIC RESERVOIR 2160 - MAIN HYDRAULIC SYSTEM 21
FIT
1:1
100%

Артикул

Название

Примечание

Количество

0

5001388

HYDRAULIC RESERVOIR

(SUB FOR TH102930)

1шт.

1

7012878

LINE

(SUB FOR TH102931)

1шт.

4

TH100679

O-RING

3шт.

6

12M7066

LOCK WASHER

10 MM

30шт.

9

19M8784

SCREW

M10 X 20, (SUB FOR TH101355, 19M8356)

18шт.

10

4126588

COVER

(SUB FOR TH101884)

2шт.

11

AT308569

FILTER ELEMENT

(ALSO ORDER AT194547) (SUB FOR TH101885) (SUB FOR TH111010) (SUB FOR 4227353)

2шт.

11A

CH17213

PACKING

(SUB FOR TH101886)

1шт.

11B

AT171693

FILTER

(NOT ILLUSTRATED) (CLEAN-UP FILTER) (LIMITED USE - APPROXIMATELY 3 HOURS) (IDLE SPEED) (ALSO REQUIRES CH17213 PACKING)

1шт.

12

4065280

FLOW CONTROL HYD. VALVE

(SUB FOR TH101887)

2шт.

15

4175286

FLOW CONTROL HYD. VALVE

(SUB FOR TH103475)

1шт.

15A

4163653

COVER

(SUB FOR TH101890)

1шт.

17

R30298

PIPE PLUG

(SUB FOR TH101892)

2шт.

18

8023981

COVER

(SUB FOR TH101891)

1шт.

19

COVER

(SUB TH103515 ALONG WITH TH103516, TH103517 AND (2) 14M7273)

1шт.

8033354

COVER

(SUB FOR TH103515)

1шт.

20

8026248

LEVEL GAUGE

(SUB FOR TH101893)

1шт.

20A

4100967

BOLT

(SUB FOR TH101894)

2шт.

21

449558

WASHER

(SUB FOR TH100675)

4шт.

22

4109393

SPRING

(SUB FOR TH101883)

2шт.

23

4176552

FILTER ELEMENT

(SUB FOR TH103516)

1шт.

24

4176647

PACKING

(SUB FOR TH103517)

1шт.

25

14M7273

NUT

2шт.

26

4190987

FILTER ELEMENT

(SUB FOR TH100678 OR TH101896) (SUB FOR AT128326)

1шт.

27

94-2011

FITTING PLUG

(SUB FOR TH100434)

2шт.

31

19M8002

CAP SCREW

M20 X 55

4шт.

32

N231749

WASHER

(SUB FOR T33089)

4шт.

33

12M7070

LOCK WASHER

20 MM

4шт.

35

19M7402

CAP SCREW

M10 X 25

12шт.

36

4131662

SENDER

(SUB FOR TH102160)

1шт.

45

4129942

SWITCH

(SUB FOR TH102934)

1шт.

46

21M7265

SCREW

M5 X 12

3шт.

47

12M7064

LOCK WASHER

5 MM

3шт.

48

24M7027

WASHER

5.300 X 10 X 1 MM

3шт.

49

AT194547

O-RING

1шт.

Выбрано товаров: 35