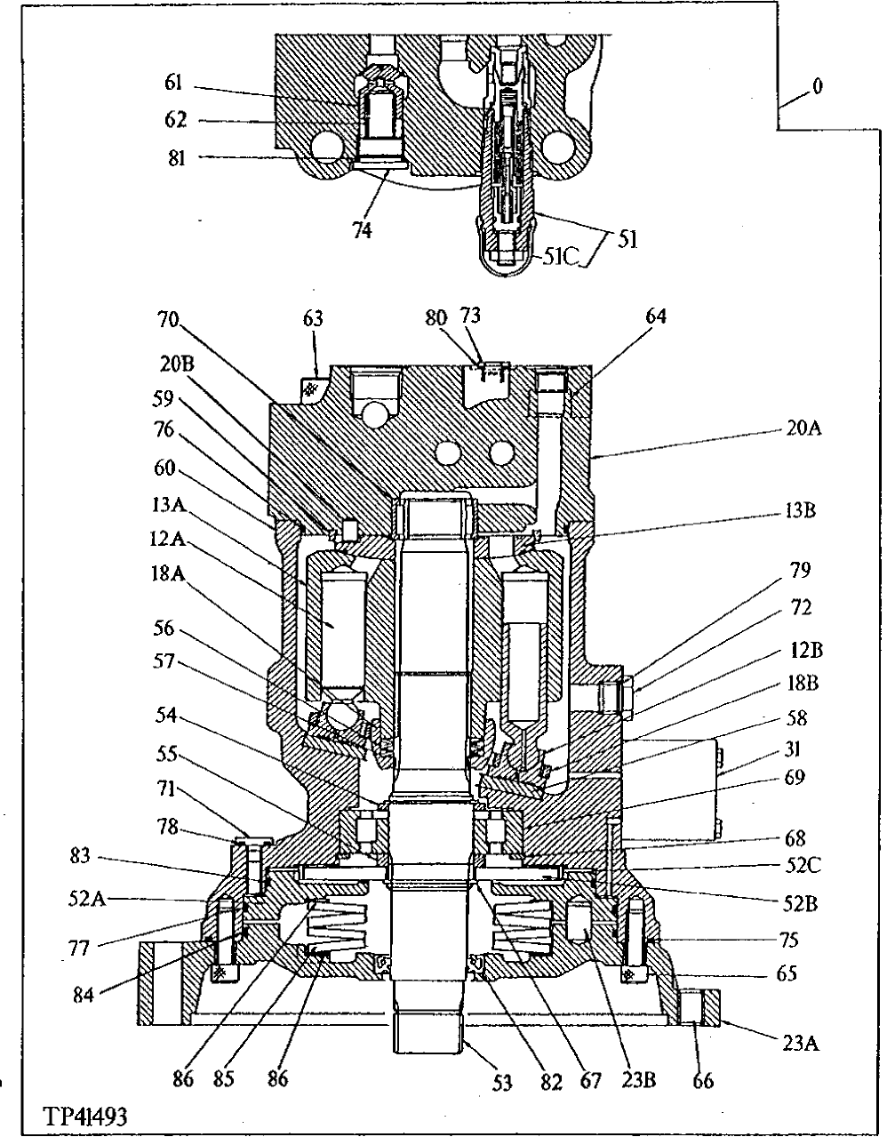
Запчасти John Deere 90D 10 - SWING MOTOR (SERIAL NO. -007786) 4360 - SWING, ROTATION OR PIVOTING SYSTEM 43

Схема запчастей John Deere 90D - 10 - SWING MOTOR (SERIAL NO. -007786) 4360 - SWING, ROTATION OR PIVOTING SYSTEM 43
FIT
1:1
100%

Артикул

Название

Примечание

Количество

0

TH109499

MOTOR

(IF NOT AVAILABLE,SUB 4187037EX)

1шт.

4187037EX

HYDRAULIC MOTOR

REMANUFACTURED, (SUB FOR AT217333)

1шт.

12

0308601

PISTON

(SUB FOR TH109928) (NOT ILLUSTRATED) INCLUDES 12A AND 12B

9шт.

12A

PISTON

(SUB TH109928)

1шт.

12B

SHOE

(SUB TH109928)

1шт.

13

0308602

CYLINDER

(SUB FOR TH109929) (NOT ILLUSTRATED) INCLUDES 13A AND 13B

1шт.

13A

CYLINDER

(SUB TH109929)

1шт.

13B

PLATE

(SUB TH109929)

1шт.

18

0308603

PLATE

(SUB FOR TH109930) (NOT ILLUSTRATED) INCLUDES 18A AND 18B

1шт.

18A

BUSHING

(SUB TH109930)

1шт.

18B

PLATE

(SUB TH109930)

1шт.

20

CASE

(NOT ILLUSTRATED) INCLUDES 20A AND 20B ( TH109931 NO LONGER AVAILABLE)

1шт.

20A

HOUSING

1шт.

20B

0365336

PIN FASTENER

(SUB FOR AT185236)

1шт.

23

0308605

COVER

(SUB FOR TH109932) (NOT ILLUSTRATED) INCLUDES 23A AND 23B

1шт.

23A

COVER

(SUB TH109932)

1шт.

23B

PIN FASTENER

(SUB TH109932)

1шт.

31

0308606

FLOW CONTROL HYD. VALVE

(SUB FOR TH109933)

1шт.

51

4205899

PRESSURE RELIEF VALVE

(SUB FOR TH109934) (CONTAINS ITEMS 51A, 51B AND 51C)

2шт.

51A

0177007

BACK-UP RING

(NOT ILLUSTRATED)

1шт.

51B

A811025

O-RING

(NOT ILLUSTRATED)

1шт.

51C

4269432

CAP

1шт.

52

0308627

BRACKET

(SUB FOR TH109935) (NOT ILLUSTRATED) INCLUDES 52A, 52B AND 52C

1шт.

52A

PISTON

(SUB TH109935)

1шт.

52B

COUPLING

(SUB TH109935)

1шт.

52C

PLATE

(SUB TH109935)

1шт.

53

0308628

SHAFT

1шт.

54

0308609

WASHER

1шт.

55

0308610

WASHER

1шт.

56

0308611

DISK SPRING

(SUB FOR TH109939)

1шт.

57

0308612

SHIM

(SUB FOR TH109940)

1шт.

58

0308613

PLATE

(SUB FOR TH109941)

1шт.

59

0308614

RING

(SUB FOR TH109942)

1шт.

60

GEAR CASE

( TH109943 NO LONGER AVAILABLE)

1шт.

61

0236006

PLUNGER

(SUB FOR TH102635)

1шт.

62

0236009

SPRING

(SUB FOR TH102638)

2шт.

63

0308616

SCREW

(SUB FOR TH109944)

2шт.

64

0308617

SCREW

(SUB FOR TH109945)

2шт.

65

19M8448

SCREW

(SUB FOR TH101907)

16шт.

66

0308618

FITTING PLUG

(SUB FOR TH109946)

2шт.

67

40M7066

SNAP RING

(SUB FOR TH100498)

1шт.

68

40M5463

SNAP RING

1шт.

69

TH109947

CYLINDRICAL ROLLER BEARING

1шт.

70

TH109948

BEARING

1шт.

71

0308621

FITTING PLUG

(SUB FOR TH109949)

2шт.

72

0195128

FITTING PLUG

(SUB FOR TH104562)

1шт.

73

0236014

FITTING PLUG

(SUB FOR TH102650)

2шт.

74

15M7027

DRAIN PLUG

(SUB FOR TH102651)

2шт.

75

0235826

O-RING

(SUB FOR TH109950)

1шт.

76

4154877

O-RING

(SUB FOR TH109951)

1шт.

77

0308624

O-RING

(SUB FOR TH109954)

1шт.

78

4506416

O-RING

(SUB FOR TH102561)

2шт.

79

4506418

O-RING

(SUB FOR TH100061) (SUB FOR U46489)

1шт.

80

M800650

PACKING

1шт.

81

AT264347

O-RING

2шт.

82

0251914

SEAL

(SUB FOR TH109952)

1шт.

83

0308623

O-RING

(SUB FOR TH109953)

1шт.

84

0308624

O-RING

(SUB FOR TH109954)

1шт.

85

0308625

DISK SPRING

(SUB FOR TH109955)

4шт.

86

0308626

WASHER

(SUB FOR TH109956)

2шт.

Выбрано товаров: 60