Запчасти John Deere 90D 20 - 47 LINK TRACK CHAIN, SNAP RING MASTER 130 - TRACKS 1

Схема запчастей John Deere 90D - 20 - 47 LINK TRACK CHAIN, SNAP RING MASTER 130 - TRACKS 1
FIT
1:1
100%

Артикул

Название

Примечание

Количество

0

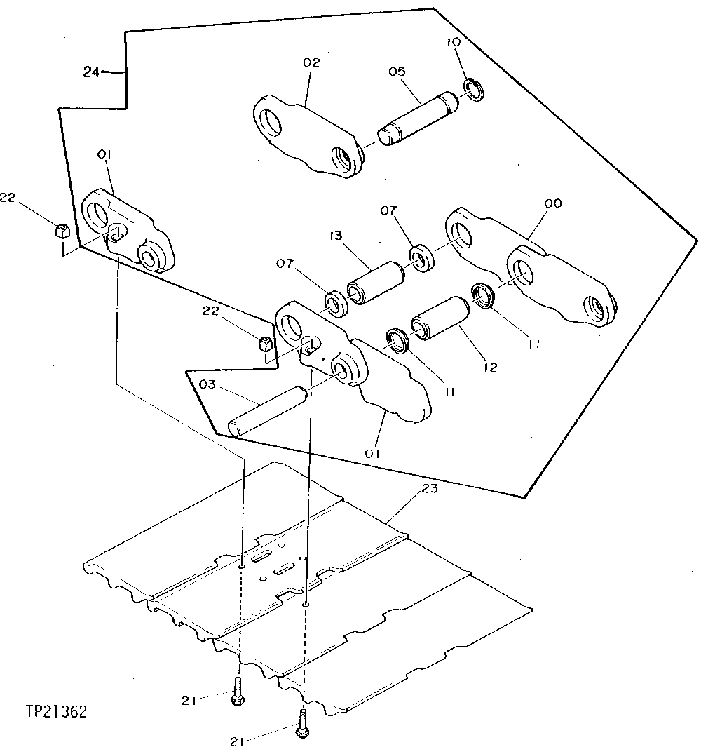
1010076

STRUTTED LINK-RH

(SUB FOR TH109765 OR 1028977)

46шт.

AT174855

LINK

(USE WITH T191399)

46шт.

1

1010077

STRUTTED LINK-LH

(SUB FOR TH109766 OR 1028978)

47шт.

AT174856

LINK

(USE WITH T191399)

47шт.

2

4186649

MASTER TRACK LINK-RH

(SUB FOR TH109767 OR 4456823)

1шт.

AT174859

LINK

(USE WITH T191399)

1шт.

3

4145372

PIN

(SUB FOR TH102368)

45шт.

PIN FASTENER

(USE WITH T191399) ( AT174860 NO LONGER AVAILABLE)

45шт.

5

4186654

PIN

(MASTER) (SUB FOR TH109768) (216 MM LENGTH)

1шт.

PIN FASTENER

(MASTER) (USE WITH T191399) ( AT174861 NO LONGER AVAILABLE)

1шт.

7

BUSHING

(MASTER) (SUB FOR TH102372) ( 4145373 NO LONGER AVIALABLE)

2шт.

AT186162

BUSHING

(MASTER) (USE WITH T191399) ( AT174862 NO LONGER AVAILABLE)

2шт.

10

T209259

SNAP RING

(SUB FOR TH109769 OR AT174863)

1шт.

11

SEAL

(SUB FOR TH109770) ( 4358588 NO LONGER AVAILABLE)

92шт.

SEAL

(USE WITH T191399) ( AT160464 NO LONGER AVAILABLE)

92шт.

12

BUSHING

(SUB FOR TH109771) ( 4358588 NO LONGER AVAILABLE)

46шт.

BUSHING

(USE WITH T191399) ( AT154712 NO LONGER AVAILABLE)

46шт.

13

TH102371

BUSHING

(MASTER) (SUB FOR TH4145371)

1шт.

BUSHING

(MASTER) (USE WITH T191399) ( AT154713 NO LONGER AVAILABLE)

1шт.

21

4145375

BOLT

(SUB FOR TH102375, AT154748 OR 4255637)

188шт.

22

T139615

NUT

(SUB FOR TH102376, AT154749, 4255638 OR 4067232)

188шт.

23

2030005

OPEN CENTER 3 BAR SHOE

(SUB FOR TH102377) (600 MM - 24 INCH)

47шт.

AT219484

OPEN CENTER 3 BAR SHOE

(SUB FOR TH102496 OR 2017550) (800 MM - 31 INCH)

47шт.

24

TRACK CHAIN W/O SHOES

(SUB FOR 9066727, 9181001, AT186160, TH109773 OR AT154855) ( 9202848 NO LONGER AVAILABLE) (SUB AT311628)

2шт.

Выбрано товаров: 24