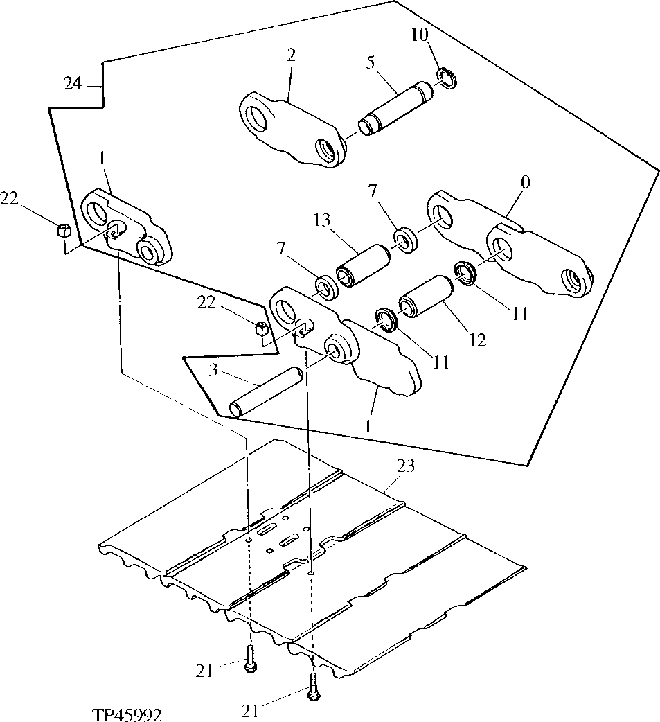
Запчасти John Deere 90D 26 - 51 LINK TRACK CHAIN, SNAP RING MASTER 130 - TRACKS 1

Схема запчастей John Deere 90D - 26 - 51 LINK TRACK CHAIN, SNAP RING MASTER 130 - TRACKS 1
FIT
1:1
100%

Артикул

Название

Примечание

Количество

0

1010076

STRUTTED LINK-RH

(SUB FOR TH109765)

50шт.

1

1010077

STRUTTED LINK-LH

(SUB FOR TH109766)

51шт.

2

4186649

MASTER TRACK LINK-RH

(SUB FOR TH109767)

1шт.

3

4145372

PIN

(K) (SUB FOR TH102368) (QUANTITY OF 45 IN KIT)

50шт.

5

4186654

PIN

(K) (SUB FOR TH109768) (NON HEADED PIN) (216 MM LENGTH)

1шт.

7

BUSHING

(K) ( 4145373 NO LONGER AVAILABLE) (SUB FOR TH102372)

2шт.

10

T209259

SNAP RING

(K) (SUB FOR TH109769 OR AT174863)

1шт.

11

SEAL

(K) ( 4358589 NO LONGER AVAILABLE) (SUB FOR TH109770 OR AT160464)

100шт.

12

BUSHING

(K) ( 4358588 NO LONGER AVAILABLE) (SUB FOR TH109771, OR AT154712)

49шт.

13

TH102371

BUSHING

(K) (SUB FOR AT154713, TH4145371)

1шт.

21

4145375

BOLT

M20 X 65, (SUB FOR TH102375)

204шт.

22

4067232

NUT

M20, (SUB FOR TH102376)

204шт.

23

2030005

OPEN CENTER 3 BAR SHOE

(SUB FOR TH102377) (600 MM - 24 INCH)

51шт.

AT219484

OPEN CENTER 3 BAR SHOE

(SUB FOR TH102496 OR 2017550) (800 MM - 31 INCH)

51шт.

24

TRACK CHAIN W/O SHOES

( 9202848 NO LONGER AVAILABLE) (REPLACED BY AT311624) (SUB FOR TH109773)

2шт.

Выбрано товаров: 15