Запчасти John Deere 90D 10 - STARTING MOTOR 422 - ENGINE 4

Схема запчастей John Deere 90D - 10 - STARTING MOTOR 422 - ENGINE 4
FIT
1:1
100%

Артикул

Название

Примечание

Количество

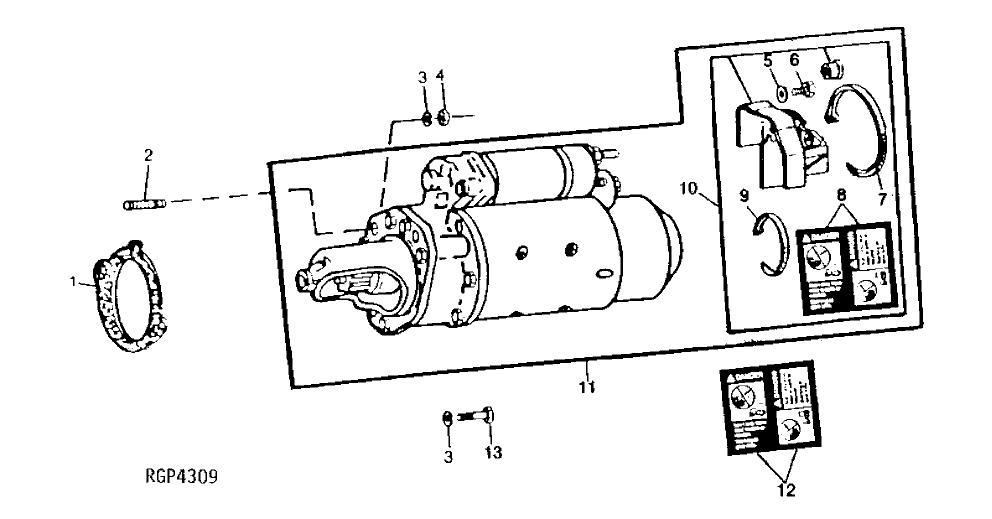
1

R53108

GASKET

1шт.

2

R114130

STUD

(SUB FOR R55396, APPL)

1шт.

3

12H304

LOCK WASHER

3/8", (NOT REQUIRED WITH E55662)

3шт.

4

E55662

FLANGE NUT

1шт.

5

R104676

SHIM

1шт.

6

R104646

SCREW

1шт.

7

H113196

TIE BAND

(SUB FOR R76477 OR R45440)

1шт.

8

T146102

LABEL

(ENGLISH) (SUB FOR T134459)

1шт.

9

R44302

TIE BAND

1шт.

10

COVER

( RE41758 NO LONGER AVAILABLE)

1шт.

RE45329

COVER

1шт.

11

RE44511

STARTER MOTOR

(DENSO NO. 128000-7170) (SUB FOR RE15663 OR RE38369) (SUB RE65174)

1шт.

RE45328

STARTER MOTOR

(DENSO NO. 128000-7172) (MARKED RE44151) (SUB RE65174)

1шт.

RE57078

STARTER MOTOR

(DENSO NO. 228000-2390) (MARKED RE55641) (SUB RE65174)

1шт.

RE65174

STARTER MOTOR

(DENSO NO. 228000-4611) (MARKED RE59585) (CONTAINS RE45329)

1шт.

12

T146106

SAFETY SIGN

(SPANISH) (SUB FOR T84410 OR T134452)

1шт.

T146104

SAFETY SIGN

(FRENCH) (SUB FOR T84411 OR T134453)

1шт.

T146515

SAFETY SIGN

(GERMAN) (SUB FOR T84412 OR T134454)

1шт.

T146516

SAFETY SIGN

(ITALIAN) (SUB FOR T84413 OR T134455)

1шт.

T146517

SAFETY SIGN

(ENGLISH-FRENCH) (SUB FOR T84578 OR T134456)

1шт.

13

19H3219

CAP SCREW

3/8" X 1-3/8"

2шт.

RE43166

CLAMP

(USE WITH RE55641)

1шт.

Выбрано товаров: 22